Видеокамеры Panasonic VDR-D250EE - инструкция пользователя по применению, эксплуатации и установке на русском языке. Мы надеемся, она поможет вам решить возникшие у вас вопросы при эксплуатации техники.
Если остались вопросы, задайте их в комментариях после инструкции.
"Загружаем инструкцию", означает, что нужно подождать пока файл загрузится и можно будет его читать онлайн. Некоторые инструкции очень большие и время их появления зависит от вашей скорости интернета.

На
стро
й
ка
Настройка ЖКД/видоискателя
49
LSQT1024
∫
Изменение
качества
изображения
на
ЖКД
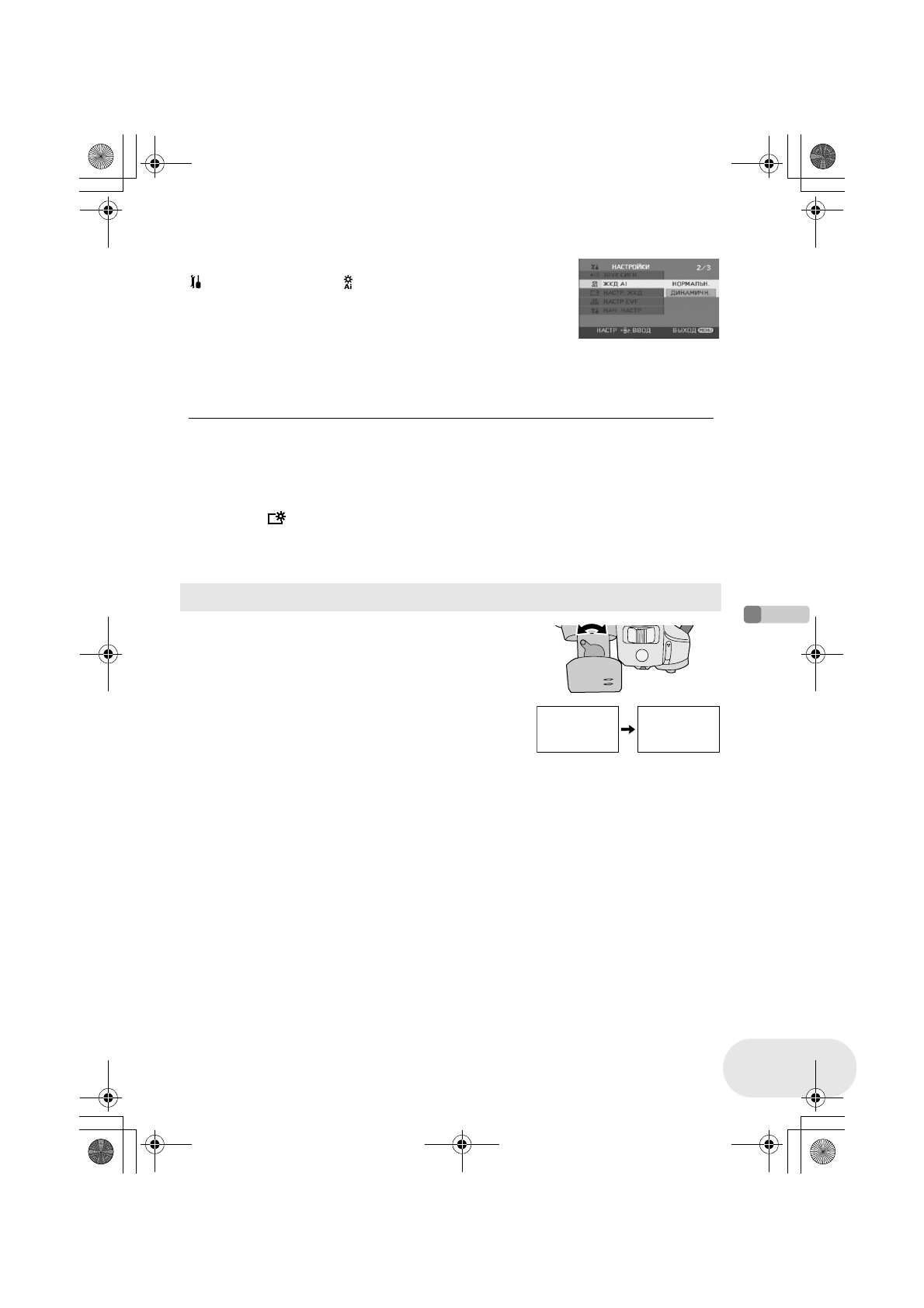
Нажмите
кнопку
MENU,
затем
выберите
[
НАСТРОЙКИ
]
#
[
ЖКД
AI]
#
[
ДИНАМИЧН
.]
или
[
НОРМАЛЬН
.]
и нажмите
джойстик
.
Установите
фокус
,
перемещая
кнопку
корректора
окуляра
.
ДИНАМИЧН
.:
Изображение
на
ЖКД
станет
четким
и
ярким
.
Оптимальный
контраст
и
яркость
задаются
в зависимости
от
записываемых
сцен
.
Отображаются
яркие
и
четкие
картинки
.
НОРМАЛЬН
.:
Переключение
в
стандартное
качество
изображения
.
≥
Эффект
будет
варьироваться
в
зависимости
от
записываемой
сцены
.
≥
Это
не
скажется
на
качестве
изображения
в видоискателе
.
≥
Эта
функция
автоматически
устанавливается
на
[
ДИНАМИЧН
.]
при
увеличении
яркости
ЖКД
(
пиктограмма
[
]
появляется
на
ЖКД
),
и
ее
нельзя
самостоятельно
установить
на
[
НОРМАЛЬН
.].
≥
Это
никак
не
скажется
на
записываемых
картинках
.
≥
При
повороте
ЖКД
на
180°
к
объективу
[
ЖКД
AI]
устанавливается
на
[
НОРМАЛЬН
.].
Установка
зоны
обзора
15.12.2006
15.12.2006
15.12.2006
15.12.2006
15.12.2006
15.12.2006
15.12.2006
15.12.2006
Содержание
- 2 Предупреждение
- 4 Содерж
- 6 Свойства
- 8 Вспомогательные устройства; Вспомогательные
- 9 Дополнительные
- 10 Обозначение и обращение с деталями; Обозначение
- 13 Бленда
- 15 Отверстие
- 16 OPEN; Использование
- 18 Диапазон
- 20 Диски и карты; Диски
- 22 RW
- 23 Карты
- 24 Обращение
- 25 Электропитание; Зарядка
- 27 Время
- 30 ON
- 32 Вставка и извлечение диска; DISC EJECT
- 34 Вставка/извлечение карты SD
- 35 Выбор режима; Выбор
- 36 Использование джойстика; Установите
- 38 Пиктограммы
- 42 Переключение языка; Переключение
- 43 Использование экрана меню
- 46 Установка даты и времени; Установка
- 48 Настройка ЖКД/видоискателя
- 50 Перед записью; Исходное
- 52 Съемка фильмов; Съемка
- 54 Изменение
- 60 Различные функции съемки; Различные; Передвиньте; Функция
- 62 Поверните
- 67 Телемакрофункция
- 68 Функции; Позволяет
- 69 Автотаймер
- 71 Широкоформатный
- 73 Встроенная
- 75 Функции ручной съемки
- 77 Ручная
- 78 Баланс; Используется
- 81 Воспроизведение фильмов; Воспроизведение
- 85 Воспроизведение стоп-кадров
- 87 Редактирование сцен; Редактирование; Удаление
- 89 Разделение
- 90 Объединение
- 91 Использование списков воспроизведения; Что
- 92 Создание
- 100 Редактирование стоп-кадров
- 102 Блокирование
- 104 Форматирование дисков и карт; Форматирование
- 106 Финализация диска; Финализация
- 107 Отмена
- 108 Защита диска; Защита
- 109 Отображение информации о диске; Отображение
- 110 С телевизором; телевизором
- 111 EXT DISPLAY
- 114 С видеомагнитофоном; видеомагнитофоном
- 118 Перед использованием компьютера; спо; Как
- 119 Содержимое
- 120 Acrobat Reader
- 121 Рабочие
- 124 Лицензионное
- 130 Подключение и распознавание; Подключение; Подключите; Процедуры
- 132 Безопасное
- 133 Проверка
- 134 Создание диска DVD-Video на компьютере
- 137 Др; Меню; Список
- 139 Другие
- 141 Обозначения; Обозначения; Обозначения
- 144 Сообщения
- 147 Функции, которые не могут использоваться одновременно
- 148 Часто задаваемые вопросы; Часто
- 150 Поиск и устранение неисправностей; Поиск
- 156 На что необходимо обратить внимание при использовании
- 157 Информация
- 161 Объяснение терминов; Объяснение; Автоматический
- 163 Технические характеристики; Технические; Видеокамера
- 168 ИНФОРМАЦИЯ; АДАПТЕP ДЛЯ ВИДЕОКАМЕРЫ; Информация для покупателя
 
  
  
  
  
  
  
  
  
  
  
  
  
  
  
  
  
  
  
  
  
  
  
  
  
  
  
  
  
  
  
  
  
  
  
  
  
  
  
  
  
  
  
  
  
  
  
  
  
  
  
  
  
  
  
  
  
  
  
  
  
  
  
  
  
  
  
  
  
  
  
  
  
  
  
  
  
  
  
  
  
  
  
  
  
  
  
  
  
  
  
  
  
  
  
  
  
  
  
  
  
  
  
  
  
  
  
  
  
  
  
  
  
  
  
  
  
  
  
  
  
  
  
  
  
  
  
  
  
  
  
  
  
  
  
  
  
  
  
  
  
  
  
  
  
  
  
  
  
  
  
  
  
  
  
  
  
  
  
  
  
  
  
  
  
  
  
  
 











