Panasonic HDC-SD9EE - Инструкция по эксплуатации - Страница 117

Видеокамеры Panasonic HDC-SD9EE - инструкция пользователя по применению, эксплуатации и установке на русском языке. Мы надеемся, она поможет вам решить возникшие у вас вопросы при эксплуатации техники.

Если остались вопросы, задайте их в комментариях после инструкции.

"Загружаем инструкцию", означает, что нужно подождать пока файл загрузится и можно будет его читать онлайн. Некоторые инструкции очень большие и время их появления зависит от вашей скорости интернета.
Страница:
/ 128
Загружаем инструкцию
background image

117

VQT1N69

 

 

   

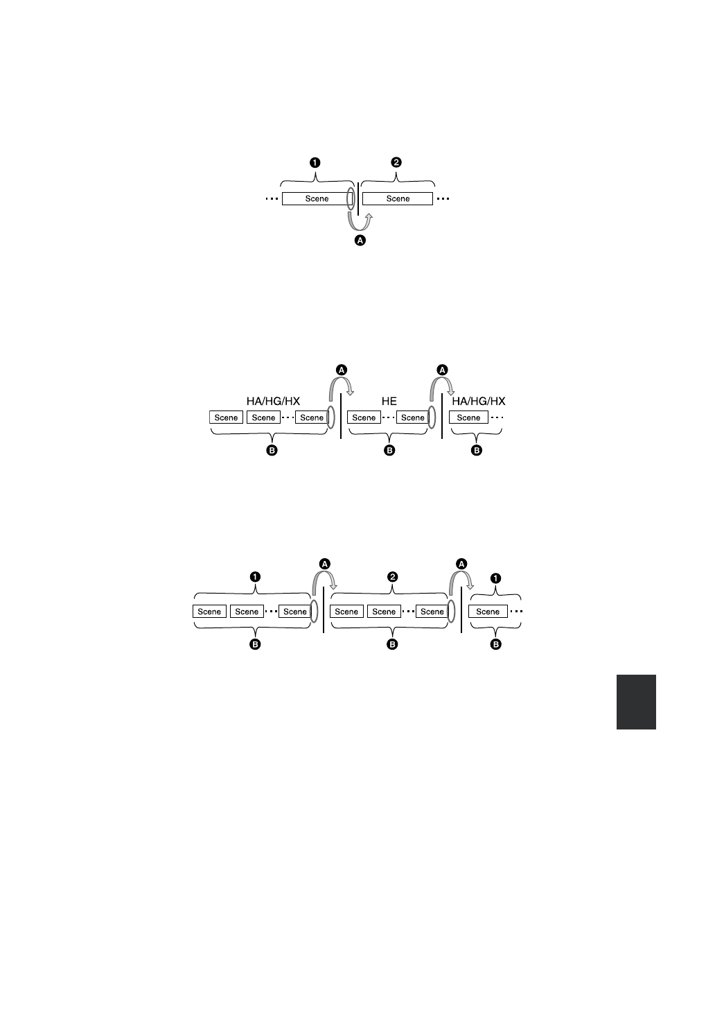
 PRE-REC

1

 

2

 PRE-REC

A

 

 

 

   

 

   

 

 

   PRE-REC.

 

 

 

 

   HA/HG/HX 

 HE 

   HE 

 

HA/HG/HX

A

 

 

 

 

 

 

 

 

 

HA/HG/HX   HE

B

 

 

 

 

 

   

 

 

 

 

 

 

 HA, HG   HX.

 

 

 

 

 25p

1

[25pDIGITAL CINEMA] 

 

 [

].

2

[25pDIGITAL CINEMA] 

 

 [

].

A

 

 

 

 

 

 

 

 25p 

 

 

 

 

   

 

 

 

.

B

   

 

 

   

 

 

.

HDCSD9E E-VQT1N6 9_rus.bo ok  117 ペ ージ   

8年

6 日 水 曜日  午後

8 分

Полезные видео

Характеристики

Оцените статью
tehnopanorama.ru
Остались вопросы?

Не нашли свой ответ в руководстве или возникли другие проблемы? Задайте свой вопрос в форме ниже с подробным описанием вашей ситуации, чтобы другие люди и специалисты смогли дать на него ответ. Если вы знаете как решить проблему другого человека, пожалуйста, подскажите ему :)

Задать вопрос

Часто задаваемые вопросы
Как посмотреть инструкцию к Panasonic HDC-SD9EE?
Необходимо подождать полной загрузки инструкции в сером окне на данной странице
Руководство на русском языке?
Все наши руководства представлены на русском языке или схематично, поэтому вы без труда сможете разобраться с вашей моделью
Как скопировать текст из PDF?
Чтобы скопировать текст со страницы инструкции воспользуйтесь вкладкой "HTML"