Видеокамеры Panasonic HDC-SD100EE - инструкция пользователя по применению, эксплуатации и установке на русском языке. Мы надеемся, она поможет вам решить возникшие у вас вопросы при эксплуатации техники.
Если остались вопросы, задайте их в комментариях после инструкции.
"Загружаем инструкцию", означает, что нужно подождать пока файл загрузится и можно будет его читать онлайн. Некоторые инструкции очень большие и время их появления зависит от вашей скорости интернета.

112
VQT1T88
При
подключении
данной
камеры
к
ПК
она
распознается
как
внешний
привод
.
≥
[Removable Disk] (
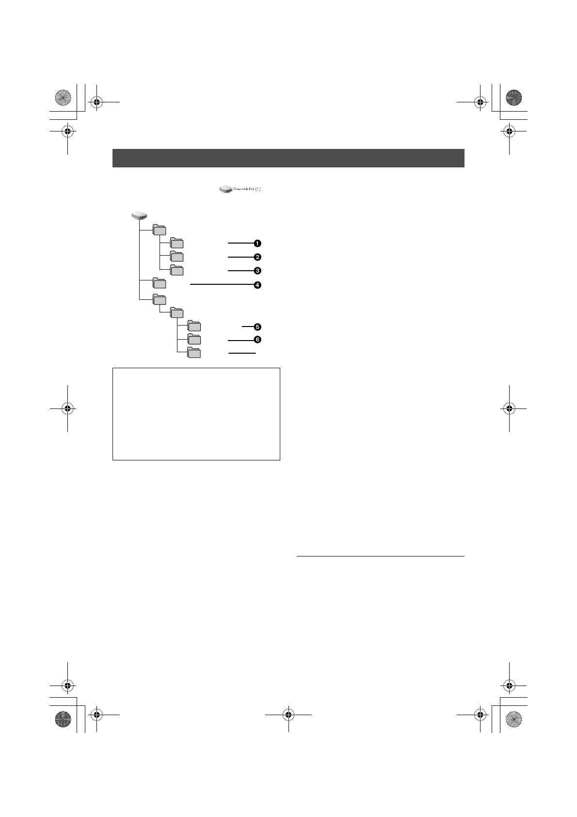
Пример
: )
отображается
в
[My Computer (Computer)].
Пример
структуры
папок
на
SD
карте
:
1
Можно
сохранить
до
999
стоп
-
кадров
в
формате
JPEG
*
. ([IMGA0001.JPG]
и
т
.
д
.)
2
Записанные
в
режиме
высокоскоростной
серийной
съемки
высокой
четкости
фотоснимки
хранятся
в
формате
JPEG
*
.
3
Будет
записан
стоп
-
кадр
формата
JPEG
*
,
созданный
из
видеоизображения
.
*
Их
можно
открыть
при
помощи
программного
обеспечения
для
изображений
с
поддержкой
изображений
формата
JPEG.
4
Сохраняются
файлы
настройки
DPOF.
5
Сохраняются
пиктограммы
видеофильмов
.
6
Сохраняются
видеофильмы
в
формате
AVCHD. ([00000.MTS]
и
т
.
д
.)
7
Файлы
воспроизведения
с
интеллектуальным
выбором
сцен
записаны
.
∫
Копирование
стоп
-
кадров
на
компьютер
Функция
устройства
считывания
карты
(
массовой
памяти
)
Фотоснимки
,
записанные
данной
камерой
,
можно
скопировать
на
ПК
при
помощи
проводника
или
других
программ
.
1
Подключите
данную
камеру
к
ПК
,
а
затем
выберите
[
ПОДКЛ
.
ПК
].
2
Дважды
нажмите
на
папке
,
содержащей
фотоснимки
на
съемном
диске
([DCIM]
#
[100CDPFQ]
и
т
.
д
.).
3
Перетяните
фотоснимки
в
папку
назначения
(
на
жестком
диске
ПК
).
≥
Не
удаляйте
папки
карты
SD.
Это
может
сделать
карту
SD
непригодной
для
использования
с
данной
камерой
.
≥
Если
на
ПК
записаны
данные
,
не
поддерживаемые
камерой
,
камера
их
не
распознает
.
≥
Для
форматирования
карт
SD
всегда
используйте
данную
камеру
.
О
дисплее
ПК
Рекомендуется
использовать
HD Writer 2.6E
для
копирования
или
записи
данных
видео
,
записанных
на
карту
SD.
Использование
Windows Explorer
или
других
программ
на
ПК
для
копирования
,
перемещения
или
переименования
файлов
и
папок
,
записанных
на
данном
устройстве
,
приведет
к
невозможности
их
использования
с
HD Writer 2.6E.
Removable Disk
AVCHDTN
BDMV
DCIM
100CDPFQ
AVCHD
MISC
PRIVATE
101CDPFR
IISVPL
102CDPFS
HDCSD100EE-VQT1T88_rus.book 112 ページ 2008年7月15日 火曜日 午後7時28分
Содержание
- 2 ПРЕДУПРЕЖДЕНИЕ
- 4 Лицензии
- 5 Запись; Оглавление
- 6 Воспроизведение; Резервная; ПК
- 7 Аксессуары; Дополнительные
- 8 Характеристики; Изображения
- 9 Перед
- 14 Предупреждение
- 15 Питание; Зарядка
- 16 ВНИМАНИЕ
- 17 Время
- 18 DC IN
- 20 OPEN; Как
- 21 Включение
- 26 Установите
- 32 Основы
- 33 Выберите; Автоматический; Защита
- 34 Быстрый
- 35 LCD
- 36 совместимости
- 39 Помощь
- 40 Фотосъемка
- 42 Количество
- 43 Функция
- 44 Кнопка
- 46 Пиктограммы
- 53 Настройка
- 56 Цвет
- 59 Уменьшение
- 60 Уровень
- 62 Освещенность
- 63 Гистограмма
- 68 Ручная
- 74 Повтор
- 83 Форматирование; Отображение
- 84 Подключите
- 87 Подключение
- 91 Работа
- 92 Подготовка
- 94 Копирование
- 100 принтером
- 105 Для; Важная
- 106 Лицензионное
- 107 Операционная
- 109 Инсталляция; [I accept the terms of the
- 112 дисплее
- 113 Начало
- 115 Прочее; Обозначения
- 119 Сообщения
- 120 восстановлении
- 132 данном












