Видеокамеры JVC GZ-MG50 - инструкция пользователя по применению, эксплуатации и установке на русском языке. Мы надеемся, она поможет вам решить возникшие у вас вопросы при эксплуатации техники.
Если остались вопросы, задайте их в комментариях после инструкции.
"Загружаем инструкцию", означает, что нужно подождать пока файл загрузится и можно будет его читать онлайн. Некоторые инструкции очень большие и время их появления зависит от вашей скорости интернета.

ЗАПИСЬ И ВОСПРОИЗВЕДЕНИЕ ВИДЕО
РУ
27
З
MasterPage: Basic_Right
Для выбора показа или удаления
следующих параметров с экрана
подключенного телевизора
●
Дата/Время
Установите [ДАТА/ВРЕМЯ] в положение
[АВТО], [ВКЛ] или [ВЫКЛ]. (
●
Счетчик
Установите [СЧЕТЧИК СЦЕН] в положение
[ВКЛ] или [ВЫКЛ]. (
(Нажатие кнопки
INFO
/
также приводит к
включению/отключению дисплея.)
Копирование на видеомагнитофон (или
DVD-рекодер)
Ниже рассказывается как копирования
на видеомакнитофон. При копировании
на DVD-рекодер обратитесь к него
инструкции по эксплуатации.
1
Выполните действия с
, указанные
выше.
2
В том месте, с которого вы хотите начать
копирование, начните запись на
видеомагнитофоне. (Обратитесь к инструкции
по эксплуатации видеомагнитофона.)
3
Для прекращения копирования
остановите запись на видеомагнитофоне и
затем остановите воспроизведение камеры.
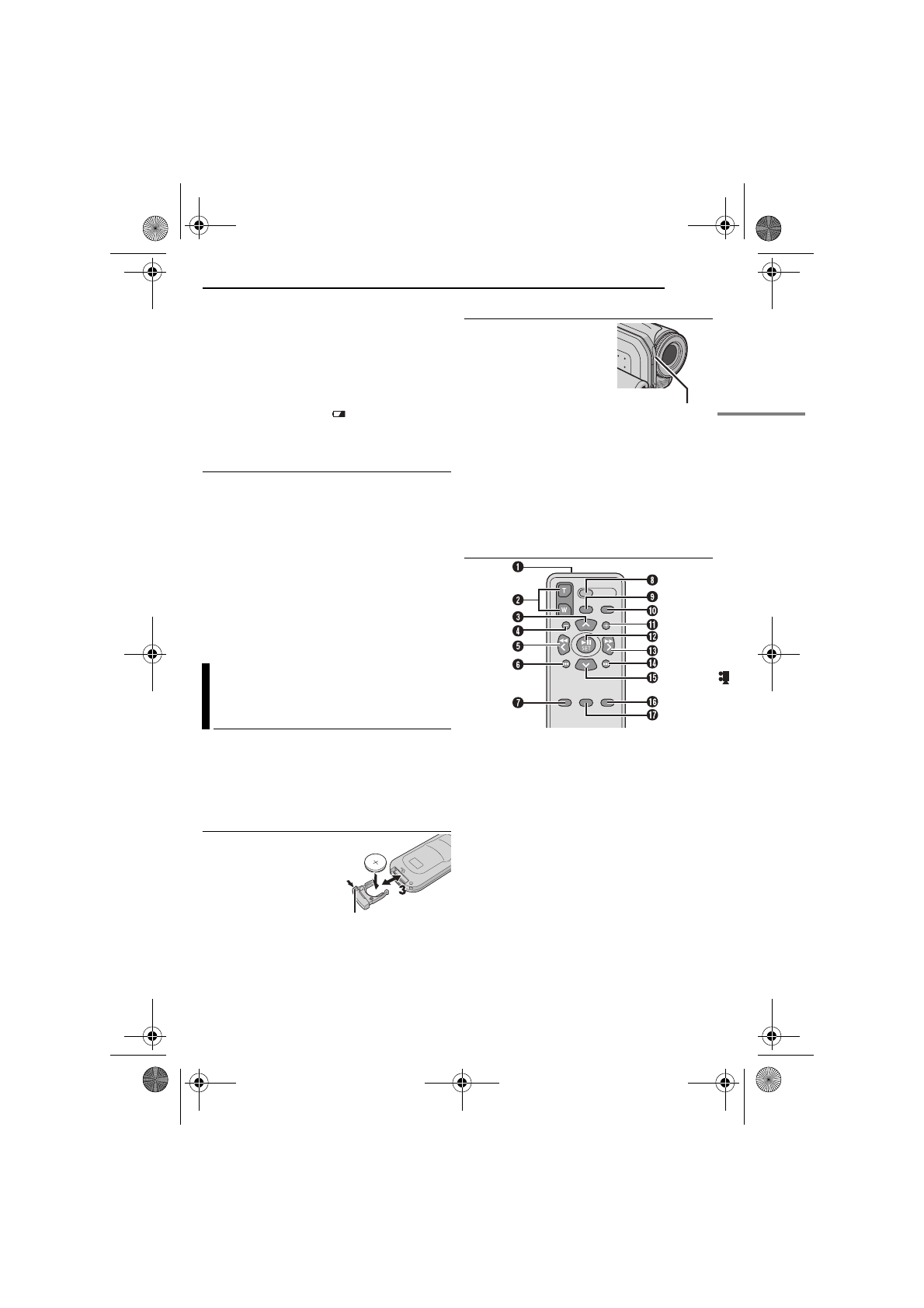
Полнофункциональный пульт дистанционного
управления может работать с этой камерой
на расстоянии, а также управлять основными
функциями (воспроизведение, стоп, пауза,
перемотка вперед или назад) вашего
видеомагнитофона.
Установки батарейки
В пульте дистанционного
управления используется
одна литиевая батарейка
(CR2025).
1
Извлеките держатель
батарейки надавив на
фиксатор.
2
Установите батарейку в держатель так,
чтобы была видна метка “+”.
3
Задвиньте держатель на место так, чтобы
раздался щелчок.
Дистанция работы пульта
При использовании пульта
дистанционного управления
убедитесь, что вы направляете
его на датчик пульта. При
использовании в помещении
рабочее расстояние пульта
составляет 5 м.
Используйте пульт
дистанционного управления
непосредственно перед
камерой и направляйте его на объектив.
ПРИМЕЧАНИЕ:
Передаваемый сигнал может не действовать
или может приводить к неправильной работе в
случае, если датчик пульта дистанционного
управления освещается прямыми солнечными
лучами или сильным освещением.
Кнопки и функции
A
Окно передачи инфракрасного сигнала
●
Передает инфракрасный сигнал
B
Кнопки ZOOM (T/W)
Увеличение/Уменьшение (
C
Кнопка вверх
Кнопка поворота (по часовой стрелке)
(
D
Кнопка пропуска в обратном направлении
E
Кнопка влево
F
Кнопка назад
G
Кнопка PLAYLIST (
H
Кнопка START/STOP
I
Кнопка SNAPSHOT (
J
Кнопка INFO (
K
Кнопка пропуска в прямом направлении
L
Кнопка PLAY/PAUSE
M
Кнопка вправо
N
Кнопка далее
O
Кнопка вниз
Кнопка поворота (против часовой
стрелки) (
P
Кнопка INDEX
Q
Кнопка DATE
Воспроизведение с
использованием пульта
дистанционного управления
1
1
2
Фиксатор
Датчик пульта
дистанционного
управления
M5E3PAL.book Page 27 Wednesday, August 3, 2005 2:05 PM
Содержание
- 2 Встроенный жесткий диск
- 3 ПОДГОТОВКА К ЭКСПЛУАТАЦИИ; Подключение к телевизору,; ДОПОЛНИТЕЛЬНЫЕ ФУНКЦИИ; Содержание
- 4 МЕРЫ ПРЕДОСТОРОЖНОСТИ
- 6 Перед использованием этой камеры
- 7 ПОД; Батарейный блок BN-VF707U; Прилагаемые принадлежности
- 8 Откройте липкую застежку.; Крепление крышки объектива
- 9 Крепление фильтра с сердечником; Освободите фиксаторы на обоих концах; Шнур питания постоянного тока; Закройте фильтр так, чтобы раздался; Потяните за край
- 10 Указатель
- 11 Органы управления
- 12 Индикация на ЖК-мониторе; Во время записи как видео, так и
- 13 Во время воспроизведения видео
- 14 Зарядка батарейного блока; OFF; Питание; Требуемое время зарядки
- 15 Использование батарейного блока; Выполните действия
- 16 Система данных о батарее; Несколько раз нажмите; INFO; Использование питания от сети; Выполните действие; О батареях; Не пытайтесь разбирать батареи,
- 17 Положение переключателя питания; MODE; Автоматический/ручной режим; Режим работы
- 18 MENU; Выбор языка
- 19 Регулировка яркости дисплея
- 20 Для установки карты SD
- 21 Выбор носителя для записи; Обнаружение падения
- 22 ЗАПИСЬ И ВОСПРОИЗВЕДЕНИЕ ВИДЕО; Установите переключатель питания в; Нажмите кнопку Пуск/Стоп для начала; Запись видео
- 23 АПИС; Масштабирование; Для увеличения; Для уменьшения; Сдвиньте рычажок трансфокатора в сторону; Удаление файлов; При нажатии
- 24 Воспроизведение видео
- 25 Использование линейки прокрутки; Экран указателя даты; Поиск при воспроизведении; Воспроизведение с масштабированием; Удаление видеофайлов
- 26 Воспроизведение на телевизоре; В противном случае
- 27 Установки батарейки
- 28 ЗАПИСЬ И ВОСПРОИЗВЕДЕНИЕ НЕПОДВИЖНЫХ ИЗОБРАЖЕНИЙ
- 30 Удаление файлов фотографий
- 31 ПОЛНИТЕЛЬНЫЕ Ф; ФУНКЦИИ ЗАПИСИ; Для блокирования экспозиции; Подсветка
- 32 Как выбрать позицию меню
- 33 Ручная фокусировка
- 34 Баланс белого цвета; РУЧНАЯ
- 35 Выдержка; Для изменения выдержки
- 36 Программа AE
- 37 ФУНКЦИИ ВОСПРОИЗВЕДЕНИЯ
- 38 РАБОТА С ФАЙЛАМИ; Информация о видеофайлах; Защита файлов
- 39 Для снятия защиты всех файлов; Удаление кнопкой; Удаление на экране меню
- 40 Удаление при выборе нескольких файлов; Для удаления всех файлов
- 42 Сброс номера файла
- 43 Удаление добавленных файлов из списка
- 45 Удаление списка воспроизведения
- 46 Настройки печати DPOF
- 48 ПАРАМЕТРЫ МЕНЮ; ОСНОВНЫЕ НАСТРОЙКИ; Изменение параметров меню; СБРОС
- 49 ПАР; : Отключает реагирование камеры на; ДИСПЛЕЙ; секунд в следующих случаях:; FRANÇAIS
- 50 НАСТРОЙКА КАМЕРЫ; Меню записи видео; КАЧЕСТВО; Меню воспроизведения видео
- 52 СПРАВОЧНЫЙ РАЗДЕЛ; На дисплее нет никакой информации; Запись; Невозможно сделать запись.; Устранение неисправностей; Нажмите на кнопку; и отсоедините
- 53 СПР; Воспроизведение; Дополнительные функции; Неестественные цвета изображения.; Записанное изображение слишком яркое.
- 54 Другие неисправности; Невозможно удалить файлы.; Невозможно извлечь карту SD из камеры.
- 55 Показывает оставшийся заряд батареи.; Предупреждающая индикация
- 56 нажмите; ОШИБКА ЗАПИСИ
- 57 Во избежание возникновения опасности; Чистка камеры
- 58 Носитель записи; Для продления срока службы
- 59 Основной блок; Для обеспечения безопасности НЕ; Избегайте использовать камеру; НЕ ОСТАВЛЯЙТЕ устройство; Правила обращения с компакт-диском; Серьезные неисправности
- 60 Камера; Монофонический; Технические характеристики; Общие сведения
- 61 Стандартный PAL; Сетевой адаптер; В пределах 5 м; Для неподвижных изображений
- 62 Время записи и количество; Совместимые носители записи; Карты MultiMediaCard не поддерживаются.
- 64 ВИКТОР КОМПАНИ ОФ ДЖАПАН, ЛИМИТЕД; ТЕРМИНЫ











