Видеокамеры JVC GZ-HD7 - инструкция пользователя по применению, эксплуатации и установке на русском языке. Мы надеемся, она поможет вам решить возникшие у вас вопросы при эксплуатации техники.
Если остались вопросы, задайте их в комментариях после инструкции.
"Загружаем инструкцию", означает, что нужно подождать пока файл загрузится и можно будет его читать онлайн. Некоторые инструкции очень большие и время их появления зависит от вашей скорости интернета.

1
Р
УССКИЙ
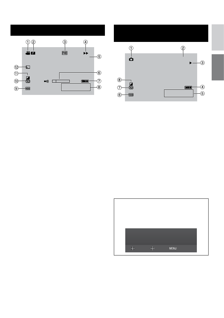
Во время воспроизведения видео
1 : 5 5 : 0 1
X - 6 0
1 6 : 5 5
2 0 . 0 1 . 2 0 0 7
!
Индикатор режима (
Z
стр.
30)
#
6
: Индикатор воспроизведения
списка воспроизведения (появляется
при воспроизведении списка
воспроизведения.) (
Z
стр.
45)
¨ª
: Индикатор воспроизведения
после поиска события (появляется
при воспроизведении видеофайла,
найденного при поиске события.)
(
Z
стр.
33)
¨©
: Индикатор воспроизведения
после поиска по дате (появляется
при воспроизведении видеофайла,
найденного при поиске даты.)
(
Z
стр.
32)
$
Качество изображения (
Z
pg.
68)
%
Режим воспроизведения (
Z
стр.
30)
U
: Воспроизведение
9
: Пауза
5
: Поиск вперед
3
: Поиск в обратном направлении
9U
: Замедленное воспроизведение
вперед
Y9
: Замедленное воспроизведение
назад
(Число слева показывает скорость.)
&
Счетчик (
Z
стр.
68)
(
Индикатор уровня громкости
)
Индикатор аккумулятора (
Z
стр.
78)
*
Дата/Время (
Z
стр.
70)
+
Индикатор выбранного носителя
(
Z
стр.
68,
69)
,
Индикатор обнаружения падения
(Появляется, когда параметр [ДАТЧИК
ПАДЕНИЯ] установлен на [ВЫКЛ].)
(
Z
стр.
70)
-
Индикатор режима эффекта (
Z
стр.
34)
.
Индикатор эффекта вытеснения/
микширования (
Z
стр.
35)
Во время воспроизведения
неподвижных изображений
1 0 1 - 0 0 9 8
1 6 : 5 5
2 0 . 0 1 . 2 0 0 7
!
Индикатор режима (
Z
стр.
31)
#
Номер папки/файла
$
Индикатор воспроизведения слайд-шоу
(
Z
стр.
31)
%
Индикатор аккумулятора (
Z
стр.
78)
&
Дата/Время (
Z
стр.
70)
(
Индикатор выбранного носителя
(
Z
стр.
68,
69)
)
Индикатор обнаружения падения
(Появляется, когда параметр [ДАТЧИК
ПАДЕНИЯ] установлен на [ВЫКЛ].)
(
Z
стр.
70)
*
Индикатор режима эффекта (
Z
стр.
34)
Отображение руководства по
эксплуатации
Руководство по эксплуатации
показывается в нижней части экрана во
время показа меню и т. п.
ВЫБРАТЬ
УСТ.
ВЫЙТИ
Содержание
- 2 Записывайте в режиме; Для изменения настроек
- 3 Резервное копирование; Для моделей компьютеров, которые могут быть
- 4 Меры предосторожности; BHИMAHИE: ДЛЯ ПPEДOTВPAЩEHИЯ
- 5 Помните о том, что эта камера может
- 6 Лицензионный договор о программном продукте JVC
- 7 УСЛОВИЯ; Как обращаться с дисками CD-ROM
- 8 Содержание; ПОДГОТОВКА К ЭКСПЛУАТАЦИИ
- 9 Прочитайте в первую очередь!; РАБОТА С КОМПЬЮТЕРОМ
- 10 Установка/Снятие светозащитной бленды; Принадлежности
- 11 Крепление ремня для переноски на плече
- 12 ЖК-монитор может поворачиваться на 270°.; Включение/отключение питания; Вы также можете включать и выключать; Указатель
- 13 Пульт дистанционного управления
- 14 Только во время видеозаписи; Индикация на ЖК-мониторе
- 15 Во время воспроизведения видео; Отображение руководства по; ВЫБРАТЬ
- 16 Индикатор доступа/зарядки начнет; Необходимые настройки перед использованием
- 17 Выбор языка; Выберите [ОСНОВНЫЕ; Выберите желаемый язык.
- 18 INDEX; Установка штатива; Другие настройки
- 19 При использовании карты SD; Для форматирования карты
- 20 Запись видео; Прекращение записи; OFF; ЗАПИСЬ; Запись файлов
- 21 Запись неподвижного изображения
- 22 Масштабирование; съемка; Выдвиньте видоискатель.
- 23 Выберите событие, с которым вы
- 24 Выберите желаемую настройку.; BACK LIGHT; Ручная запись
- 25 Установка приоритета диафрагмы; Изменение выдержки; Нажмите кнопку
- 26 Отрегулируйте яркость; BRIGHT; Ручная фокусировка; Сдвиньте кольцо фокусировки
- 27 Ночная съемка; Компенсация задней подсветки
- 28 Меню; Ручная настройка в меню функций; Выберите желаемое меню.; FUNCTION
- 30 Воспроизведение видео; ВОСПРОИЗВЕДЕНИЕ; Воспроизведение файлов
- 31 Воспроизведение неподвижного изображения
- 32 Функция поиска файлов; Выберите дату записи.; Выберите файл, который вы
- 34 Выберите желаемый эффект.
- 36 Подключение к телевизору; Выключите все устройства.; Подключение с использованием; Просмотр изображений на телевизоре
- 37 Воспроизведение; Для показа экранного меню камеры
- 38 Удаление/Защита файлов; Работа с файлами
- 39 Выберите требуемый файл.
- 40 Просмотр информации о файле; Уровень яркости
- 41 Выберите новое событие, которое; Выберите файл, которому вы; Для выхода из экрана
- 42 Индивидуальная настройка файлов; Выберите требуемый видеофайл.
- 43 Выберите количество копий.
- 44 Создание списков воспроизведения; Выберите [ПРАВКА СПИСКА; Выберите позицию и выведите на; Выберите файл для добавления к; Списки воспроизведения; – только режим
- 45 Выберите точку вставки.; Выберите [ВОСПРОИЗВЕСТИ
- 47 Продолжение на следующей странице; КОПИРОВАНИЕ; Копирование файлов
- 51 Установите видеомагнитофон/
- 52 Выберите направление
- 53 Требования к системе; Переключатель; Резервное копирование файлов на ПК; – Windows
- 54 Установка программ; CyberLink BD Solution; Пакет разнообразного программного; PowerCinema NE for Everio; Основное программное обеспечение; PowerProducer 3 NE; Позволяет вам создавать диски.; PowerDirector 5 NE Express; Позволяет вам редактировать файлы; Digital Photo Navigator 1.5; Позволяет вам изменить формат; Загрузите в компьютер
- 55 Когда установка завершится
- 56 По окончании действия; ) Дважды щелкните мышью на значке; Включение или выключение камеры
- 57 Резервное копирование файлов с; Установите программное обеспечение с
- 59 Воспроизведение файлов на компьютере; Другие действия на компьютере
- 60 В рамке появится метка
- 61 для создания дисков или; Поддерживаемыми носителями
- 63 JVC; Номера телефонов/факсов службы поддержки
- 64 процессор; – Macintosh
- 65 Подключение камеры к компьютеру
- 67 Выберите желаемое меню из; ДОПОЛНИТЕЛЬНАЯ ИНФОРМАЦИЯ; Изменение параметров меню
- 69 SNAPSHOT; ОСНОВНЫЕ НА; ČEŠTINA
- 71 ОДА
- 72 НОСИТЕЛЬ; Подключите сетевой адаптер.
- 73 Расширения; Структура папок и расширения
- 74 Питание; Следующие проблемы не являются; Устранение неисправностей
- 75 Неисправность; Дисплей
- 78 Индикация; Заряжена; Предупреждающая индикация
- 79 Чистка
- 80 Камера; Общие параметры; Сетевой адаптер; Технические характеристики
- 82 Аккумуляторный блок; Контакты; Носитель записи; Для продления срока службы
- 83 Основной блок; Для обеспечения безопасности НЕ
- 84 AG; © 2007 Victor Company of Japan, Limited; Термины











