Видеодвойки Toshiba SD-25VL - инструкция пользователя по применению, эксплуатации и установке на русском языке. Мы надеемся, она поможет вам решить возникшие у вас вопросы при эксплуатации техники.
Если остались вопросы, задайте их в комментариях после инструкции.
"Загружаем инструкцию", означает, что нужно подождать пока файл загрузится и можно будет его читать онлайн. Некоторые инструкции очень большие и время их появления зависит от вашей скорости интернета.

34
á‡ÔËÒ¸ ÔÓ Ú‡ÈÏÂÛ
5
BõXOÑ
BõÅêATú
: MENU
/ ENTER
:
23 CÅ
13 : 00 14 : 30
LP
3
:
:
:
:
:
:
:
:
:
:
:
:
:
:
1
2
4
3
áAèàCú èO TAâMEPì
ÑATA
CTAPT
KOHEñ
KAHAã
PEÜàM
çÖè Cê
2
Ð Ð
SP
: Ð Ð
11 : 30
BõXOÑ
ìCT-KA
BõÅêATú
: MENU
:
/ 0-9
:
--:--
--:--
------
--
--:--
--:--
------
--
--:--
--:--
------
--
--:--
--:--
------
--
--:--
--:--
------
--
25
ëê
12:15 13:00 4
23
èç
13:00 14:30 1
--
--
-
LP
SP
BõÅêATú
:
BõXOÑ
: MENU
/ ENTER
--:--
--:--
------
-- -
--:--
--:--
------
--
17:30 18:00
7
15
Bí
--:--
--:--
------
--
--:--
--:--
------
--
--:--
--:--
------
--
--:--
--:--
------
--
25
ëê
12:15 13:00 4
23
èç
13:00 14:30 1
--
--
-
SP
LP
SP
BõÅêATú
:
éóàëí.
: CANCEL
BõXOÑ
: MENU
/ ENTER
6
èËϘ‡ÌËfl:
• Ç ÒÎÛ˜‡Â Á‡ÔËÒË ÔÓ Ú‡ÈÏÂÛ Ò „ÌÂÁ‰‡ Scart ÔÓÒÚÛÔ‡ÈÚÂ
ÒÎÂ‰Û˛˘ËÏ Ó·‡ÁÓÏ: Ç ¯‡„Â
4
̇ÊËχÈÚÂ
ËÎË
, ÔÓ͇ ÌÂ
Á‡ÏË„‡ÂÚ ÒÚӘ͇ «KH». èÓÚÓÏ Ì‡ÊËχÈÚ ÍÌÓÔÍÛ
AUX
, ÔÓ͇
Ì ÔÓfl‚flÚÒfl ̇‰ÔËÒË «AV1», ËÎË «AV2», ËÎË «AV3».
• ÖÒÎË ÒËÏ‚ÓÎ ˜‡ÒÓ‚ (
) ÏË„‡ÂÚ ÔÓÒÏΠÚÓ„Ó, Í‡Í Á‡ÍÓ̘Ë·Ҹ
Á‡ÔËÒ¸ ÔÓ Ú‡ÈÏÂÛ, ˝ÚÓ Á̇˜ËÚ, ˜ÚÓ Ô‰‡˜‡ Ì Á‡ÔË҇̇
ÔÓÎÌÓÒÚ¸˛ ËÁ-Á‡ ÚÓ„Ó, ˜ÚÓ Ì ı‚‡ÚËÎÓ ÔÎÂÌÍË. ç‡ÊÏËÚÂ
TIMER
REC
, ˜ÚÓ·˚ ÓÚÏÂÌËÚ¸ ÔÓ„‡ÏÏÛ Ú‡Èχ ËÎË Ì‡ÊÏËÚÂ
EJECT
̇ ‚ˉÂÓχ„ÌËÚÓÙÓÌÂ, ˜ÚÓ·˚ ËÁ‚Θ¸ ͇ÒÒÂÚÛ.
• Ç ÂÊËÏ „ÓÚÓ‚ÌÓÒÚË Í Á‡ÔËÒË ÔÓ Ú‡ÈÏÂÛ ÌÂθÁfl ‚˚·Ë‡Ú¸
Â Ê Ë Ï ‚ Ë ‰ Â Ó Ï ‡ „ Ì Ë Ú Ó Ù Ó Ì ‡ . ó Ú Ó · ˚ Ô Ó Î ¸ Á Ó ‚ ‡ Ú ¸ Ò fl
‚ˉÂÓχ„ÌËÚÓÙÓÌÓÏ, ̇ÊÏËÚ Ò̇˜‡Î‡ ÍÌÓÔÍÛ
TIMER REC
, ‡
ÔÓÚÓÏ ÍÌÓÔÍÛ
VCR
, ˜ÚÓ·˚ ÔÂÂÈÚË ‚ ÂÊËÏ ‚ˉÂÓχ„ÌËÚÓÙÓ̇.
èÓÒΠËÒÔÓθÁÓ‚‡ÌËfl ‚ˉÂÓχ„ÌËÚÓÙÓ̇ ÒÌÓ‚‡ ̇ÊÏËÚÂ
ÍÌÓÔÍÛ
TIMER REC
, ˜ÚÓ·˚ Ô‚ÂÒÚË ‚ˉÂÓχ„ÌËÚÓÙÓÌ ‚
ÂÊËÏ „ÓÚÓ‚ÌÓÒÚË Í Á‡ÔËÒË ÔÓ Ú‡ÈÏÂÛ.
éÒÓ·˚È ÒÎÛ˜‡È Á‡ÔËÒË ÔÓ Ú‡ÈÏÂÛ
ÖÊẨÂθ̇fl (̇Ô. çÖÑ-Çí: ͇ʉ˚È ‚ÚÓÌËÍ) ËÎË
Âʉ̂̇fl (̇Ô. èç-ëÅ: Ò ÔÓ̉ÂθÌË͇ ÔÓ ÒÛ··ÓÚÛ)
Á‡ÔËÒ¸ ÔÓ Ú‡ÈÏÂÛ
ëΉÛÈÚ Ôӈ‰Û Á‡ÔËÒË ÔÓ Ú‡ÈÏÂÛ, ËÁÎÓÊÂÌÌÓÈ Ì‡
Ó·ÂËı Ô‰˚‰Û˘Ëı ÒÚ‡Ìˈ‡ı. ç‡ ËÒÛÌÍ 3 ̇ÊËχÈÚÂ
ËÎË
, ÔÓ͇ Ì ÔÓfl‚ËÚÒfl ÌÛÊ̇fl ÛÒÚ‡Ìӂ͇. èÓÚÓÏ Ì‡ÊÏËÚÂ
. äÓ„‰‡ ‚˚ ·Û‰ÂÚ ̇ÊËχڸ
ËÎË
, Ë̉Ë͇ÚÓ «ÑÄíÄ»
·Û‰ÂÚ ÏÂÌflÚ¸Òfl ÒÎÂ‰Û˛˘ËÏ Ó·‡ÁÓÏ, ÂÒÎË Ò„ӉÌfl ÔflÚÌˈ‡.
óÂÂÁ ÏÂÒflˆ ÏËÌÛÒ
Ó‰ËÌ ‰Â̸
Çë
-
ëÅ
25
èí
..... 24
Çë
çÖÑ
-
èí
èç
-
ëÅ
èç
-
èí
çÖÑ
-
óí
.......
çÖÑ
-
ëÅ
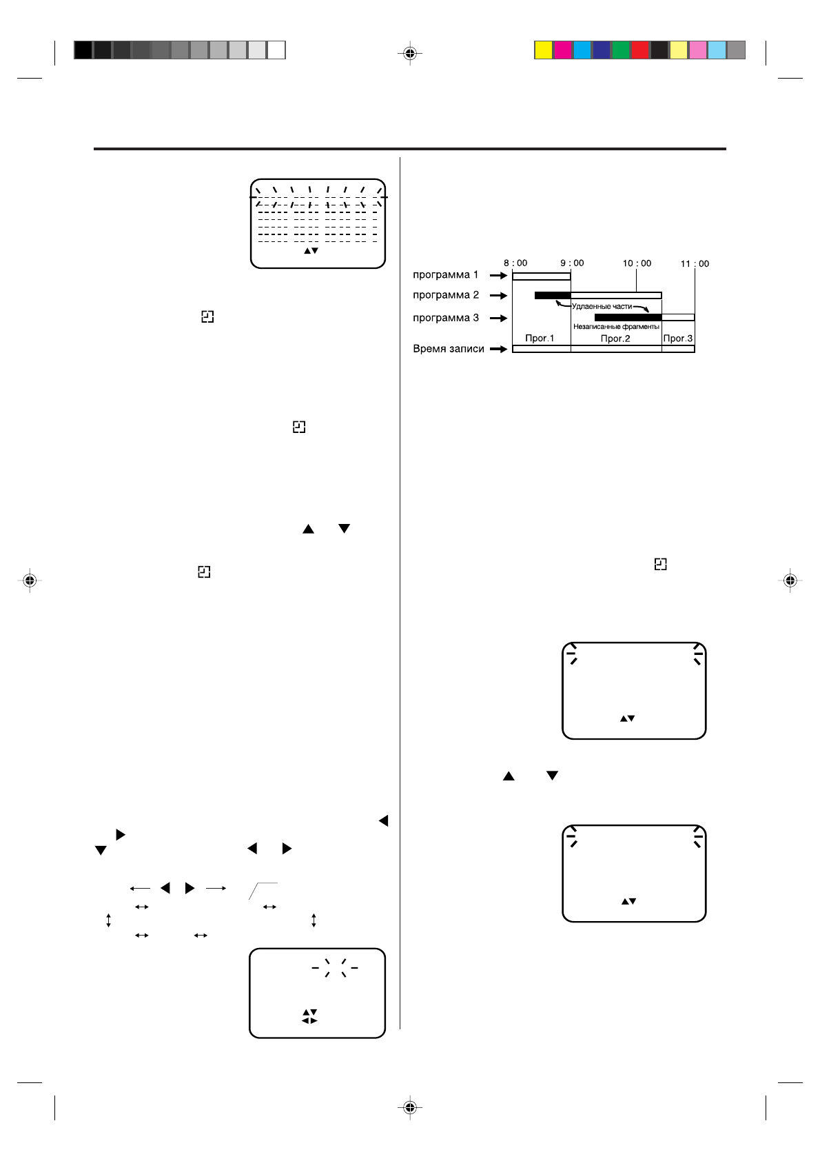
ëΉËÚ Á‡ ÚÂÏ, ˜ÚÓ·˚ ‚ ̇ÒÚÓÈ͇ı Ì ·˚ÎÓ
Û͇Á‡ÌÓ Ó‰ÌÓ Ë ÚÓ Ê ‚ÂÏfl ‰Îfl Á‡ÔËÒË ‡ÁÌ˚ı
͇̇ÎÓ‚, Ú‡Í Í‡Í ‚ ÔÓÚË‚ÌÓÏ ÒÎÛ˜‡Â ÌÂÍÓÚÓ˚Â
Ù‡„ÏÂÌÚ˚ Á‡ÔËÒË, „‰Â ‚ÂÏfl ÔÓ„‡ÏÏ
ÒÓ‚Ô‡‰‡ÂÚ, Á‡ÔËÒ‡Ì˚ Ì ·Û‰ÛÚ.
ëÓ‚Ô‡‰ÂÌË ‚ÂÏÂÌË ÔÓ„‡ÏÏ
ç‡ÊÏËÚÂ
ENTER
, ˜ÚÓ·˚ Ëı ÔËÌflÚ¸.
óÚÓ·˚ ‚‚ÂÒÚË ‰Û„ËÂ
ÔÓ„‡ÏÏ˚,
ÔÓ‚ÚÓËÚ ¯‡„Ë ÒÓ
2
-„Ó ÔÓ
5
-È.
•
Ñ‚‡Ê‰˚ ̇ÊÏËÚÂ
VCR MENU
,
˜ÚÓ·˚ ‚ÂÌÛÚ¸Òfl ‚
ÌÓχθÌ˚È ˝Í‡Ì.twice.
ç‡ÊÏËÚ ÍÌÓÔÍÛ
TIMER REC
. ç‡ ‰ËÒÔΠÔÓfl‚ËÚÒfl
ÒËÏ‚ÓÎ ˜‡ÒÓ‚ (
) , Ë ‚ˉÂÓχ„ÌËÚÓÙÓÌ ·Û‰ÂÚ
Ô˂‰ÂÌ ‚ ÒÓÒÚÓflÌË „ÓÚÓ‚ÌÓÒÚË Í Á‡ÔËÒË. Ç ˝ÚÓ ÊÂ
‚ÂÏfl ÂÊËÏ ‡‚ÚÓχÚ˘ÂÒÍË ÒÏÂÌËÚÒfl ̇ ÂÊËÏ
DVD. Ç˚ ÏÓÊÂÚ ÔÓθÁÓ‚‡Ú¸Òfl DVD-‰ËÒ͇ÏË ‰‡ÊÂ
ıÓÚfl ‚ˉÂÓχ„ÌËÚÓÙÓÌ ·Û‰ÂÚ Ì‡ıÓ‰ËÚ¸Òfl ‚ ÂÊËÏÂ
Á‡ÔËÒË ÔÓ Ú‡ÈÏÂÛ. ÖÒÎË ‚˚ Ì ·Û‰ÂÚ ËÒÔÓθÁÓ‚‡Ú¸
DVD-ÂÊËÏ, ‚˚Íβ˜ËÚ ‚ˉÂÓχ„ÌËÚÓÙÓÌ.
• ÖÒÎË, ÌÂÒÏÓÚfl ̇ ̇ʇÚË ÍÌÓÔÍË
TIMER REC
, ̇
‰ËÒÔΠÏË„‡ÂÚ ÒËÏ‚ÓÎ ˜‡ÒÓ‚ (
), ‚ÓÁÏÓÊÌÓ, ‚
ÓÚÒÂÍ ¢ ÌÂÚ Í‡ÒÒÂÚ˚. (ÒÏ. ÒÚ. 24.)
• ÖÒÎË, ÌÂÒÏÓÚfl ̇ ̇ʇÚË ÍÌÓÔÍË
TIMER REC
,
͇ÒÒÂÚ‡ ËÁ‚ÎÂ͇ÂÚÒfl, ‚ÓÁÏÓÊÌÓ, ̇ ͇ÒÒÂÚÂ
ÓÚÎÓÏ‡Ì Ô‰Óı‡ÌËÚÂθ. (ÒÏ. ÒÚ. 24.)
èç-ëÅ = ͇ʉ˚È ‰Â̸ Ò
ÔÓ̉ÂθÌË͇ ÔÓ ÒÛ··ÓÚÛ
çÖÑ-ëÅ = Í‡Ê‰Û˛ ÒÛ··ÓÚÛ
èËϘ‡ÌËfl:
• Ö Ê Â ‰ Ì Â ‚ Ì Û ˛ ( Â Ê Â Ì Â ‰ Â Î ¸ Ì Û ˛ ) Á ‡ Ô Ë Ò ¸ Ï Ó Ê Ì Ó
‚˚ÔÓÎÌflÚ¸ ÔÓÒÚÓflÌÌÓ, ÔÓ͇ Á‡ÔËÒ¸ Ì ·Û‰ÂÚ ÓÚÏÂÌÂ̇
ËÎË ÔÓ͇ Ì ‰ÓȉÂÚ ‰Ó ÍÓ̈‡ ÔÎÂÌ͇ ‚ ͇ÒÒÂÚÂ.
• èË Á‡ÔËÒË ÔÓ Ú‡ÈÏÂÛ ÏÂı‡ÌËÁÏ ‡‚ÚÓχÚ˘ÂÒÍÓÈ
ÔÂÂÏÓÚÍË Ì ‰ÂÈÒÚ‚ÛÂÚ.
èÓ‰Ú‚ÂʉÂÌË (ÓÚÏÂ̇) Á‡ÔËÒË ÔÓ
Ú‡ÈÏÂÛ
ÖÒÎË Ú‡ÈÏ ‚Íβ˜ÂÌ, ̇ÊÏËÚÂ
TIMER REC
,
˜ÚÓ·˚ Â„Ó ÓÚÍβ˜ËÚ¸. ëËÏ‚ÓÎ ˜‡ÒÓ‚ (
)
ËÒ˜ÂÁÌÂÚ. èÓÚÓÏ Ì‡ÊÏËÚ ÍÌÓÔÍÛ
VCR
, ˜ÚÓ·˚
ÔÂÂÈÚË ‚ ÂÊËÏ ‚ˉÂÓχ„ÌËÚÓÙÓ̇.
ç‡ÊÏËÚ ÍÌÓÔÍÛ
PROGRAM
. èÓfl‚flÚÒfl ‚Ò 8
ÔÓ„‡ÏÏ Ú‡Èχ.
óÚÓ·˚ ÓÚÏÂÌËÚ¸ ÔÓ„‡ÏÏÛ Ú‡Èχ:
ç‡ÊËχÈÚÂ
ËÎË
, ˜ÚÓ·˚ ‚˚·‡Ú¸
Á‡ÔËÒ‡ÌÌÛ˛ ÒÚÓ˜ÍÛ. èÓÚÓÏ Ì‡ÊÏËÚÂ
CANCEL
.
íÂÔ¸ ˝Ú‡ ÒÚӘ͇ ÓÚÏÂÌÂ̇.
ç‡ÊËχÈÚ ÍÌÓÔÍÛ
VCR MENU
(ËÎË
PROGRAM
),
ÔÓ͇ Ì ÔÓfl‚ËÚÒfl ËÁÓ·‡ÊÂÌËÂ.
2E24221A[RUS] P30-35
8/7/04, 16:46
34








