Весы Scarlett SC-BS33ED11 - инструкция пользователя по применению, эксплуатации и установке на русском языке. Мы надеемся, она поможет вам решить возникшие у вас вопросы при эксплуатации техники.
Если остались вопросы, задайте их в комментариях после инструкции.
"Загружаем инструкцию", означает, что нужно подождать пока файл загрузится и можно будет его читать онлайн. Некоторые инструкции очень большие и время их появления зависит от вашей скорости интернета.

IM022
SC-BS33ED11
8
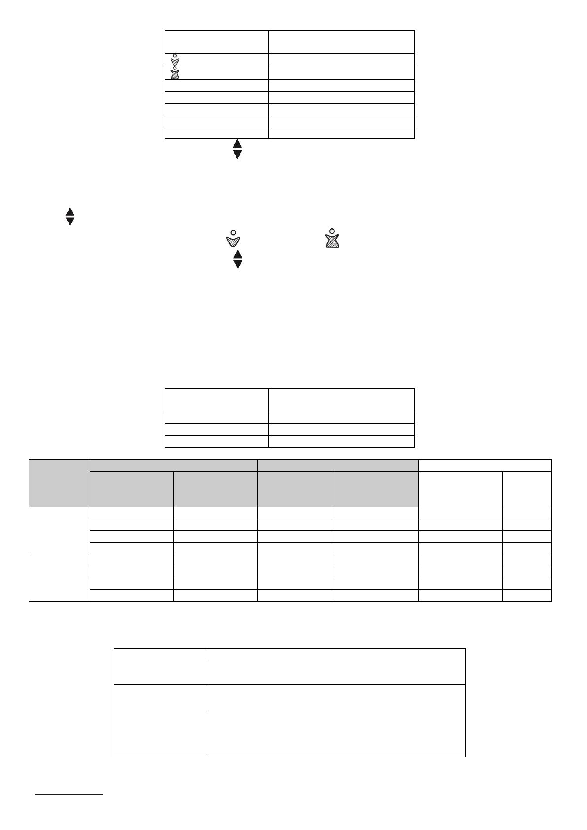
Показания
дисплея
Значение
Мужской пол
Женский пол
CM(FT;In)
Рост
Age
Возраст
FAT
Жир
TBW
Вода
%
Процентное соотношение
Нажимая на кнопки «вверх» или «вниз», вы можете установить соответствующие значения. Ввод каждого
значения следует подтвердить, нажав кнопку SET.
ВВОД ПЕРСОНАЛЬНЫХ ДАННЫХ
Нажмите кнопку SET. На экране высветится поле свободной памяти - номер пользователя, например USER
01. Подтвердите выбор нажатием кнопки SET или выберите следующего свободного пользователя, нажимая
кнопки ,например USER 02. Нажмите SET, чтобы перейти к дальнейшим настройкам.
Далее высветится символ «мужчина»
или «женщина»
.
Подтвердите выбор нажатием кнопки SET
или выберите свой пол, нажимая кнопки .
Нажмите SET, чтобы перейти к дальнейшим настройкам.
Аналогично задайте параметры возраста (age) и роста (cm).
Для подтверждения каждого параметра нажимайте кнопку SET.
После подтверждения последнего параметра (рост, cm). На экране высветиться 0,0 KG и номер
пользователя, например USER 02. Начните взвешивание. Во время взвешивания стойте неподвижно,
чтобы показание стабилизировалось
Внимание: при измерении не должно быть контакта между обеими ступнями, икрами, голенями и бедрами.
В противном случае измерение не может быть выполнено должным образом.
Вначале на дисплее будет показан ваш вес, затем через несколько секунд вы увидите на дисплее
следующую информацию, которая будет отображаться поочередно:
Показания
дисплея
Значение
FAT
Жир
TBW
Вода
%
Процентное соотношение
Данные сообщают, в какой форме вы находитесь на данный момент (см. таблицу).
Возраст
Женский
Мужской
Жир
Вода
Жир
Вода
Кол-во жира
Диплей
≤30
4.0-20.5
66.0-54.7
4.0-15.5
66.0-58.1
Недостаток
-
20.6-25.0
54.6-57.6
15.6-20.0
58.0-55.0
Норма
0
25.1-30.5
51.5-47.8
20.1-24.5
54.9-51.9
Избыток
+
30.6-50.0
47.7-34.4
24.6-50.0
51.8-34.4
Излишний вес
++
>30
4.0-25.0
66.0-51.6
4.0-19.5
66.0-55.4
Недостаток
-
25.1-30.0
51.5-48.1
19.6-24.0
55.3-52.3
Норма
0
30.1-35.0
48.0-44.7
24.1-28.5
52.2-49.2
Избыток
+
30.1-50.0
44.6-34.4
28.6-50.0
49.1-34.4
Излишний вес
++
СООБЩЕНИЯ НА ДИСПЛЕЕ
ВНИМАНИЕ: Если дисплей показывает сообщение об ошибке, дождитесь пока прибор не отключится.
Включите его заново, чтобы перезапустить операцию. Если сообщение об ошибке не пропало, выньте
батарейки из отсека для батареек на 10 секунд, после чего вставьте их обратно и включите прибор.
Индикаторы
Значение
8888
Выбор пользователя и персональных параметров.
оооо
Анализ показаний после взвешивания.
----
-
Неправильное положение весов. Переставьте весы
на прямую, твердую поверхность.
-
Вы стоите на весах, не разувшись. Снимите обувь
и заново встаньте на весы.
Характеристики
Остались вопросы?Не нашли свой ответ в руководстве или возникли другие проблемы? Задайте свой вопрос в форме ниже с подробным описанием вашей ситуации, чтобы другие люди и специалисты смогли дать на него ответ. Если вы знаете как решить проблему другого человека, пожалуйста, подскажите ему :)













