Весы Massa-K RP-I-R2P - инструкция пользователя по применению, эксплуатации и установке на русском языке. Мы надеемся, она поможет вам решить возникшие у вас вопросы при эксплуатации техники.
Если остались вопросы, задайте их в комментариях после инструкции.
"Загружаем инструкцию", означает, что нужно подождать пока файл загрузится и можно будет его читать онлайн. Некоторые инструкции очень большие и время их появления зависит от вашей скорости интернета.

26
R
Р,
R
2Р РЭ (Редакция
10) 2016, v. 4.7; 4.8; 4.9 …
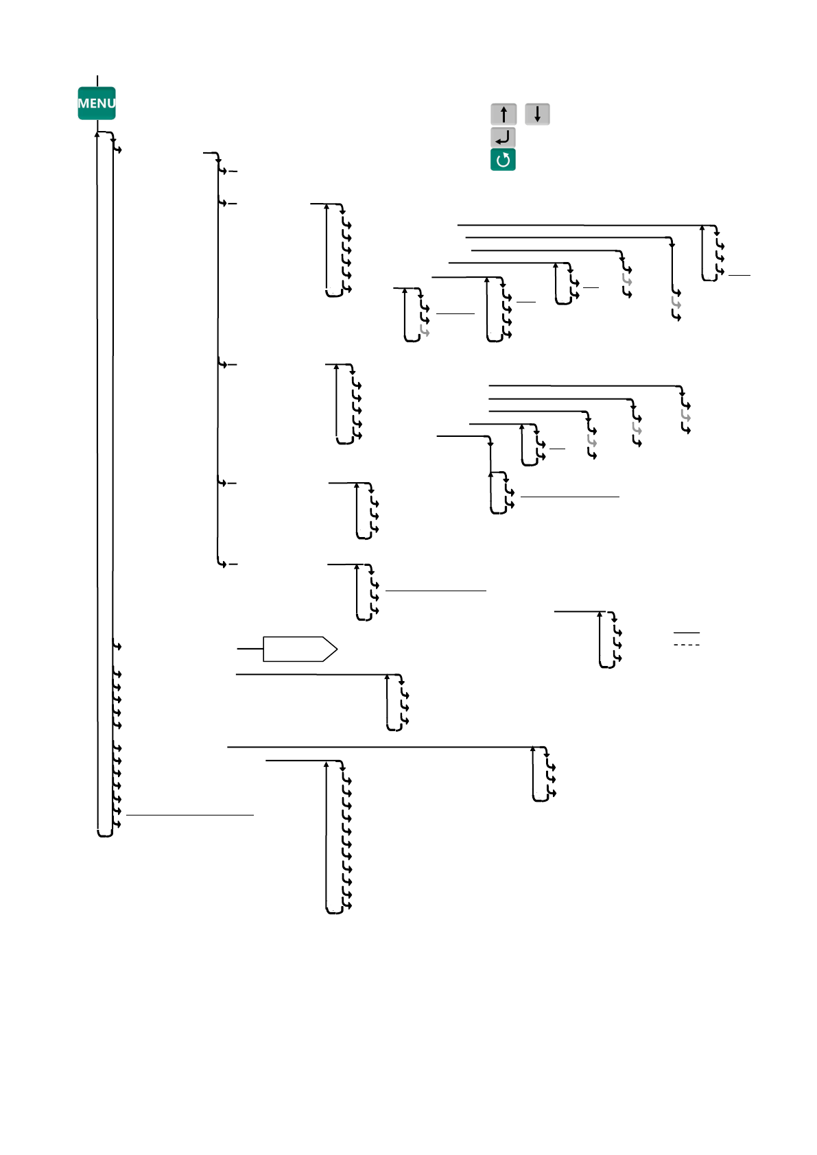
Рис.
8.1 -
Структура меню администраторы
Атол
Феликс
…..
Контрастность печати
Смещение печати
Датчик конца этикеток
Режим подмотки
Тип ленты
Встроенный
принтер, п.
ON
OFF
Раздельные этикетки
Непрерывный
0
- - -
9
0
- - -
9
0
- - -
9
Параметры
терминала,
USB-
Flash, п.
Установка опций, п.
Юстировка, п.
Заводские настройки, п.
Тесты, п.
Автономный режим п.
Ввод текста терминала, п.
Печать бирок
,
п
Электронный паспорт, п.
PIN-
код администратора, п.
Блокировка кнопок, п.
Сброс опций и блокировок п.
Ручной ввод данных
*
Нажать и удерживать
2 секунды
Использование кнопок
:
,
-
перебор пунктов меню
-
выбор пункта меню
-
возврат на уровень выше
Подчеркнуты значения заводской установки
Режим подсветки
Яркость подсветки
Контраст индикатора
Звуковой сигнал
Формат цены
Язык
Параметры
индикации,
Русский
English
- - - - - -
Дата и время, п.
0
- - -
9
0.00
0.000
0
0.0
Off
On
Auto
0
- - -
9
Печать серии этикеток, п.
Фасовка, п.
Автосброс товара,
Авторегистрация, сканер, п.
Документ
-
основание, п.
Тара из справочника, п.
Контроль массы партии, п.
Считывание ШК
LITE
, п.
Продажа по свободной цене, п.
EAN 13+EAN 5,
п
Быстрый вызов 64 товаров, п
Обновление программы, п.
Маркировка
USB Flash
, п.
Обмен с ПК по
USB Flash
, п.
Компьютер, п.
Дополнительный индикатор, п.
Фискальный принтер, п.
Ethernet
, п.
RS-
232, п.
Ценник, п.
Бирка на товар, п.
Бирка на тару, п.
Яркость
ON
OFF
IP
адрес
Маска подсети
Сетевой порт