Весы Massa-K RL_R5_2016 - инструкция пользователя по применению, эксплуатации и установке на русском языке. Мы надеемся, она поможет вам решить возникшие у вас вопросы при эксплуатации техники.
Если остались вопросы, задайте их в комментариях после инструкции.
"Загружаем инструкцию", означает, что нужно подождать пока файл загрузится и можно будет его читать онлайн. Некоторые инструкции очень большие и время их появления зависит от вашей скорости интернета.

МК_
RL,
МК_
R2L
РЭ (Редакция
5) 2016, v. 4.7; 4.8; 4.9… 23
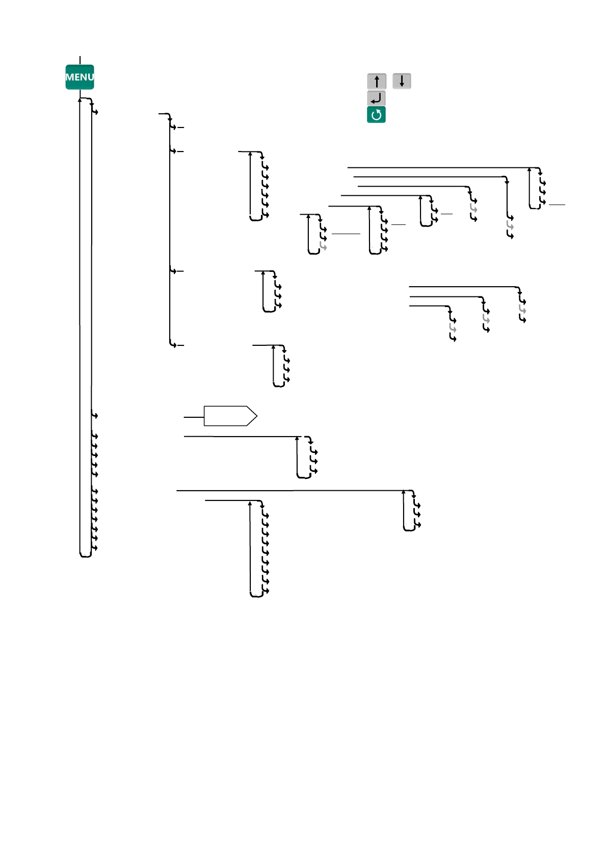
Рис.
7.1 -
Структура меню администратора
Контрастность печати, п
Смещение печати, п.
Параметры
принтера, п.
0
- - -
9
0
- - -
9
0
- - -
9
Параметры
терминала,
USB-
Flash, п.
Установка опций, п.
Юстировка, п.
Заводские настройки, п.
Тесты, п.
Автономный режим
,
п.
Ввод текста терминала, п.
Печать бирок
,
Электронный паспорт, п.
PIN-
код администратора, п.
Блокировка кнопок, п.
Сброс опций и блокировок п.
Ручной ввод данных*
Нажать и удержи-
вать 2 секунды
Режим подсветки
Яркость подсветки
Контраст индикатора
Звуковой сигнал
Формат цены
Язык
Русский
English
- - - - - -
Дата и время, п.
0
- - -
9
0.00
0.000
0
0.0
Off
On
Auto
0
- - -
9
Тара из справочника, п.
Фасовка, п.
Автосброс товара, п.
Авторегистрация, сканер, п.
Документ
-
основание, п.
Контроль массы партии, п
Считывание ШК этикетки
LITE,
EAN 13+EAN 5, п.
Быстрый вызов 64 товаров, п.
Обновление программы, п.
Маркировка
USB Flash
, п.
Обмен с ПК по
USB Flash
, п.
Ценник, п.
Бирка на товар, п.
Бирка
USB-
Flash, п.
ON
OFF
Ethernet
, п.
IP
адрес
Маска подсети
Сетевой порт
Параметры
индикации
,
Использование кнопок
:
,
-
перебор пунктов меню
-
выбор пункта меню
-
возврат на уровень выше
Подчеркнуты значения заводской установки