Весы Massa-K PTB - инструкция пользователя по применению, эксплуатации и установке на русском языке. Мы надеемся, она поможет вам решить возникшие у вас вопросы при эксплуатации техники.
Если остались вопросы, задайте их в комментариях после инструкции.
"Загружаем инструкцию", означает, что нужно подождать пока файл загрузится и можно будет его читать онлайн. Некоторые инструкции очень большие и время их появления зависит от вашей скорости интернета.

18
Р/
TB
РЭ
(Редакция
6) 2016
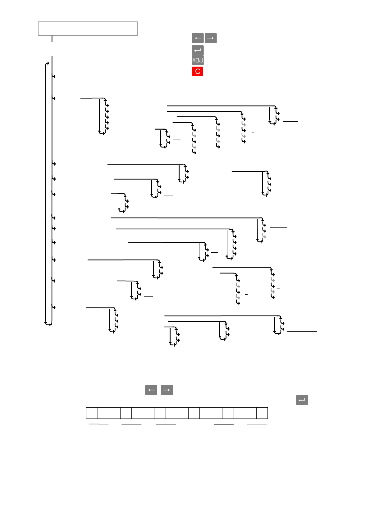
2.4.1
Установка часов
Выбрать пункт
«
Часы
»,
кнопками
,
установить мигающий символ в требующее коррек-
ции знакоместо. Используя цифровую клавиатуру провести коррекцию часов, нажать
.
Режим печати
Контрастность
Остановка
этикетки (
Смещение
печати
Подмотка
Использование кнопок
:
-
перебор пунктов меню
-
выбор пункта меню
-
возврат на уровень выше
-
выход из меню
Подчеркнуты значения заводской установки.
ON
OFF
Часы (
Принтер
Чтение
Запись
Карта памяти (
0.00
0.000
0
0.0
ON
OFF
Звуковой сигнал (
Формат цены (
Индикатор
Автосброс цены
Русский
English
- - - - - - - - -
Language (2.4.6)
IP
адрес
Маска подсети
Сетевой порт
Настройка портов
Ethernet (2.4.3.1)
RS-232 (2.4.3.2)
Разрешено
Не разрешено
Разрешено
Не разрешено
Изменение цены
Запоминание товар
Обнуление итогов
Допуск
операций
Разрешено
Не разрешено
Подсветка (
Контрастность
Меню администратора
ON
OFF
Режим
on-line (2.4.4)
Авто
Ручной
0
- - -
5
- - -
9
0
- - -
5
- - -
9
0
- - -
5
- - -
9
0
- - -
5
- - -
9
0
- - -
5
- - -
9
Параметры
ON
OFF
Рис.
12
. Меню установки параметров
1 7 / 1 2 / 1 0
1 2 : 5 2
Число
Месяц
Год
Часы
Минуты