Весы Massa-K 4D_A - инструкция пользователя по применению, эксплуатации и установке на русском языке. Мы надеемся, она поможет вам решить возникшие у вас вопросы при эксплуатации техники.
Если остались вопросы, задайте их в комментариях после инструкции.
"Загружаем инструкцию", означает, что нужно подождать пока файл загрузится и можно будет его читать онлайн. Некоторые инструкции очень большие и время их появления зависит от вашей скорости интернета.

РЭ
4D (
Редакция
3) 2009
15
11.5
Убрать
подставки
,
поставить
раму
на
поверхность
пола
.
11.6
Установить
на
раму
грузоприёмную
платформу
.
Убедиться
,
что
платформа
не
нагружена
и
не
касается
посторонних
предметов
.
11.7
Набрать
на
индикаторе
общее
значение
массы
гирь
,
которыми
бу
-
дет
проводиться
калибровка
центра
– (0,1
÷
1,0)
НПВ
.
П р и м е ч а н и е
-
Для
выхода
из
набора
массы
гирь
с
предустановленным
значением
нажать
.
11.8
Калибровка
углов
Разделить
визуально
платформу
весовую
на
квадранты
(
см
.
рис
. 11.2).
С
5 0 0.0
Нажать
кнопку
.
На
индикаторе
появится
значение
предустанов
-
ленной
массы
калибровочного
веса
с
символом
«
С
»
и
мигающее
зна
-
коместо
.
Набор
значения
мигающей
цифры
осуществляется
нажатием
кнопки
,
переход
к
следующему
разряду
нажатием
кнопки
.
После
набора
цифры
в
старшем
разряде
,
нажать
кнопку
.
Мигание
прекратится
.
На
индикаторе
появится
сообщение
«CrnCAL».
С
5 0 0.0
С
5 0 0.0
CrnCAL
Нажать
кнопку
.
После
появления
символа
«kg»
нажать
кнопку
.
На
индикаторе
,
с
небольшой
задержкой
,
появится
сообщение
«CLoAd».
X X.X
CLoAd
Нажать
кнопку
.
Поворачивая
одну
из
опор
(
любую
из
четырех
)
в
одну
и
другую
сторону
,
добиться
минимального
показания
массы
на
цифровом
индикаторе
.
Поворот
опоры
производить
через
регулиро
-
вочное
отверстие
платформы
при
помощи
отвертки
(
после
значения
1
кг
точность
установки
существенно
не
увеличивается
).
Нажать
кнопку
.
На
индикаторе
появится
сообщение
«Set t»
Х
Х
.
Х
Set t
Нажать
кнопку
.
После
появления
символа
«kg»
нажать
кнопку
.
На
индикаторе
,
с
небольшой
задержкой
,
появится
сообщение
«CrnSet»
X X.X
CrnSet
(
Здесь
и
далее
Х
-
любая
цифра
)
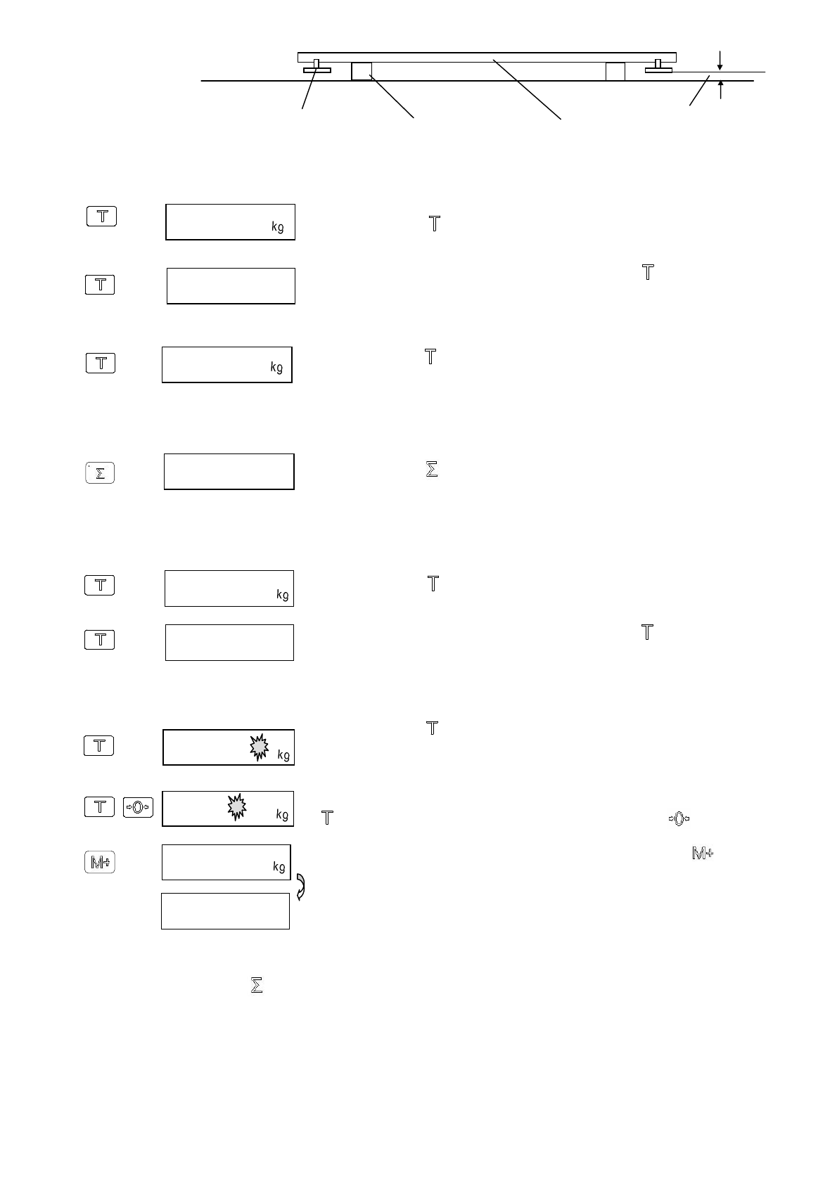
Опора
весоизмерительного
датчика
(4
шт
.)
Подставка
(4
шт
.)
Зазор
Рама
Рис
. 11.1-
Вывешивание
рамы
