Весы Cas EB - инструкция пользователя по применению, эксплуатации и установке на русском языке. Мы надеемся, она поможет вам решить возникшие у вас вопросы при эксплуатации техники.
Если остались вопросы, задайте их в комментариях после инструкции.
"Загружаем инструкцию", означает, что нужно подождать пока файл загрузится и можно будет его читать онлайн. Некоторые инструкции очень большие и время их появления зависит от вашей скорости интернета.

24
7.
ОПЕРАЦИИ
ПРИ
ПРОДАЖАХ
7.1.
ВЗВЕШИВАНИЕ
ТОВАРА
ПРИ
ВВОДЕ
ЦЕНЫ
ЗА
КИЛОГРАММ
С
КЛАВИАТУРЫ
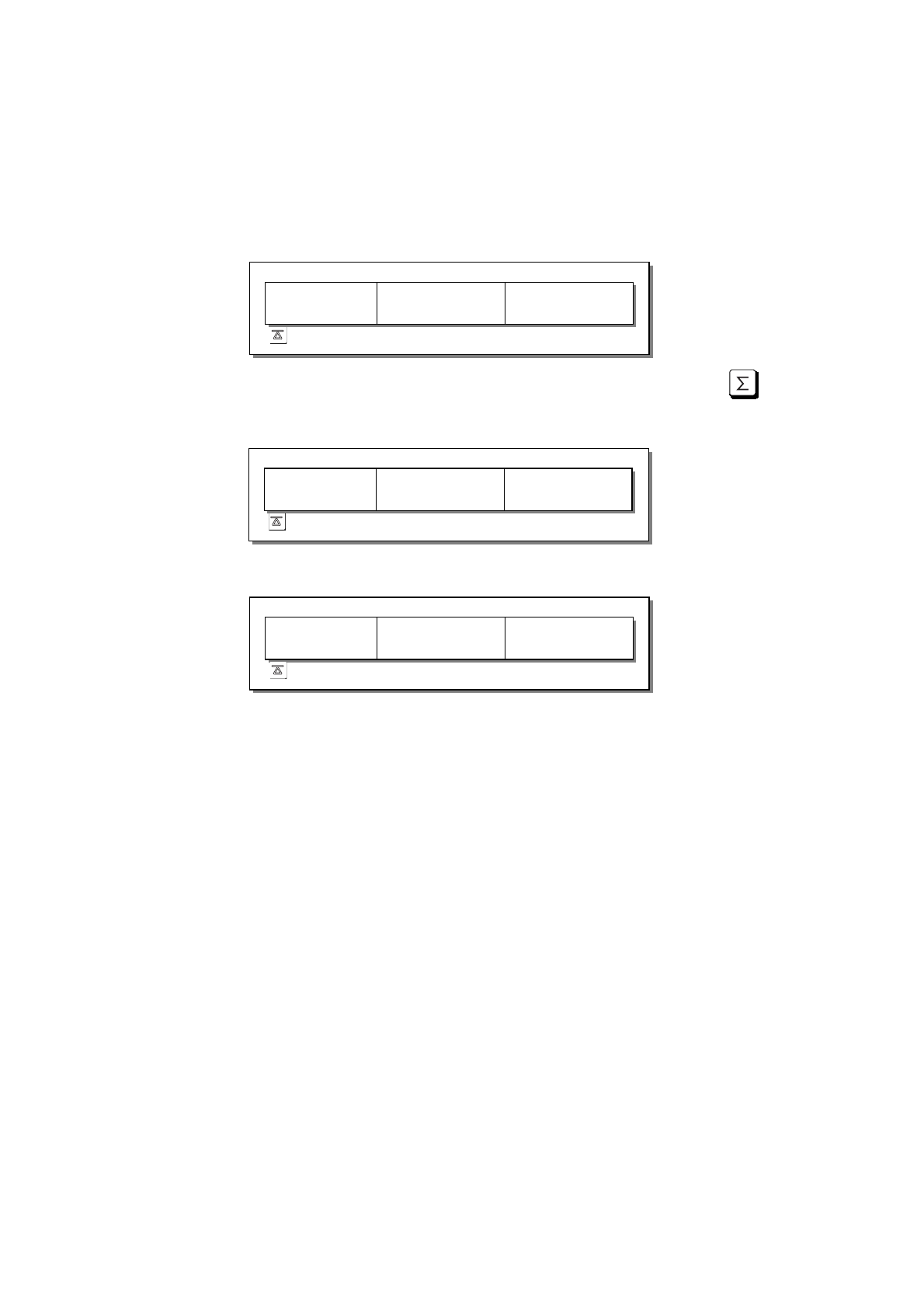
Положите
товар
на
платформу
и
введите
цену
за
1
килограмм
,
используя
соответствующие
числовые
клавиши
.
Если
требуется
добавить
данную
операцию
в
дневной
отчет
,
нажмите
клавишу
.
После
этого
произойдет
сброс
дисплеев
цены
и
стоимости
.
Уберите
товар
с
платформы
.
0
⊳
NET
0.50 100.00
50.00
МАССА
КГ
ЦЕНА
РУБ
/
КГ
СТОИМОСТЬ
РУБ
0
⊳
NET
0.00
0.00
0.00
МАССА
КГ
ЦЕНА
РУБ
/
КГ
СТОИМОСТЬ
РУБ
0
⊳
NET
0.50
0.00
0.00
МАССА
КГ
ЦЕНА
РУБ
/
КГ
СТОИМОСТЬ
РУБ
