Весы Cas DL-4-H-KNOPOCHNIJ-VARIANT - инструкция пользователя по применению, эксплуатации и установке на русском языке. Мы надеемся, она поможет вам решить возникшие у вас вопросы при эксплуатации техники.
Если остались вопросы, задайте их в комментариях после инструкции.
"Загружаем инструкцию", означает, что нужно подождать пока файл загрузится и можно будет его читать онлайн. Некоторые инструкции очень большие и время их появления зависит от вашей скорости интернета.

15
О
◄
L K
PCS
О
◄
PCS
►
0
◄
N E T
►
0
◄
N E T
О
L K
PCS
О
◄
L K
PCS
kg
О
◄
►
0
◄
N E T
►
0
◄
N E T
►
0
◄
N E T
Нажимайте
клавишу
ZERO
до
тех
пор
,
пока
на
дисплее
не
высветится
требуемое
количество
изделий
в
пробе
,
например
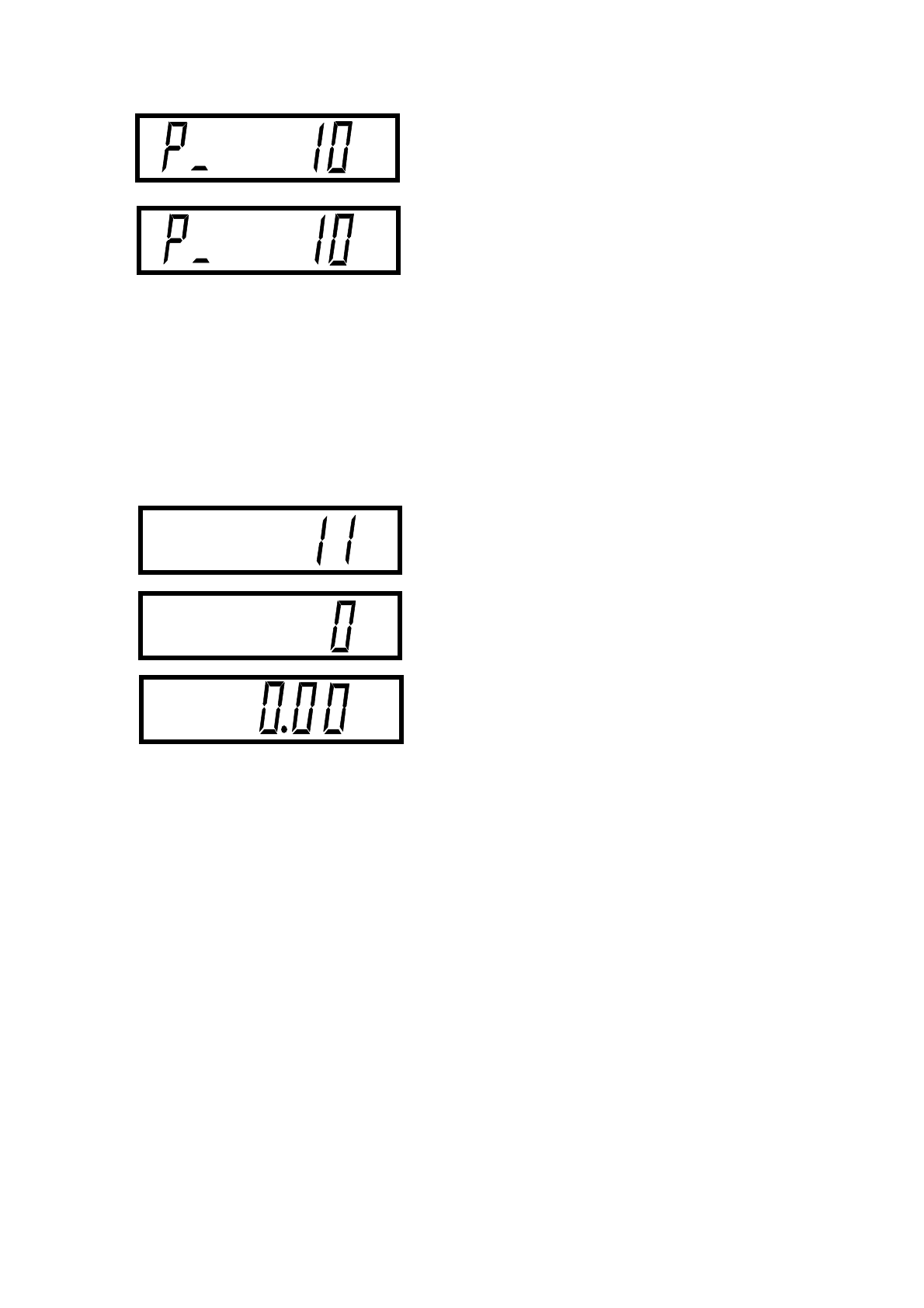
, 10.
Положите
на
платформу
количество
изделий
(
пробу
),
установленное
при
выполнении
предыдущего
действия
.
Нажмите
клавишу
TARE.
Далее
возможна
двоякая
ситуация
:
либо
проба
оказалась
меньше
мини
-
мально
-
допустимой
массы
пробы
,
либо
масса
пробы
измерена
успешно
.
В
пер
-
вом
случае
на
дисплее
кратковренно
высветится
<Err>,
также
будет
слышен
зву
-
ковой
сигнал
.
Если
это
произошло
,
следует
вернуться
к
третьему
действию
это
-
го
раздела
с
целью
установки
большего
объема
пробы
.
Во
втором
случае
можно
переходить
к
этапу
определения
количества
изделий
:
можно
накладывать
на
платформу
любое
количество
изделий
и
получать
их
количество
на
дисплее
ве
-
сов
.
Далее
описан
пример
определения
количества
изделий
.
Положите
на
платформу
заведомо
неизвестное
количество
изделий
.
На
дисплее
высветится
искомое
количество
,
например
11.
Снимите
с
платформы
все
изделия
.
Для
возврата
в
режим
простого
взвешивания
нажмите
клавишу
MODE.
8.
ТЕХНИЧЕСКОЕ
ОБСЛУЖИВАНИЕ
Осмотры
и
все
виды
ремонтов
выполняются
изготовителем
или
специа
-
лизированнным
предприятием
,
имеющим
с
изготовителем
договор
.
При
эксплуатации
весов
требуется
проводить
ежедневное
(
межосмотро
-
вое
)
обслуживание
весов
:
протирка
платформы
,
корпуса
весов
и
индикатора
су
-
хой
тканью
.
После
настройки
или
ремонта
весов
,
связанных
со
снятием
пломбы
,
весы
должны
быть
предъявлены
представителю
Госстандарта
для
поверки
.
