Весы Cas CI-6000A1 - инструкция пользователя по применению, эксплуатации и установке на русском языке. Мы надеемся, она поможет вам решить возникшие у вас вопросы при эксплуатации техники.
Если остались вопросы, задайте их в комментариях после инструкции.
"Загружаем инструкцию", означает, что нужно подождать пока файл загрузится и можно будет его читать онлайн. Некоторые инструкции очень большие и время их появления зависит от вашей скорости интернета.

15
7.
ПОДКЛЮЧЕНИЕ
ТЕНЗОДАТЧИКОВ
Назначение
контактов
разъема
тензодатчика
и
схема
подключения
тензодатчика
для
общего
случая
(
допускается
подключать
несколько
тензодатчиков
при
использовании
специальной
соединительной
коробки
)
приведены
на
рисунке
6.1,
а
их
описание
в
таблице
6.1.
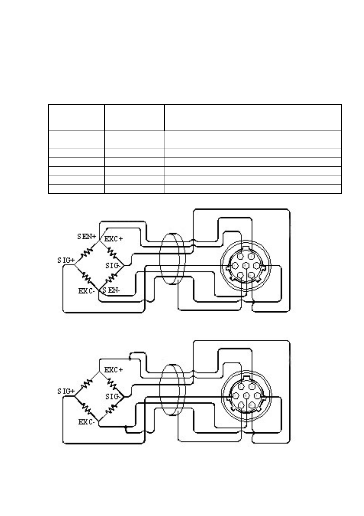
Таблица
6.1 –
Назначение
контактов
разъема
тензодатчика
Обозначение
на
схеме
тен
-
зодатчика
Номер
контакта
на
разъеме
ин
-
дикатора
Назначение
«EX+»
1
Напряжение
питания
тензометрического
моста
(+)
«SEN+»
2
По
дополнительному
заказу
«EX-»
3
Напряжение
питания
тензометрического
моста
(-)
«SEN-»
4
По
дополнительному
заказу
«SIG+»
5
Напряжение
выхода
тензометрического
моста
(+)
«SIG-»
6
Напряжение
выхода
тензометрического
моста
(-)
-
7
Экранирование
Рисунок
6.1
Схемы
подключения
тензодатчика
Разъем
тензодат
-
чика
на
индикаторе
Тензодатчик
в
общем
случае
при
6-
ти
проводной
схеме
Тензодатчик
в
общем
случае
при
4-
х
проводной
схеме
