Весы Cas CI-5200A - инструкция пользователя по применению, эксплуатации и установке на русском языке. Мы надеемся, она поможет вам решить возникшие у вас вопросы при эксплуатации техники.
Если остались вопросы, задайте их в комментариях после инструкции.
"Загружаем инструкцию", означает, что нужно подождать пока файл загрузится и можно будет его читать онлайн. Некоторые инструкции очень большие и время их появления зависит от вашей скорости интернета.

34
S
. 10
S
,
«2».
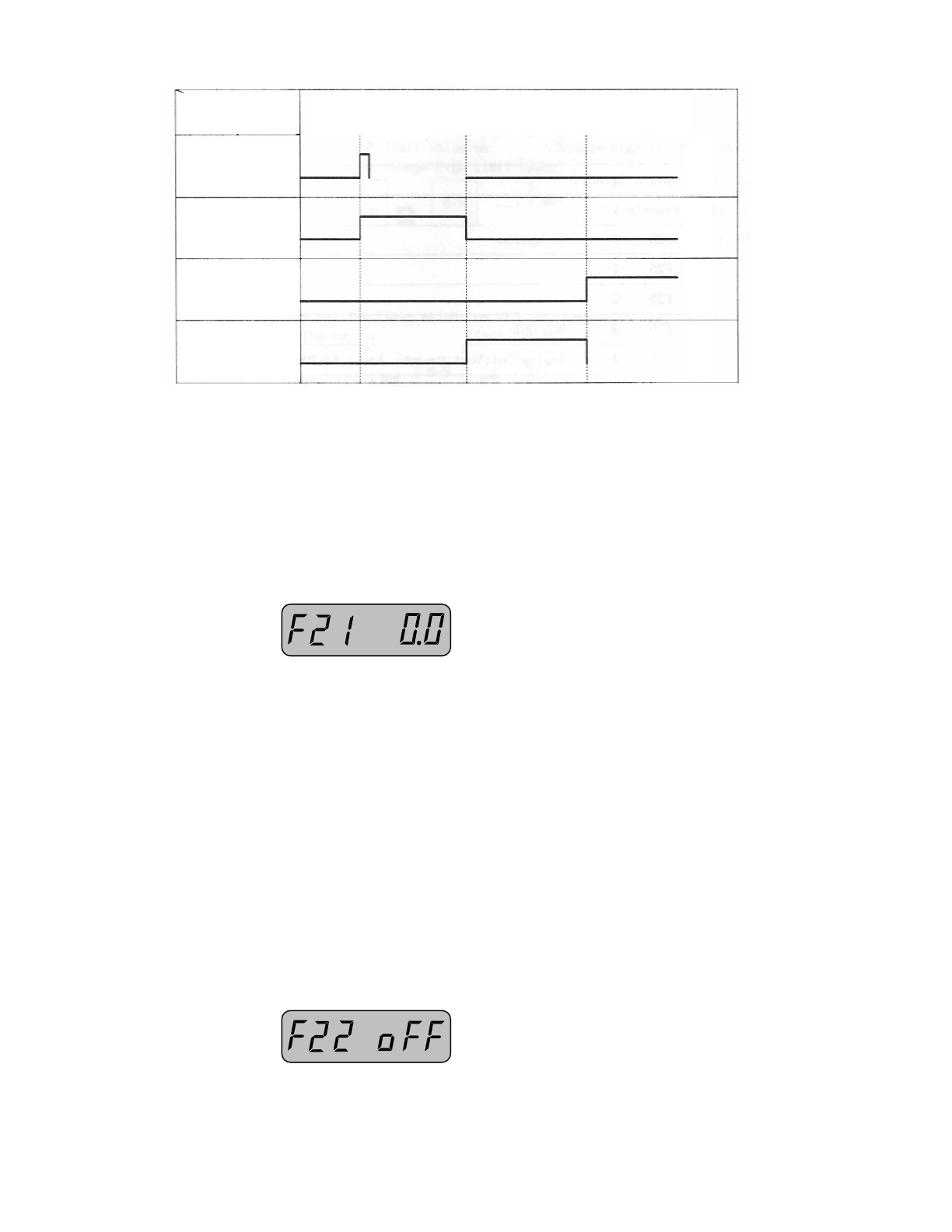
10.2.18.
!
! 3
R
1
,
/
2 1
,
!
.
I
Z
(
).
I
-
,
«0.0».
G !
:
,
/
.
:
/
,
.
R
!
!
1
,
-
SET
.
R
!
!
1
,
-
CLR
.
10.2.19.
$
%
«
»
R
«
/
»
-
/
2 2
,
!
-
.
I
Z 0
0
«
/
»:
«oFF»
«on».
;
«oFF»
«
/
»
/
,
!
!
1
,
«on» -
!
0.1%
I;
.
I
,
«oFF».
G !
:
R
1
/
1
.
R
!
!
1
,
SET
.
Smqm
I3qr
ILXILo
;SmRmq
mS[ILo
;SmRmq
YQ mS™Qš
-
nLo
;SmRmq
W
: 0
50
!
100
!
(
0
) (
0
)