Вентиляторы Scarlett SC-SF111RC03 - инструкция пользователя по применению, эксплуатации и установке на русском языке. Мы надеемся, она поможет вам решить возникшие у вас вопросы при эксплуатации техники.
Если остались вопросы, задайте их в комментариях после инструкции.
"Загружаем инструкцию", означает, что нужно подождать пока файл загрузится и можно будет его читать онлайн. Некоторые инструкции очень большие и время их появления зависит от вашей скорости интернета.

IM019
www.scarlett.ru
2 SC-SF111RC03
RUS
УСТРОЙСТВО ИЗДЕЛИЯ UA ОПИС
KZ
СИПАТТАМА
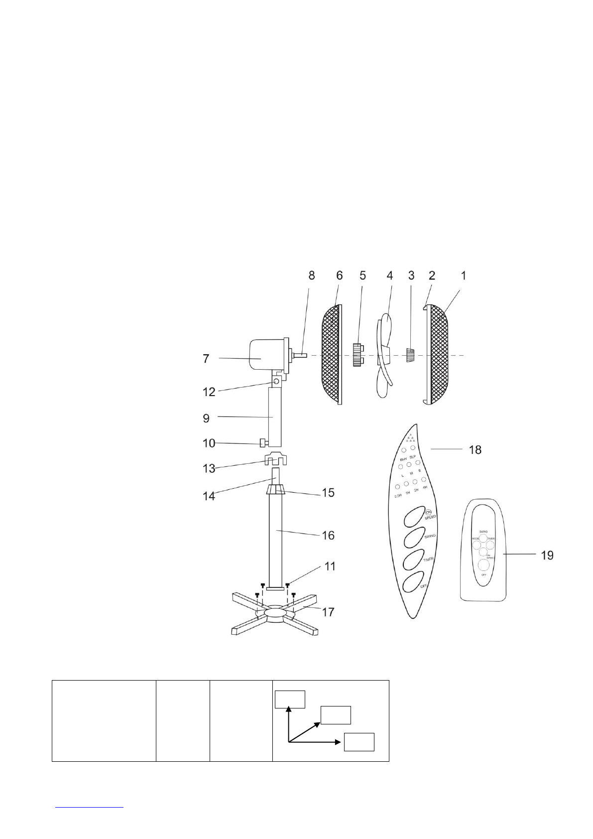
1.
Передняя защитная сетка
2.
Фиксаторы сетки
3.
Гайка крепления лопастей
4.
Лопасти
5.
Гайка крепления задней сетки
6.
Задняя защитная сетка
7.
Электродвигатель
8.
Вал
9.
Блок управления
10.
Винт B
11.
Винты
12.
Винт регулировки наклона
13.
Декоративная накладка
14.
Выдвижная штанга
15.
Зажим стойки
16.
Стойка
17.
База
18.
Панель управления
19.
Пульт управления
1.
Передня захисна сітка
2.
Фіксатори сітки
3.
Гайка кріплення лопат
4.
Лопати
5.
Гайка кріплення задньої сітки
6.
Задня захисна сітки
7.
Електродвигун
8.
Вал
9.
Блок керування
10.
Гвинт B
11.
Гвинти
12.
Гвинт регулювання нахилу
13.
Декоративна накладка
14.
Висувна штанга
15.
Затискач стійки
16.
Стійка
17.
База
18.
Панель керування
19.
Пульт керування
1.
Алдыңғы қорғау шілтері
2.
Шілтерлі бекіткіші
3.
Қалақтардың бекіту гайкасы
4.
Қалақтар
5.
Артқы шілтерінің бекіту гайкасы
6.
Артқы қорғау шілтері
7.
Электр қозғалтқышы
8.
Білік
9.
Басқару блогы
10.
B бұрандасы
11.
Бұранда
12.
Ылдиды реттеу бұрандасы
13.
Сәндік бастырма
14.
Суырма штангасы
15.
Тірек қысқашы
16.
Тірек
17.
Негіз
18.
Басқару ноқаты
19.
Басқару пульті
GB DESKRIPTION
1. Front grille
2. Front grille clips
3. Blade cap
4. Blades
5. Rear grille nut
6. Rear grille
7. Motor
8. Motor shaft
9. Control box
10. Screw B
11. Screws
12. Vertical adjustment screw
13. Stand cover
14. Extension pole
15. Out-joint
16. Stand tube
17. Stand base
18. Switch mode panel
19. Remote controller
220-240 V ~ 50 Hz
Класс защиты II
45 W
3 / 3.3 kg
mm
1300
435
435












