Варочная панель Zigmund & Shtain M 26.3 B - инструкция пользователя по применению, эксплуатации и установке на русском языке. Мы надеемся, она поможет вам решить возникшие у вас вопросы при эксплуатации техники.
Если остались вопросы, задайте их в комментариях после инструкции.
"Загружаем инструкцию", означает, что нужно подождать пока файл загрузится и можно будет его читать онлайн. Некоторые инструкции очень большие и время их появления зависит от вашей скорости интернета.

природном газе.
Неправильная установка варочной панели неквалифицированным лицом приведет к
аннулированию гарантийных обязательств по изделию.
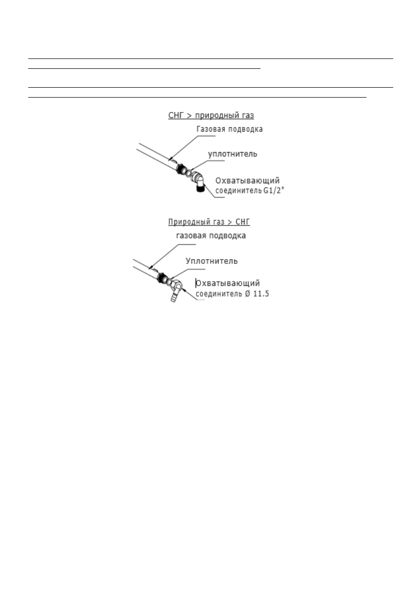
Все работы по переналадке на другой тип газа (сжиженный углеводородный или
природный газ) должны проводиться только квалифицированным специалистом.
ПОДКЛЮЧЕНИЕ К СЕТИ ЭЛЕКТРОПИТАНИЯ
Данный прибор должен быть заземлен.
Данный прибор предназначен для подключения к сети питания переменного тока 220–
240 Вт, 50–60 Гц.
Проводники кабеля питания имеют следующую цветовую маркировку:
Желто-зеленый = ЗЕМЛЯ
Синий = НЕЙТРАЛЬ
Коричневый = ПОД НАПРЯЖЕНИЕМ
Необходимо выполнить!
Проводник желто-зеленого цвета должен быть подсоединен к клемме (зажиму),
обозначенной буквой Е или символом заземления.
РЕГУЛИРОВКА ПОДАЧИ ГАЗА
Осторожно!
Характеристики
Остались вопросы?Не нашли свой ответ в руководстве или возникли другие проблемы? Задайте свой вопрос в форме ниже с подробным описанием вашей ситуации, чтобы другие люди и специалисты смогли дать на него ответ. Если вы знаете как решить проблему другого человека, пожалуйста, подскажите ему :)