Варочная панель Zigmund Shtain CIS 018.40 SX - инструкция пользователя по применению, эксплуатации и установке на русском языке. Мы надеемся, она поможет вам решить возникшие у вас вопросы при эксплуатации техники.
Если остались вопросы, задайте их в комментариях после инструкции.
"Загружаем инструкцию", означает, что нужно подождать пока файл загрузится и можно будет его читать онлайн. Некоторые инструкции очень большие и время их появления зависит от вашей скорости интернета.

5
ОПИСАНИЕ ПРИБОРА
Технические характеристики
Модель
Общая мощность
Расположение конфорок
CIS 018.40 SX
2800
Вт
2
конфорки (Ø145 мм)
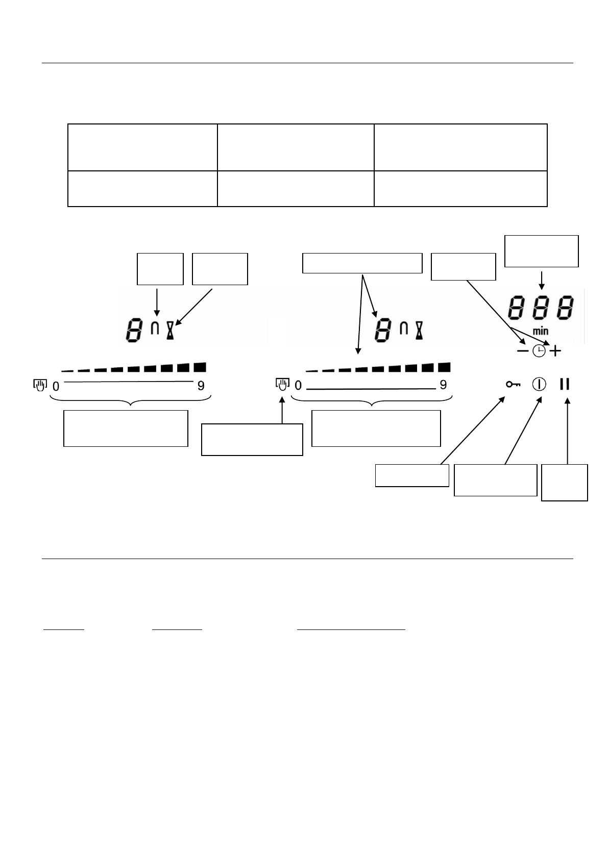
Панель управления
ЭКСПЛУАТАЦИЯ ОБОРУДОВАНИЯ
Дисплей
Символ
Значение
Функция/Сообщение
0
Нуль
Включение конфорки.
1…9
Уровень мощности Задание уровня нагрева конфорки.
E
Сообщение об ошибке
Неисправность электронной аппаратуры.
C
Функция очистки
Активация функции очистки.
H
Остаточное тепло
Конфорка горячая.
II
Пауза
Переход в режим паузы.
Шкала-ползунок ("слайдер")
установки мощности (задние
конфорки)
Шкала-ползунок ("слайдер")
установки мощности (передние
конфорки)
Вкл. функцию
очистки
Кнопка
"
Вкл./Выкл."
Блокировка
Дисплей
(таймер)
Кнопка
"Пауза/Воз
врат"
Дисплей
("мост")
Дисплей
(таймер)
Дисплей (мощность)
Управление
(таймер)
Характеристики
Остались вопросы?Не нашли свой ответ в руководстве или возникли другие проблемы? Задайте свой вопрос в форме ниже с подробным описанием вашей ситуации, чтобы другие люди и специалисты смогли дать на него ответ. Если вы знаете как решить проблему другого человека, пожалуйста, подскажите ему :)