Варочная панель WEISSGAUFF HVF 642 BS - инструкция пользователя по применению, эксплуатации и установке на русском языке. Мы надеемся, она поможет вам решить возникшие у вас вопросы при эксплуатации техники.
Если остались вопросы, задайте их в комментариях после инструкции.
"Загружаем инструкцию", означает, что нужно подождать пока файл загрузится и можно будет его читать онлайн. Некоторые инструкции очень большие и время их появления зависит от вашей скорости интернета.

12
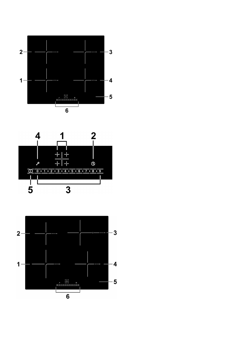
Модель HI 640 BS/HI 640 GS
1. Индукционная зона нагрева,
макс. 2000 Вт
2. Индукционная зона нагрева,
макс. 1500 Вт
3. Индукционная зона нагрева,
макс. 2000 Вт
4. Индукционная зона нагрева,
макс. 1500 Вт
5. Стеклянная панель
6. Панель управления
1. Кнопки выбора варочной зоны
2. Таймер
3. Кнопки регулировки мощности /
времени
4. Кнопка блокировки
5. Кнопка включения/
выключения
Модель HI 641 BS
/ HI 641 GS
1. Индукционная зона нагрева, макс.
2000 Вт
2. Индукционная зона нагрева, макс.
1500 Вт
3. Индукционная зона нагрева, макс.
2000 Вт
4. Индукционная зона нагрева, макс.
1500 Вт
5. Стеклянная панель
6. Панель управления
Содержание
- 2 ОСНОВНЫЕ ПОТРЕБИТЕЛЬСКИЕ СВОЙСТВА И ХАРАКТЕРИСТИКИ
- 5 Не допускайте детей к прибору без присмотра взрослых.; Опасность получения порезов; Запрещается использовать прибор для обогрева помещения.
- 10 Использование сенсорной панели управления; Касайтесь элементов управления подушечкой пальца, а не кончиком.
- 11 Поздравляем Вас; с приобретением новой стеклокерамической; Описание прибора; Модель HI 32 B; Кнопки выбора варочной
- 13 Кнопка Power Boost
- 15 зоны
- 16 Кнопка включения двойной зоны
- 17 Информация о приборе; мощности; Перед использованием новой варочной панели
- 19 Для моделей без слайдера:; Выберите
- 20 Для моделей со слайдером:; Проведите вдоль слайдера.; Для моделей с зонами расширения:; коснитесь кнопки управления; Окончание приготовления
- 22 Функция Power Boost; Все зоны варочной панели могут работать с функцией Power Boost.
- 23 Flex зона; Чтобы активировать Flex зону как единую зону, коснитесь
- 24 Как 2 отдельные зоны:; Блокировка панели управления; Включение блокировки; Защита от перегрева
- 25 Автоматическое отключение; Степень нагрева; Использование таймера; Таймер можно использовать двумя разными способами:; Использование таймера в функции напоминания
- 26 Настройка таймера на отключение одной зоны нагрева; Коснитесь кнопки выбора зоны нагрева
- 28 Руководство по приготовлению; Когда блюдо начнет кипеть, уменьшите степень нагрева.
- 29 Чтобы приготовить сочный, ароматный стейк:; Быстрое обжаривание при постоянном помешивании; Выберите подходящую керамическую сковороду «вок» или большую
- 30 Настройка температуры; Назначение
- 31 Чистка и уход; Загрязнение
- 32 Устранение неисправностей; Неисправности Возможные причины
- 33 Варочная зона; Возможные причины
- 34 Установка; Выбор места установки
- 35 Перед установкой варочной панели убедитесь, что:
- 36 Рабочая поверхность изготовлена из термостойкого материала; После установки варочной панели убедитесь, что:; Кабель питания не проходит через дверцы шкафа или ящики; Перед размещением крепежных скоб
- 38 Подключение варочной панели к электросети; Перед подключением варочной панели к электросети убедитесь, что:
- 39 ООО «ГАУФ РУС»
- 40 На прибор предоставляется 1 год гарантийного обслуживания.