Варочная панель WEISSGAUFF HV 643 BSX - инструкция пользователя по применению, эксплуатации и установке на русском языке. Мы надеемся, она поможет вам решить возникшие у вас вопросы при эксплуатации техники.
Если остались вопросы, задайте их в комментариях после инструкции.
"Загружаем инструкцию", означает, что нужно подождать пока файл загрузится и можно будет его читать онлайн. Некоторые инструкции очень большие и время их появления зависит от вашей скорости интернета.

11
Описание прибора
Вид сверху (схематично)
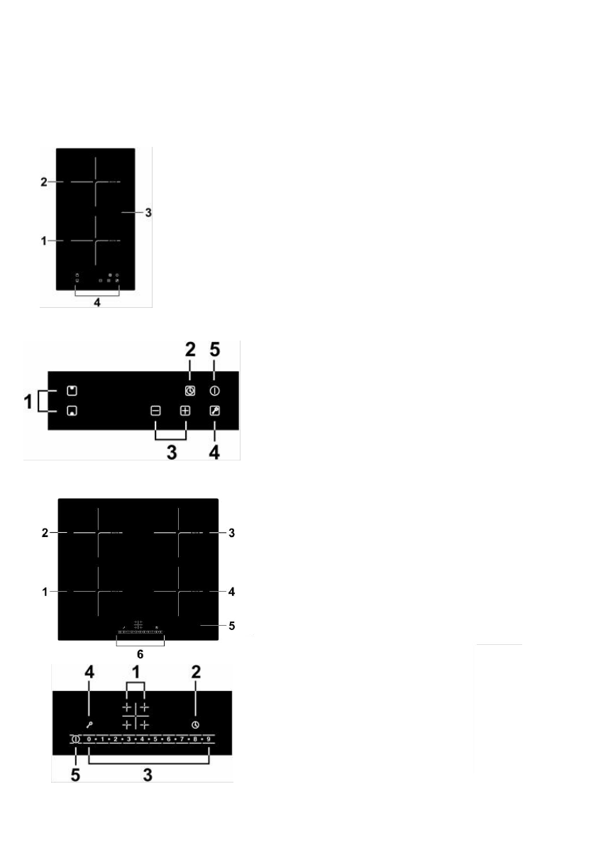
Модель HI 32 B
Панель управления
1. Индукционная зона нагрева, макс. 1500 Вт
2. Индукционная зона нагрева, макс. 2000 Вт
3. Стеклянная панель
4. Панель управления
Модель HI 640 BS/HI 640 GS/HI 640 WS
1.
K
нопки
выбора
варочной
зоны
2.
Таймер
K
нопки
регулировки
мощности
/времени
K
нопка
блокировки
K
нопка
включения
/
выключения
1.
K
нопки
выбора
варочной
зоны
2. Таймер
3.
K
нопки
регулировки
мощности
/
времени
4.
K
нопка
блокировки
5.
K
нопка
включения/
выключения
1. Индукционная зона нагрева, макс. 2000 Вт
2.
Индукционная
зона
нагрева,
макс.
1500
Вт
3.
Индукционная
зона
нагрева,
макс.
2000
Вт
4.
Индукционная
зона
нагрева,
макс.
1500
Вт
5.
Стеклянная
панель
6.
Панель
управления
4.
5.
6.
3.
Содержание
- 5 Опасность получения порезов; Запрещается использовать прибор для обогрева помещения.
- 9 Использование сенсорной панели управления
- 10 Поздравляем Вас; с приобретением новой стеклокерамической варочной панели!
- 11 Описание прибора; Модель HI 32 B; Панель управления
- 17 Вт
- 22 Для моделей без слайдера:; Выберите степень нагрева,
- 23 Окончание приготовления
- 24 Функция Power Boost; наиболее
- 25 соответствующий; Flex зона
- 26 В некоторых моделях кнопка активации Flex-зоны объединена с; Как; Для моделей; Функция; блюд на
- 27 прекратит работу в режиме Power Boost; Функция подогрева
- 28 Блокировка панели управления
- 29 Включение блокировки; оснитесь; Отключение блокировки; Теперь Вы можете начать пользоваться варочной панелью.; Защита от перегрева; Степень нагрева; Использование таймера; Таймер можно использовать двумя разными способами:
- 30 Использование таймера в функции напоминания
- 31 Настройка таймера на отключение одной зоны нагрева
- 32 Настройка таймера на отключение нескольких зон нагрева
- 33 Томление, приготовление риса
- 34 Быстрое обжаривание при постоянном помешивании; Настройка температуры; Назначение
- 35 Чистка и уход; Загрязнение
- 36 Устранение неисправностей; Неисправности
- 37 Ошибки и их устранение для индукционных панелей; Варочная зона; Возможные причины
- 38 Установка панели
- 40 Перед установкой варочной панели убедитесь, что:; Рабочая поверхность изготовлена из термостойкого материала
- 41 электроэнергии для получения дополнительных сведений.
- 42 Подключение варочной панели к электросети
- 45 На прибор предоставляется 1 год гарантийного обслуживания.