Варочная панель WEISSGAUFF HV 430 BS - инструкция пользователя по применению, эксплуатации и установке на русском языке. Мы надеемся, она поможет вам решить возникшие у вас вопросы при эксплуатации техники.
Если остались вопросы, задайте их в комментариях после инструкции.
"Загружаем инструкцию", означает, что нужно подождать пока файл загрузится и можно будет его читать онлайн. Некоторые инструкции очень большие и время их появления зависит от вашей скорости интернета.

12
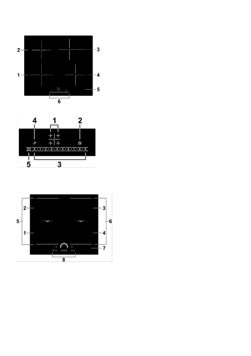
Модель HI 641 BS / HI 641 GS
Панель управления
Модель HI 642 BFZ/HI 642 WFZ
1. Индукционная зона нагрева, макс. 2000 Вт
2. Индукционная зона нагрева, макс. 1500 Вт
3. Индукционная зона нагрева, макс. 2000 Вт
4. Индукционная зона нагрева, макс. 1500 Вт
5. Стеклянная панель
6. Панель управления
1. нопки выбора варочной зоны
2.
Таймер
3. нопки регулировки мощности /
времени
4. нопка блокировки
5. нопка включения / выключения
1. Индукционная зона нагрева, макс. 2000 Вт,
Power Boost макс 2600 Вт
2. Индукционная зона нагрева, макс. 1500 Вт,
Power Boost макс 2000 Вт
3. Индукционная зона нагрева, макс. 2000 Вт,
Power Boost макс 2600 Вт
4. Индукционная зона нагрева, макс. 1500 Вт,
Power Boost макс 2000 Вт
5,6. Границы Flex зоны. Макс. мощность Flex
зоны 2600 Вт, Power Boost макс 3000 Вт
7. Стеклянная панель
8. Панель управления
Характеристики
Остались вопросы?Не нашли свой ответ в руководстве или возникли другие проблемы? Задайте свой вопрос в форме ниже с подробным описанием вашей ситуации, чтобы другие люди и специалисты смогли дать на него ответ. Если вы знаете как решить проблему другого человека, пожалуйста, подскажите ему :)