Варочная панель WEISSGAUFF HV 320 B - инструкция пользователя по применению, эксплуатации и установке на русском языке. Мы надеемся, она поможет вам решить возникшие у вас вопросы при эксплуатации техники.
Если остались вопросы, задайте их в комментариях после инструкции.
"Загружаем инструкцию", означает, что нужно подождать пока файл загрузится и можно будет его читать онлайн. Некоторые инструкции очень большие и время их появления зависит от вашей скорости интернета.

12
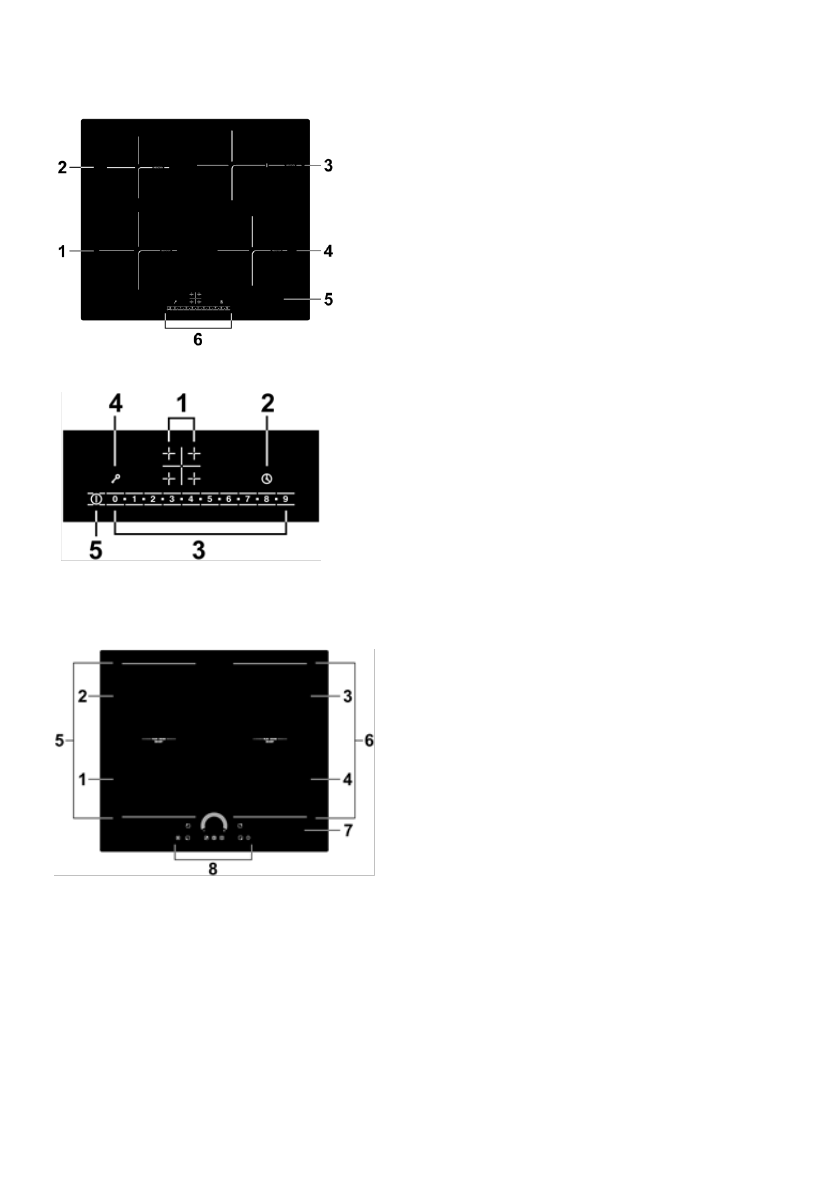
Модель HI 641 BS / HI 641 GS
Панель управления
Модель HI 642 BFZ/HI 642 WFZ
1. Индукционная зона нагрева, макс. 2000 Вт
2. Индукционная зона нагрева, макс. 1500 Вт
3. Индукционная зона нагрева, макс. 2000 Вт
4. Индукционная зона нагрева, макс. 1500 Вт
5. Стеклянная панель
6. Панель управления
1. нопки выбора варочной зоны
2.
Таймер
3. нопки регулировки мощности /
времени
4. нопка блокировки
5. нопка включения / выключения
1. Индукционная зона нагрева, макс. 2000 Вт,
Power Boost макс 2600 Вт
2. Индукционная зона нагрева, макс. 1500 Вт,
Power Boost макс 2000 Вт
3. Индукционная зона нагрева, макс. 2000 Вт,
Power Boost макс 2600 Вт
4. Индукционная зона нагрева, макс. 1500 Вт,
Power Boost макс 2000 Вт
5,6. Границы Flex зоны. Макс. мощность Flex
зоны 2600 Вт, Power Boost макс 3000 Вт
7. Стеклянная панель
8. Панель управления
Содержание
- 2 характеристики модели.
- 5 Опасность получения порезов
- 10 Использование сенсорной панели управления; асайтесь элементов управления подушечкой пальца, а не кончиком.; Поздравляем Вас; с приобретением новой стеклокерамической варочной панели!
- 11 Описание прибора; Панель управления; нопки выбора варочной зоны
- 14 нопка функции Барбекю
- 16 нопки выбора варочной зоны
- 17 Вт; Индикаторы выбора варочной зоны
- 21 . На всех индикаторах
- 22 Для моделей без слайдера:; Выберите степень нагрева,; Для моделей со слайдером:; Проведите вдоль слайдера.; Для моделей с зонами расширения:; коснитесь кнопки управления зоной расширения,
- 23 Окончание приготовления; Для моделей без слайдера:; Выключите зону нагрева касанием символа «-» и проведите
- 24 Функция Power Boost; наиболее
- 25 вернется к предыдущей настройке мощности.; Flex зона; с Вашими потребностями.
- 26 Как 2 отдельные зоны:; Функция подогрева
- 28 Блокировка панели управления; Включение блокировки; оснитесь кнопки; Отключение блокировки; Теперь Вы можете начать пользоваться варочной панелью.; Защита от перегрева
- 29 Степень нагрева; Таймер можно использовать двумя разными способами:; Использование таймера в функции напоминания; оснитесь кнопки таймера, и на индикаторе
- 30 Настройка таймера на отключение одной зоны нагрева; оснитесь кнопки выбора зоны нагрева
- 31 Настройка таймера на отключение нескольких зон нагрева
- 32 огда блюдо начнет кипеть, уменьшите степень нагрева.; Томление, приготовление риса
- 33 образом за рекомендованное время.; Подрумяненный стейк; Чтобы приготовить сочный, ароматный стейк:; Быстрое обжаривание при постоянном помешивании; Сразу же подавайте блюдо.; Настройка температуры
- 34 Чистка и уход
- 35 Устранение неисправностей; Неисправности
- 36 Ошибки и их устранение для индукционных панелей; Код
- 37 Установка панели
- 41 Подключение варочной панели к электросети