Варочная панель MBS PG-607 - инструкция пользователя по применению, эксплуатации и установке на русском языке. Мы надеемся, она поможет вам решить возникшие у вас вопросы при эксплуатации техники.
Если остались вопросы, задайте их в комментариях после инструкции.
"Загружаем инструкцию", означает, что нужно подождать пока файл загрузится и можно будет его читать онлайн. Некоторые инструкции очень большие и время их появления зависит от вашей скорости интернета.

37
KZ
ȻԦɅȱɆ
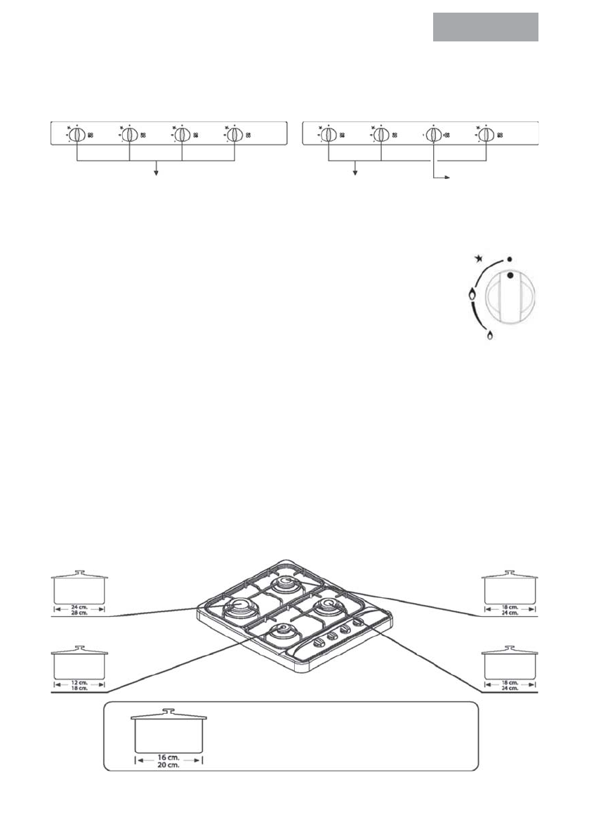
Ȼɚɫԕɚɪɭɩɚɧɟɥɿɦɟɧɬɚɧɵɫɬɵɪɭɠԥɧɟɞɭɯɨɜɤɚɧɵɩɚɣɞɚɥɚɧɭ
Ƚɚɡɞɵԙɠɚɧɭɵɧɪɟɬɬɟɝɿɲɬɟɪ
Ƚɚɡɞɵԙ ɠɚɧɭɵɧ ɪɟɬɬɟɝɿɲɬɟɪ ԕɚɭɿɩɫɿɡɞɿɤɬɿԙ ɚɪɧɚɣɵ ԕԝɪɵɥԑɵɫɵɦɟɧ
ɠɚɛɞɵԕɬɚɥԑɚɧ Ƚɚɡɞɵԙ ɚԑɵɧɵɧ ɚɲɭ ԛɲɿɧ ɪɟɬɬɟɝɿɲɬɿ ɫԥɥ ɛɚɫɵɩ ɠԥɧɟ
ɫɨɥԑɚ ɛԝɪɚɭ ԕɚɠɟɬ Ƚɚɡ ɩɥɢɬɚɥɚɪɵɧ ɚɫɚ ɬɢɿɦɞɿ ɩɚɣɞɚɥɚɧɭ ԛɲɿɧ ɨɧɵԙ
ԛɫɬɿɧɟ ɨɪɧɚɬɵɥɚɬɵɧ ɵɞɵɫɬɚɪɞɵԙ ԧɥɲɟɦɿɧɟ ɧɚɡɚɪ ɚɭɞɚɪɵԙɵɡ Ɉɥ
ԛɲɿɧɬԧɦɟɧɞɟɝɿɫɭɪɟɬɬɿɩɚɣɞɚɥɚɧɵԙɵɡ
Ɍԝɬɚɬɭɠԛɣɟɫɿ
ɋɿɡɞɿԙ ɩɥɢɬɚԙɵɡɞɵԙ ԛɥɝɿɫɿɧɟ ɛɚɣɥɚɧɵɫɬɵ ɬԝɬɚɬɭɞɵԙ ɟɤɿ ɠԛɣɟɫɿ ɛɚɪ ȿɝɟɪ ɫɿɡɞɿԙ ԛɥɝɿԙɿɡɞɟ
ɬԝɬɚɬɭ ɫɵɪɬԕɵ ɛɚɬɵɪɦɚɧɵԙ ɤԧɦɟɝɿɦɟɧ ɠԛɡɟɝɟ ɚɫɵɪɵɥԑɚɧ ɠɚԑɞɚɣɞɚ ɫɿɡ ɬԝɬɚɬԕɵԙɵɡ ɤɟɥɝɟɧ
ɤɨɧɮɨɪɤɚɧɵԙɪɟɬɬɟɝɿɲɿɧɟɫԥɥɛɚɫɵɩɝɚɡɞɵԙɚԑɵɧɵɧɚɲɭԛɲɿɧɫɚԑɚɬɬɿɥɿɧɟԕɚɪɫɵɫɨɥɠɚԕԕɚ
ɛԝɪɚԙɵɡ Ȼɿɪɞɟɧ ɨɫɵɞɚɧ ɤɟɣɿɧ ɬԝɬɚɬɭ ɛɚɬɵɪɦɚɫɵɧɚ ɛɚɫɵԙɵɡ ɠԥɧɟ ɨɥ ɬԝɬɚɧɛɚԑɚɧɲɚ ɨɧɵ
ɛɚɫɭɥɵ ɤԛɣɿɧɞɟ ԝɫɬɚԙɵɡ Ȼԝɞɚɧ ɤɟɣɿɧ ɬԝɬɚɬɭ ɛɚɬɵɪɦɚɫɵɧ ɛɨɫɚɬɵԙɵɡ Ɉɫɵ ɩɪɨɰɟɞɭɪɚɧɵ
ɤɨɧɮɨɪɤɚɧɵԙ ԥɪɛɿɪ ɪɟɬ ɬԝɬɚɬԕɚɧ ɫɚɣɵɧ ԕɚɣɬɚɥɚɩ ɨɬɵɪɭ ԕɚɠɟɬ ȿɝɟɪ ɫɿɡɞɿԙ ԛɥɝɿԙɿɡɞɟ ɬԝɬɚɬɭ
ɝɚɡɞɵɪɟɬɬɟɩɨɬɵɪɵɩɨɬɬɵԕɩɟɧɠԛɡɟɝɟɚɫɵɪɵɥɫɚɠɨԑɚɪɵɞɚԑɵɫɭɪɟɬɬɟɤԧɪɫɟɬɿɥɝɟɧɫɢɹԕɬɵ
ɝɚɡɞɵ ɪɟɬɬɟɝɿɲɤɟ ɫԥɥ ɛɚɫɵԙɵɡ ɠԥɧɟ ɨɧɵ ɬԝɬɚɬɭ ɛɟɥɝɿɫɿɧɟ ɞɟɣɿɧ ɠɨԑɚɪɵ ɛԝɪɚԙɵɡ ɬԝɬɚɬɭ
ɠԝɦɵɫ ɿɫɬɟɣɞɿ Ɍԝɬɚɬɭ ɠԝɦɵɫ ɿɫɬɟɝɟɧ ɤɟɡɞɟ ɫɨɧɞɚɣɚԕ ɝɚɡ ɚԑɵɧɵ ɞɚ ɚɲɵɥɚɞɵ Ⱥɥɚɭ ɩɚɣɞɚ
ɛɨɥԑɚɧɧɚɧ ɤɟɣɿɧ ɚɥɚɭɞɵԙ ɦԧɥɲɟɪɿɧ ɚɧɵԕɬɚɭ ԛɲɿɧ ɪɟɬɬɟɝɿɲɬɿ ԛɥɤɟɧ ɧɟɦɟɫɟ ɤɿɲɿɝɿɪɿɦ ɚɥɚɭ
ɠɚԕԕɚ ɛԝɪɚԙɵɡ Ɉɬɬɵԕ ɬԝɬɚɬɭɞɵ ɬɨԕɬɚɬɚɞɵ ɠԥɧɟ ɚɥɚɭɞɵԙ ɠɚɧɭɵ ɠɚɥԑɚɫɚɞɵ ȿɝɟɪɞɟ ɚɥɚɭ
ɩɚɣɞɚɛɨɥɦɚԑɚɧɠɚԑɞɚɣɛɨɥɫɚɨɫɵɩɪɨɰɟɞɭɪɚɧɵɚɥɚɭɩɚɣɞɚɛɨɥԑɚɧԑɚɞɟɣɿɧɠɚɥԑɚɫɬɵɪɵԙɵɡ
Ƚɚɡɞɵԙɠɚɧɭɵɧ
ɪɟɬɬɟɝɿɲɬɟɪ
Ƚɚɡɞɵԙɠɚɧɭɵɧ
ɪɟɬɬɟɝɿɲɬɟɪ
ɗɥɟɤɬɪɥɿɤ
ɤɨɧɮɨɪɤɚɧɵ
ɪɟɬɬɟɝɿɲ
ɗɥɟɤɬɪɩɥɢɬɚɫɵɧɚɧɦɚɤɫɢɦɚɥɞɵɬɢɿɦɞɿɥɿɤɬɿ
ɚɥɭԛɲɿɧɞɢɚɦɟɬɪɿ±ɫɦɤԥɫɬɪԧɥɞɿ
ɩɚɣɞɚɥɚɧɭԝɫɵɧɵɥɚɞɵ
Характеристики
Остались вопросы?Не нашли свой ответ в руководстве или возникли другие проблемы? Задайте свой вопрос в форме ниже с подробным описанием вашей ситуации, чтобы другие люди и специалисты смогли дать на него ответ. Если вы знаете как решить проблему другого человека, пожалуйста, подскажите ему :)