Варочная панель Electronicsdeluxe 605304.00 - инструкция пользователя по применению, эксплуатации и установке на русском языке. Мы надеемся, она поможет вам решить возникшие у вас вопросы при эксплуатации техники.
Если остались вопросы, задайте их в комментариях после инструкции.
"Загружаем инструкцию", означает, что нужно подождать пока файл загрузится и можно будет его читать онлайн. Некоторые инструкции очень большие и время их появления зависит от вашей скорости интернета.

Выбор функции усиленного нагрева
«Бустер» (
Booster
)
Функция усиленного нагрева может быть
активирована для двух конфорок - ближней
левой и правой дальней.
После активации функции усиленного
нагрева мощность выбранной конфорки
увеличивается с 1,85 кВт до 2,1 кВт.
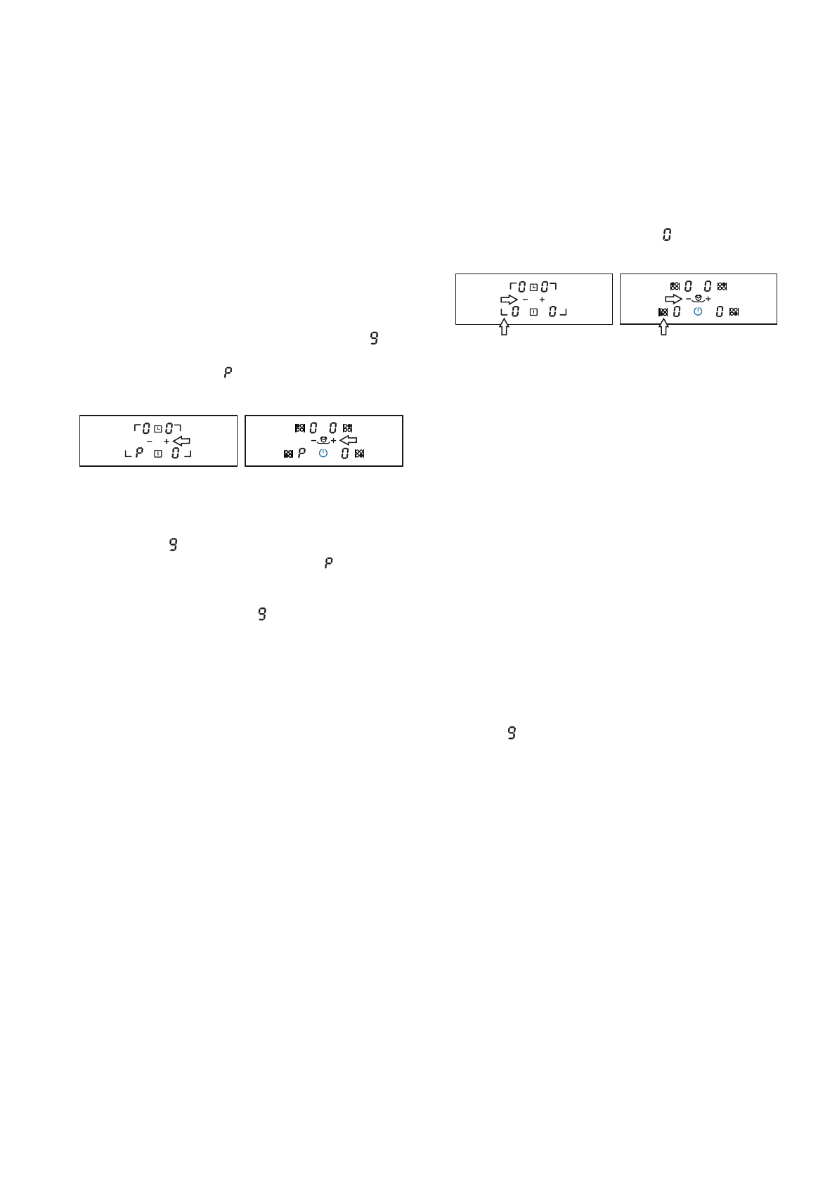
Чтобы включить функцию усиленного
нагрева, необходимо на выбранной кон-
форке установить уровень мощности « » и
нажать кнопку «+». На дисплее конфорки
загорится символ « », конфорка включится
на максимально возможную мощность.
Чтобы выключить усиленный нагрев,
необходимо нажать на кнопку «-»,
к о н ф о р к а п е р е к л ю ч и т с я н а у р о в е н ь
мощности « ».
В режиме усиленного нагрева « » конфор-
ка работает
5
мин, по истечении которых
произойдет автоматическое переключение
на уровень мощности « ».
Если температурные датчики внутри пли-
ты определят повышенную температуру
стеклокерамической поверхности или внут-
ренних компонентов плиты, то повторно вклю-
чить усиленный нагрев можно будет только
после снижения температуры.
Примечание
Не вся используемая посуда позволяет
получить наилучший уровень нагрева при
активации функции «Бустер». Это зависит
от магнитных свойств материалов, из кото-
рых состоит посуда, а так же от ее разме-
ра и дизайна.
Функция усиленного нагрева «Бустер»
ускоряет нагрев воды, поэтому следует
учитывать, что данный режим не подходит
для приготовления пищи без воды.
Необходимо так же учитывать, что при
включении функции усиленного нагрева
температура может ок азаться слишком
высокой для приготовления некоторой пищи.
Например, при нагревании масла при жарке
во фритюре, дно посуды может излишне
перегреться. Для достижения оптимальных
результатов пользователю рекомендуется
разогреть масло без использования
функции усиленного нагрева «Бустер».
Выключение конфорки
Для выключения работающей конфорки
нажмите на кнопку выбора данной кон-
форки, затем на кнопку «-» и установите уро-
вень мощности конфорки « ». Произойдет
отключение нагрева конфорки.
Автоматическое ограничение мощности
нагрева конфорок и отключение плиты.
В целях обеспечения безопасной эксплуа-
тации электроника плиты имеет автомати-
ческую защиту от перегрева.
В обычных условиях эксплуатации плита
охлаждается вентилятором, расположенным
внутри корпуса. Температура внутри плиты
может повышаться из-за высокой температу-
ры воздуха окружающей среды.
В случае повышения температуры внут-
ри плиты, выше предусмотренного уровня
в 85° C, происходит автоматическое огра-
ничение мощности конфорок.
Автоматическое отключение плиты при пе-
регреве происходит по достижении 130° C.
Независимо от температуры, мощность
также уменьшается после определенного вре-
мени приготовления, чтобы избежать превы-
шения допустимой рабочей температуры пли-
ты. Например, установленный уровень мощ-
ности « » уменьшается до 70% от выход-
ной мощности конфорки через 25 минут.
При этом плита эффективно расходует элек-
троэнергию, так как посуда уже разогрета и ра-
бота конфорки на максимальной мощности
не требуется.
Программное обеспечение плиты осуще-
ствляет автоматический контроль за време-
нем приготовления и отключает нагрев кон-
форок по достижении определенного време-
ни в зависимости от установленного уровня
мощности нагрева. Чем выше уровень мощ-
ности, тем меньше время работы.
В таблице приведено соотношение време-
ни работы конфорок до отключения к уста-
новленным уровням мощности нагрева.
8
332243.051-01
Характеристики
Остались вопросы?Не нашли свой ответ в руководстве или возникли другие проблемы? Задайте свой вопрос в форме ниже с подробным описанием вашей ситуации, чтобы другие люди и специалисты смогли дать на него ответ. Если вы знаете как решить проблему другого человека, пожалуйста, подскажите ему :)