Варочная панель Bertazzoni P905LHERAC - инструкция пользователя по применению, эксплуатации и установке на русском языке. Мы надеемся, она поможет вам решить возникшие у вас вопросы при эксплуатации техники.
Если остались вопросы, задайте их в комментариях после инструкции.
"Загружаем инструкцию", означает, что нужно подождать пока файл загрузится и можно будет его читать онлайн. Некоторые инструкции очень большие и время их появления зависит от вашей скорости интернета.

14
ΧΡΗΣΗ
ΚΑΥΣΤΗΡΕΣ ΚΑΙ ΣΧΑΡΕΣ
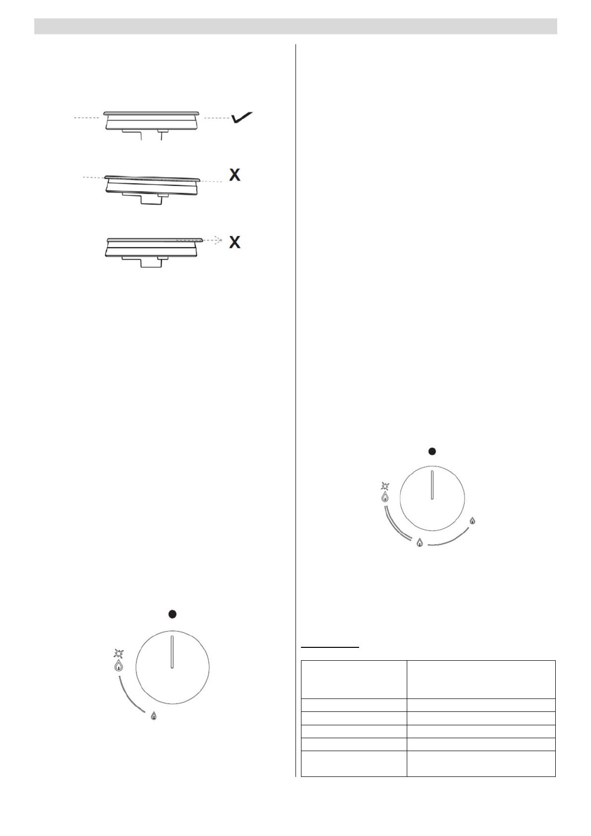
Οι διασπορείς φλόγας και τα καπάκια των
καυστήρων πρέπει να είναι σωστά τοποθετημένα
για να λειτουργήσει καταλλήλως η εστία.
Η λανθασμένη τοποθέτηση των διασπορέων
φλόγας και των καπακιών μπορούν να
προκαλέσουν βλάβη και διάβρωση στον καυστήρα.
Οι σχάρες πρέπει να είναι τοποθετημένες στις
ειδικές εσοχές τους επάνω στην εστία.
ΧΡΗΣΗ ΤΩΝ ΚΑΥΣΤΗΡΩΝ
Δίπλα σε κάθε κουμπί υπάρχει η ένδειξη που
υποδεικνύει σε ποιόν καυστήρα αντιστοιχεί.
Περιστρέψτε το κουμπί που αντιστοιχεί στον
επιλεγμένο καυστήρα αριστερόστροφα, στη θέση
MAXIMUM (μέγιστη φλόγα).
Πατήστε το κουμπί για να ξεκινήσει η ροή του αερίου
και ο αυτόματος σπινθηρισμός.
Όταν ο καυστήρας ανάψει, κρατήστε πατημένο το
κουμπί για περίπου δέκα δευτερόλεπτα και στη
συνέχεια απελευθερώστε.
Εάν ο καυστήρας σβήσει μετά την απελευθέρωση
του κομβίου επαναλάβετε ολόκληρη την
προηγούμενη διαδικασία.
Για να σβήσετε τον καυστήρα, περιστρέψτε το
κουμπί προς τα δεξιά στην θέση μηδέν (μαύρη
βούλα).
ΧΡΗΣΗ ΚΑΥΣTΗΡΩΝ ΔΙΠΛΗΣ ΕΝΕΡΓΕΙΑΣ
(όπου
υπάρχουν)
Οι καυστήρες διπλής ενέργειας έχουν μεγαλύτερη
ευελιξία, διότι είναι δυνατόν να ανάψουν και οι δύο
δακτύλιοι ή μόνο ο εσωτερικός δακτύλιος.
Περιστρέψτε το κουμπί που αντιστοιχεί στον
επιλεγμένο καυστήρα αριστερόστροφα, στη θέση
της μέγιστης φλόγας.
Πατήστε το κουμπί για να ξεκινήσει η ροή του αερίου
και ο αυτόματος σπινθηρισμός.
Όταν οι καυστήρες ανάψουν, κρατήστε πατημένο το
κουμπί για περίπου δέκα δευτερόλεπτα και στη
συνέχεια απελευθερώστε.
Εάν οι καυστήρες σβήσουν μετά την απελευθέρωση
του κομβίου επαναλάβετε ολόκληρη την
προηγούμενη διαδικασία.
Περιστρέφοντας τον διακόπτη από τη μέγιστη στη
μεσαία φλόγα ρυθμίζεται η ισχύς του εξωτερικού
δακτυλίου και ο εσωτερικός δακτύλιος βρίσκεται στη
μέγιστη ισχύ.
Ακριβώς στη θέση της μεσαίας φλόγας ο εξωτερικός
δακτύλιος βρίσκεται στο ελάχιστο και ο εσωτερικός
δακτύλιος στο μέγιστο.
Περιστρέφοντας τον διακόπτη από τη μεσαία προς
τη μικρή φλόγα, σβήνει ο εξωτερικός δακτύλιος και
ρυθμίζεται η ισχύς μόνο του εσωτερικού δακτυλίου.
Ακριβώς στην μικρή φλόγα ο εσωτερικός δακτύλιος
είναι στην ελάχιστη ισχύ φλόγας και ο εξωτερικός
είναι σβηστός.
Για να σβήσετε τον καυστήρα, περιστρέψτε το
κουμπί προς τα δεξιά στην θέση μηδέν (μαύρη
βούλα).
Συμβουλές για τη βέλτιστη χρήση του καυστήρα:
• Χρησιμοποιήστε μαγειρικά σκεύη με την κατάλληλη
διάμετρο βάσης για κάθε καυστήρα (βλ. Πίνακα 2).
• Όταν το φαγητό αρχίσει να βράζει,
μειώστε την ένταση της φλόγας στο ελάχιστο ώστε
να διατηρήσετε το βρασμό
• Χρησιμοποιείτε πάντα τα σκεύη σας με καπάκια.
ΠΙΝΑΚΑΣ 2
ΚΑΥΣΤΗΡΑΣ
ΔΙΑΜΕΤΡΟΣ
ΣΚΕΥΟΥΣ(ΣΥΝΙΣΤΩΜΕΝΗ)
ΣΕ ΕΚΑΤΟΣΤΑ
Βοηθητικός
12 - 14
Ημι-ταχείας
14 - 26
Ταχείας
18 - 26
Κορώνα
22 - 26
Κορώνα διπλής
ενέργειας
22 - 26
Характеристики
Остались вопросы?Не нашли свой ответ в руководстве или возникли другие проблемы? Задайте свой вопрос в форме ниже с подробным описанием вашей ситуации, чтобы другие люди и специалисты смогли дать на него ответ. Если вы знаете как решить проблему другого человека, пожалуйста, подскажите ему :)