Варочная панель Vestel VH64E351B - инструкция пользователя по применению, эксплуатации и установке на русском языке. Мы надеемся, она поможет вам решить возникшие у вас вопросы при эксплуатации техники.
Если остались вопросы, задайте их в комментариях после инструкции.
"Загружаем инструкцию", означает, что нужно подождать пока файл загрузится и можно будет его читать онлайн. Некоторые инструкции очень большие и время их появления зависит от вашей скорости интернета.

RU - 9
2. УСТАНОВКА И ПОДГОТОВКА
К ЭКСПЛУАТАЦИИ
ВНИМАНИЕ!
Электрическое
подключение данного бытового
прибора должен выполнять только
уполномоченный обслуживающий
персонал или квалифицированный
электрик в соответствии с указаниями из
данного руководства и действующими
местными нормативами.
• Неправильный монтаж может
привести к ущербу и повреждениям,
за которые производитель не несет
никакой ответственности, а также к
прекращению действия гарантии.
• Перед установкой убедитесь,
что параметры местных
распределительных сетей
(электрическое напряжение и его
частота и/или свойства газа и его
давление) соответствуют рабочим
параметрам прибора. Рабочие
параметры данного прибора указаны
на паспортной табличке.
• Необходимо соблюдать
законодательные акты, предписания,
директивы и стандарты, действующие
в стране применения прибора
(правила техники безопасности,
нормативы по утилизации и т. п.).
2.1. указания для мастера-
устанОвщика
Общие указания
• После удаления с прибора и
аксессуаров упаковочных материалов
удостоверьтесь, что прибор не
поврежден. Если предполагается
какое-либо повреждение, не
пользуйтесь прибором, а немедленно
обратитесь в уполномоченный
сервисный центр или к
квалифицированному специалисту.
• Обратите внимание на то, чтобы
в непосредственной близости не
было воспламеняющихся и горючих
материалов, таких как шторы, масло,
одежда и т. п.
• Столешница и мебель вокруг
бытового прибора должны быть
изготовлены из материалов,
выдерживающих температуры выше
100 °C.
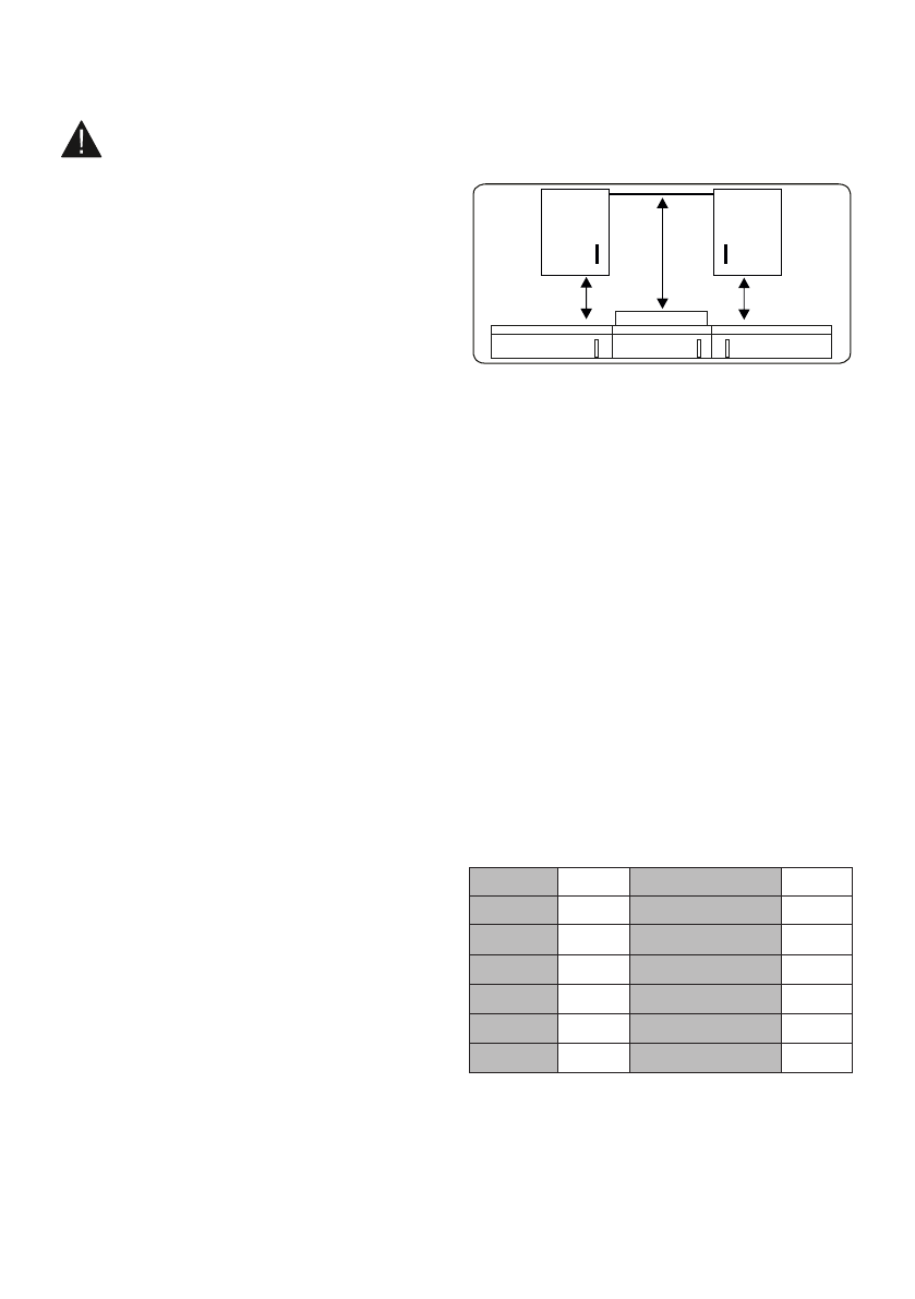
• Если над бытовым устройством
устанавливается вытяжной
колпак или шкафчик, расстояние
между варочной поверхностью и
шкафчиком/вытяжкой должно быть
таким, как показано ниже.
ВАРОЧНАЯ ПАНЕЛЬ
Не менее
42 см
Не менее
42 см
Не менее 65
см (с
вытяжк
ой)
Не менее 70
см (без
вытяжки)
• Бытовой прибор не следует
устанавливать непосредственно
над посудомоечной машиной,
холодильником, стиральной машиной
или сушилкой для одежды.
• Если до основания прибора можно
дотянуться руками, под основанием
прибора необходимо установить
ограждение, выполненное из
подходящего материала, и
удостовериться,
что доступ к
основанию прибора
прегражден
.
Установка варочной поверхности
Прибор поставляется вместе с
комплектом для монтажа, включающим
липкий материал для герметизации,
крепежные кронштейны и винты.
• Вырежьте проем по размерам,
указанным на рисунке. Располагайте
проем в столешнице так, чтобы после
установки варочной поверхности
выполнялись следующие требования:
B (mm)
590
мин. A (mm)
50
T (mm)
520
мин. C (mm)
50
H (mm)
41-47.5
мин. E (mm)
500
C1 (mm)
560
мин. F (mm)
10
C2 (mm)
490
G (mm)
20
D (mm)
50
I (mm)
25
J (mm)
5
Содержание
- 3 СОДЕРЖАНИЕ
- 4 ПРАВИЛА ТЕХНИКИ БЕЗОПАСНОСТИ
- 9 устанОвщика; что доступ к; Установка варочной поверхности
- 12 ХАРАКТЕРИСТИКИ ПРИБОРА; приведенных на рисунках ниже.; Перечень компонентов; Керамический подогреватель
- 13 ЭКСПЛУАТАЦИЯ ИЗДЕЛИЯ
- 20 Чистка частей из нержавеющей стали
- 21 ТРАНСПОРТИРОВКА; липкой лентой все отделенные части изделия.
- 22 ТЕХНИЧЕСКИЕ ХАРАКТЕРИСТИКИ
Характеристики
Остались вопросы?Не нашли свой ответ в руководстве или возникли другие проблемы? Задайте свой вопрос в форме ниже с подробным описанием вашей ситуации, чтобы другие люди и специалисты смогли дать на него ответ. Если вы знаете как решить проблему другого человека, пожалуйста, подскажите ему :)







