Варочная панель KRAFT TCH-EHK600 - инструкция пользователя по применению, эксплуатации и установке на русском языке. Мы надеемся, она поможет вам решить возникшие у вас вопросы при эксплуатации техники.
Если остались вопросы, задайте их в комментариях после инструкции.
"Загружаем инструкцию", означает, что нужно подождать пока файл загрузится и можно будет его читать онлайн. Некоторые инструкции очень большие и время их появления зависит от вашей скорости интернета.

9
ВСТРАИВАЕМАЯ ЭЛЕКТРИЧЕСКАЯ ВАРОЧНАЯ ПАНЕЛЬ
CERAMIC BUILT-IN HOB
ИНСТРУКЦИЯ ПО ЭКСПЛУАТАЦИИ • USER GUIDE
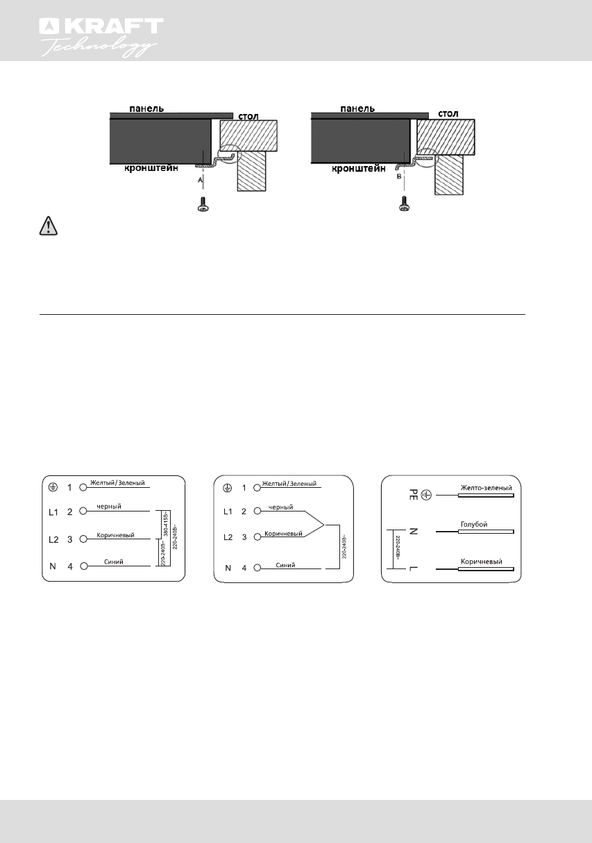
Отрегулируйте положение кронштейна до подходящею в зависимости от толщины стола.
Не прижимайте установочные кронштейны ко внутренней поверхности
столешницы, оставьте между ними небольшой зазор (см. рисунок). Это позволит
предотвратить повреждение варочной поверхности в случае деформации
столешницы.
3) ПОДКЛЮЧЕНИЕ К ИСТОЧНИКУ ПИТАНИЯ
Варочная поверхность должна подключаться непосредственно к электрической
сети с установкой отдельного выключателя. При этом расстояние между разомкнуты-
ми контактами должно быть не меньше 3 мм. Рекомендуется подключение к отдельной
линии с установкой на ней защитного устройства. Убедитесь, что напряжение в Вашей
сети соответствует характеристикам устройства. Убедитесь, что сечение проводов до-
статочно для заявленной мощности устройства.
Вариант подключения
для 1-фазной сети
для моделей TCH-EHK6001
и TCH-EHK6602
Вариант подключения
для 2-фазной сети
для моделей TCH-EHK6001
и TCH-EHK6602
Вариант подключения
для 1-фазной сети
для модели TCH-EH3202
• Во избежание несчастных случаев, при повреждении кабеля его необходимо заме-
нить с помощью квалифицированного специалиста.
• электрический кабель должен быть расположен так, чтобы не соприкасаться с на-
греваемыми поверхностями, а его температура не должна превышать 75 °С.
• Мастер, осуществляющий установку, должен убедиться в правильности электриче-
ского соединения и соблюдении правил безопасности.
• Кабель не должен быть согнут или пережат.
• Мастер должен проверить кабель, и, в случае необходимости, заменить его.
• Убедитесь, что электрический кабель находится вне пределов досягаемости после
установки. Выключатель, напротив, должен быть легко доступен для пользователя.
Содержание
- 2 ВСТРАИВАЕМАЯ ЭЛЕКТРИЧЕСКАЯ ВАРОЧНАЯ ПАНЕЛЬ; ИНСТРУКЦИЯ ПО ЭКСПЛУАТАЦИИ • USER GUIDE; Уважаемый покУпатель!; СОДЕРЖАНИЕ; Данное бытовое устройство соответствует положениям
- 3 МЕРЫ БЕЗОПАСНОСТИ
- 4 конфорках одновременно.
- 5 Во избежание получения ожогов; • Ручки кастрюлей или сковородок могут сильно нагреваться.; вНИмаНИе: Электрическая варочная поверхность обладает сильным; ОПИСАНИЕ ПРИБОРА И ЕГО ОСНОВНЫХ ДЕТАЛЕЙ; и таймера; Панель управления TCH-EH3202
- 6 Зона с максимальной мощностью; Панель управления TCH-EHK6001; 丝印颜色:Pantone cool grey 7C
- 7 УСТАНОВКА; который знаком с действующими правилами установки.; мм
- 8 над плитой должно быть не менее 760 мм.; винт кронштейн винтовое
- 9 ) ПОДКЛЮЧЕНИЕ К ИСТОЧНИКУ ПИТАНИЯ; статочно для заявленной мощности устройства.
- 10 ПЕРЕД ПЕРВЫМ ИСПОЛЬЗОВАНИЕМ; ИНФОРМАЦИЯ ОБ ЭЛЕКТРИЧЕСКОЙ ВАРОЧНОЙ ПАНЕЛИ; • Прибор реагирует на прикосновение так, что вам не нужно; Выбор посуды для приготовления; могут поцарапать стекло.
- 11 ЭКСПЛУАТАЦИЯ; ) НАЧАЛО ПРОЦЕССА ПРИГОТОВЛЕНИЯ; остерегайтесь горячих поверхностей!
- 12 БЛОКИРОВКА УПРАВЛЕНИЯ; Блокировка управления:; ИСПОЛЬЗОВАНИЕ ФУНКЦИИ ДВОЙНОЙ ЗОНЫ НАГРЕВА; Активация функции двойной зоны нагрева
- 13 ФУНКЦИЯ ПАУЗЫ; Количество минут на дисплее; ) Использование таймера в качестве минутного таймера; Если вы не выбрали ни одну зону нагрева
- 14 ) Установка таймера для одной конфорки
- 15 ) Установка таймера для нескольких конфорок; Начало работы; ка выключится. Красная точка рядом будет мигать.; Через 15 минут; ЗАЩИТА ОТ ПЕРЕГРЕВА
- 16 ИСПОЛЬЗОВАНИЕ ТАЙМЕРА для модели TCH-EHK6602
- 17 ) Установка таймера для одной или более конфорок
- 18 Для выбора некольких зон; выключится. Красная точка рядом будет мигать.; ВРЕМЯ РАБОТЫ ПО УМОЛЧАНИЮ; Уровень мощности; СОВЕТЫ ПО ПРИГОТОВЛЕНИЮ; а в завершении уменьшите его.
- 19 Подрумянивание мяса; Режимы нагрева Применение
- 20 ОЧИСТКА И ОБСЛУЖИВАНИЕ
- 21 РЕКОМЕНДАЦИИ ПО ПОИСКУ; Проблема; электропитание не включено.
- 22 ТЕХНИЧЕСКИЕ ХАРАКТЕРИСТИКИ; Модель
- 23 УТИЛИЗАЦИЯ; вании и утилизации продукта.; КОМПЛЕКТАЦИЯ
- 24 ГАРАНТИЙНЫЙ ТАЛОН; продавец обязан при продаже; УСЛОВИЯ ГАРАНТИИ
- 25 на гарантийный ремонт; серийный No; Наименование и адрес сервисной службы*; на гарантийный ремонт; Наименование и адрес сервисной службы*
- 27 Made in Китае
Характеристики
Остались вопросы?Не нашли свой ответ в руководстве или возникли другие проблемы? Задайте свой вопрос в форме ниже с подробным описанием вашей ситуации, чтобы другие люди и специалисты смогли дать на него ответ. Если вы знаете как решить проблему другого человека, пожалуйста, подскажите ему :)












