Варочная панель V-ZUG CookTop V6000 I705 FullFlex CTI6T-31132 - инструкция пользователя по применению, эксплуатации и установке на русском языке. Мы надеемся, она поможет вам решить возникшие у вас вопросы при эксплуатации техники.
Если остались вопросы, задайте их в комментариях после инструкции.
"Загружаем инструкцию", означает, что нужно подождать пока файл загрузится и можно будет его читать онлайн. Некоторые инструкции очень большие и время их появления зависит от вашей скорости интернета.

3 Описание прибора
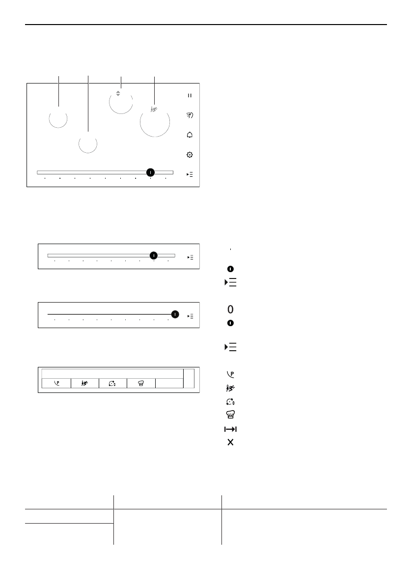
Индикатор конфорки
На дисплее конфорки отображаются выбранные уровни мощностей и опции регули-
ровки. Уровень мощности, цвет и тип контура указывают на активность конфорки.
굴ʲ
4
2
3
1
1
Уровень мощности «0»:
кон-
форка выключена
2
Оранжевая:
выбрана на дис-
плее
3
Серая:
на дисплее не выбрана,
но может быть выбрана
4
Серая, с пунктирным конту-
ром:
положение кухонной по-
суды рассчитывается заново
Диапазон регулировки
В зависимости от желаемой настройки в диапазоне регулировки отображаются
следующие параметры взаимодействия:
▪
Слайдер уровня мощности
Уровни мощности 0,5–9
Активный уровень мощности
Опции регулировки
▪
Слайдер GourmetGuide
Поддержание в горячем состоянии
Выключение
Включение/активное состоя-
ние
Опции регулировки
▪
Опции регулировки
굴
굖
굗
Ρ
PowerPlus
AutoPowerPlus
ПрофиРежим
GourmetGuide
Длительность включения
Закрыть опции регулировки
3.3
Обзор уровней мощности
Выбранный уровень мощности отображается в области настроек и на индикаторе
соответствующей конфорки. Уровни мощности можно устанавливать полушагами.
Уровень мощности Метод приготовления
Практическое применение
1
Растапливание, разо-
гревание на медленном
огне
Масло, шоколад, желатин,
соусы
2
9
Содержание
- 3 Содержание
- 4 Указания по технике безопасности; Используемые символы; Общие указания по
- 5 Указания по технике
- 6 Указания по пользованию; Использование по назначению
- 8 Варочная поверхность
- 9 Обзор уровней мощности
- 10 Индикатор остаточного тепла; Функция распознавания посуды
- 11 Кухонная посуда; Подходящая кухонная посуда
- 13 Управление; Управление дисплеем; Нажатие
- 14 Сохранение настроек
- 15 Функция Teppan Yaki; Объединение конфорок; Разделение конфорки; Использование панели Teppan Yaki вместе с посудой
- 16 Функция PowerPlus; Включение функции PowerPlus
- 17 AutoPowerPlus; Включение AutoPowerPlus
- 18 ПрофиРежим; Включение ПрофиРежим; Выключение ПрофиРежим
- 19 GourmetGuide; Запуск функции
- 20 Продолжительность включения; Изменение продолжительности включения
- 21 Включение паузы; Защита при вытирании; Включение защиты при вытирании
- 22 Таймер; Настройка и запуск таймера
- 23 EcoManagement; Индикация расхода во время приготовления; Выключение конфорки; При включенном таймере
- 24 Условия; Первый ввод в эксплуатацию; Установка приложения; Активация режима работы V-ZUG-Home на приборе
- 25 Настройки пользователя; Обзор настроек пользователя; Яркость
- 26 Время; Оповещения; Звуковые сигналы; Вспомогательные функции; Функция памяти
- 27 Блокировка кнопок
- 28 Индикация расхода; Заводские настройки
- 29 Обслуживание и уход; Очистка
- 30 Средство для чистки; Стеклокерамика со стандартным стеклом
- 31 Устранение неисправностей; Сообщения о неисправностях
- 32 После перебоя в электроснабжении
- 33 Другие возможные проблемы
- 34 Принадлежности; Технический паспорт изделия
- 35 Полезные советы; Энергосберегающее приготовление пищи
- 36 Утилизация; Упаковка
- 37 Указатель ключевых слов
- 39 Служба поддержки и сервисного обслуживания; Где находится заводская табличка?
- 40 Краткое руководство; Включение прибора
Характеристики
Остались вопросы?Не нашли свой ответ в руководстве или возникли другие проблемы? Задайте свой вопрос в форме ниже с подробным описанием вашей ситуации, чтобы другие люди и специалисты смогли дать на него ответ. Если вы знаете как решить проблему другого человека, пожалуйста, подскажите ему :)