Варочная панель Teka TT 6415 - инструкция пользователя по применению, эксплуатации и установке на русском языке. Мы надеемся, она поможет вам решить возникшие у вас вопросы при эксплуатации техники.
Если остались вопросы, задайте их в комментариях после инструкции.
"Загружаем инструкцию", означает, что нужно подождать пока файл загрузится и можно будет его читать онлайн. Некоторые инструкции очень большие и время их появления зависит от вашей скорости интернета.

RU
25
Предупреждения о
безопасности:
В случае разбития
или появления трещин
н а к е р а м и ч е с к о м
стекле, немедленно
отключите варочную
п а н е л ь , ч т о б ы
избежать поражения
электрическим током.
Данный прибор
н е п р е д н а з н а ч е н
д л я р а б о т ы с
внешним таймером
( н е в с т р о е н н ы й
в п р и б о р ) и л и
отдельной системой
д и с т а н ц и о н н о г о
управления.
Не используйте
п а р о в о й с п о с о б
очистки для данного
устройства.
Устройство и его
д о с т у п н ы е ч а с т и
могут нагреваться
во время работы.
Не прикасайтесь к
н а г р е в а т е л ь н ы м
элементам. Дети в
возрасте до 8 лет
должны держаться
подальше от плиты,
если они не находятся
п о д п о с т о я н н ы м
контролем.
Это устройство
м о ж е т б ы т ь
использован лишь
детьми возраста 8
лет и старше, люди
с о с л а б л е н н ы м и
ф и з и ч е с к и м и ,
с е н с о р н ы м и и л и
у м с т в е н н ы м и
с п о с о б н о с т я м и ,
или те, кто не имеет
достаточного опыта
и з н а н и я м о г у т
и с п о л ь з о в а т ь
устройство ТОЛЬКО
п о д п р и с м о т р о м
и л и
п о с л е
п р е д о с т а в л е н и я
и м а д е к в а т н ы х
и н с т р у к ц и и п о
и с п о л ь з о в а н и ю
устройства и если они
понимают опасность
его использование.
Очистка и техническое
о б с л у ж и в а н и е
Пользователем не
может проводится
д е т ь м и б е з
присмотра.
Дети не должны
играть с устройством.
Предосторожность.
Опасно готовить с
жиром или маслом без
присутствия, так как
это может привести
к в о з г о р а н и ю .
Никогда не пытайтесь
п о т у ш и т ь о г о н ь
водой! В этом случае
отключите устройство
и накройте пламя
крышкой, тарелкой
или одеялом.
Н е с т а в ь т е
никаких предметов
н а в а р о ч н ы х
областях варочной
панели. Старайтесь
п р е д о т в р а т и т ь
в о з м о ж н у ю
опасность пожара.
“При повреждении
с е т е в о г о ш н у р а ,
необходимо заменить
его производителем
и л и п р о вес т и е го
п о с л е п р о д а ж н о е
обслуживание”
В Н И М А Н И Е :
И с п о л ь з у й т е
п р о т е к т о р ы
э л е к т р о п л и т
л иш ь те , которые
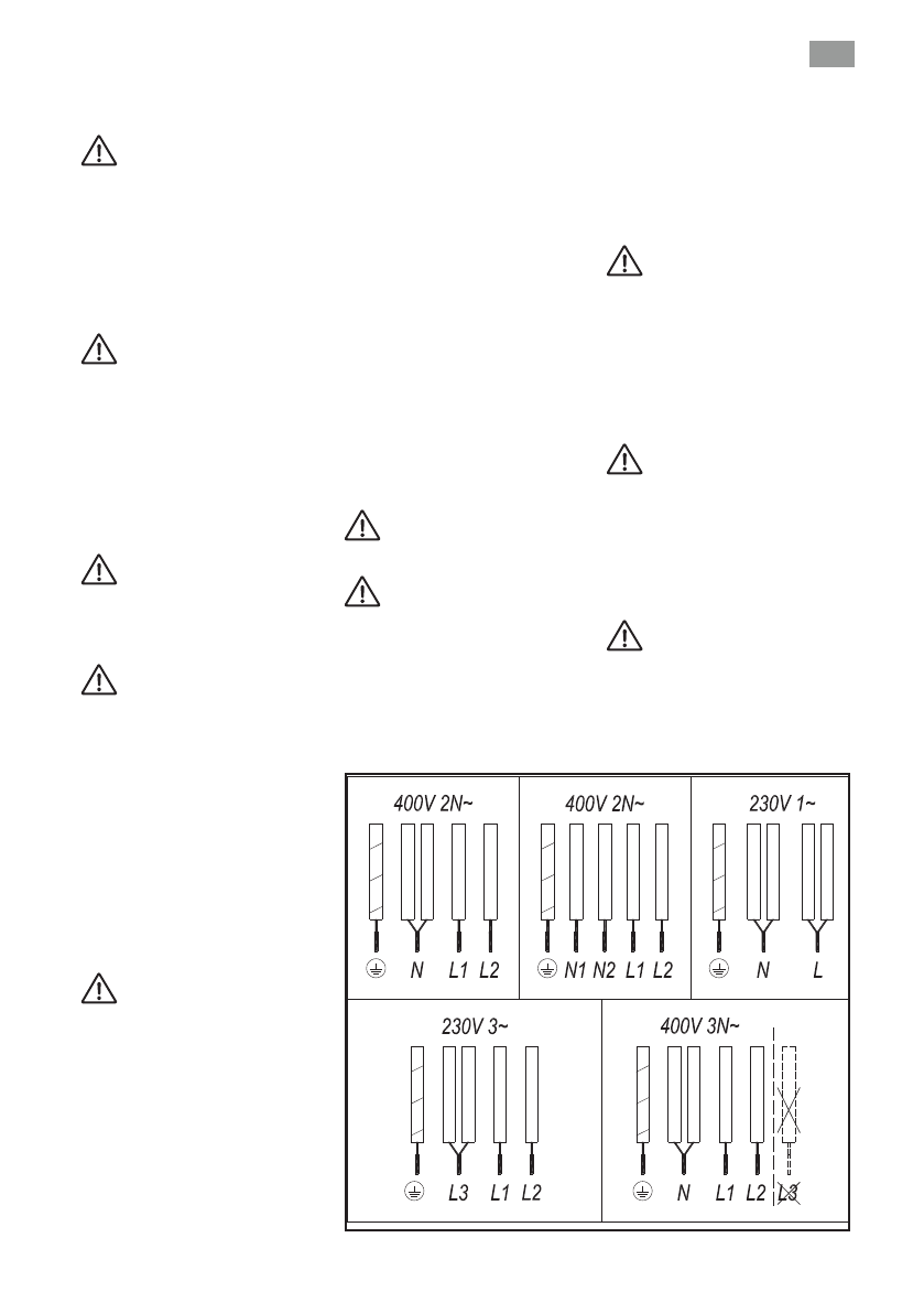
зе
лено-ж
елтый
синий
коричневый
серый
черный
зе
лено-ж
елтый
синий
коричневый
серый
черный
зе
лено-ж
елтый
синий
коричневый
серый
черный
зе
лено-ж
елтый
синий
коричневый
серый
черный
зе
лено-ж
елтый
синий
коричневый
серый
черный
НЕ
ИСП
О
ЛЬЗ
О
ВА
ТЬ
L3
рис.
1