Варочная панель Teka TBC 32010 - инструкция пользователя по применению, эксплуатации и установке на русском языке. Мы надеемся, она поможет вам решить возникшие у вас вопросы при эксплуатации техники.
Если остались вопросы, задайте их в комментариях после инструкции.
"Загружаем инструкцию", означает, что нужно подождать пока файл загрузится и можно будет его читать онлайн. Некоторые инструкции очень большие и время их появления зависит от вашей скорости интернета.

RU
6
Руководство
пользователя
Уважаемый покупатель,
Мы рады, что Вы выбрали именно
нашу продукцию.
Мы уверены, что новая варочная
панель, которую Вы приобрели, будет
полностью соответствовать Вашим
потребностям.
Эта современная, функциональная и
практичная модель была изготовлена
с использованием высококачествен
-
ных материалов, которые прошли
строгий контроль качества на про
-
тяжении всего производственного
процесса.
Перед установкой и использованием
мы просим Вас внимательно про
-
читать данное руководство и тща
-
тельно следовать его инструкциям,
поскольку это будет гарантировать
наилучший результат при использо
-
вании прибора.
Храните данное руководство в на
-
дежном месте, чтобы вы могли обра
-
титься к нему легко и таким образом
соблюдать условия гарантии.
Для того, чтобы воспользоваться
данной гарантией, Вам нужно пре
-
доставить товарный чек вместе с
гарантийным сертификатом.
Н е о б х о д и м о х р а н и т ь
гарантийный сертификат или,
в соответствующих случаях,
технический паспорт, вместе с
руководством по эксплуатации
в течение всего срока службы
прибора. Они содержат важную
техническую информацию о
приборе.
И н с т р у к ц и и п о т е х н и к е
безопасности
Перед первым использованием
необходимо внимательно прочитать
инструкции по установке и подклю
-
чению.
Данные модели варочной панели мо
-
гут быть встроены в ту же кухонную
мебель, что и духовки производства
компании «TEKA».
Для вашей безопасности, установка
должна осуществляться уполномо
-
ченным специалистом и соответ
-
ствовать существующим стандартам
установки. Кроме того, любые рабо
-
ты внутри варочной панели должны
выполняться только техническим
персоналом «TEKA», в том числе
замена гибкого кабеля питания
прибора.
Предупреждения о
безопасности:
В с л у ч а е
р а з б и т и я и л и
появления трещин
н а к е р а м и ч е с к о м
стекле, немедленно
отключите варочную
п а н е л ь , ч т о б ы
избежать поражения
электрическим током.
Данный прибор
н е п р е д н а з н а ч е н
д л я р а б о т ы с
внешним таймером
( н е в с т р о е н н ы й
в п р и б о р ) и л и
отдельной системой
д и с т а н ц и о н н о г о
управления.
Не используйте
п а р о в о й с п о с о б
очистки для данного
устройства.
Устройство и его
д о с т у п н ы е ч а с т и
могут нагреваться
во время работы.
Не прикасайтесь к
н а г р е в а т е л ь н ы м
элементам. Дети в
возрасте до 8 лет
должны держаться
подальше от плиты,
если они не находятся
п о д п о с т о я н н ы м
контролем.
Это устройство
м о ж е т б ы т ь
использован лишь
детьми возраста 8
лет и старше, люди
с о с л а б л е н н ы м и
ф и з и ч е с к и м и ,
зе
лено-ж
елтый
синий
коричневый
серый
черный
зе
лено-ж
елтый
синий
коричневый
серый
черный
зе
лено-ж
елтый
синий
коричневый
серый
черный
зе
лено-ж
елтый
синий
коричневый
серый
черный
зе
лено-ж
елтый
синий
коричневый
серый
черный
НЕ
ИСП
О
ЛЬЗ
О
ВА
ТЬ
L3
рис.
1
Содержание
- 5 излучающая конфорка мощностью 1,800 Вт.
- 6 НЕ
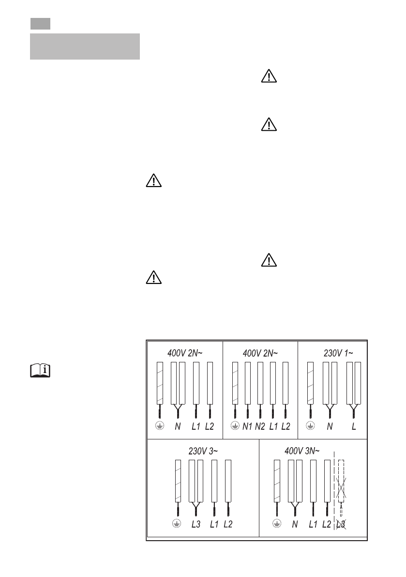
- 7 Р а зм е щ е н и е с я щ и к о м д л я; Электрическое; Электрическое подключение
- 8 противном случае варочная панель может выйти из строя.; Техническая информация; Технические данные Варочная панель 3 класса; Размеры и характеристики; Модели; Размеры для встраивания в кухонную мебель; Радиантная конфорка 1200 ватт; Электрические характеристики; *Индукционная мощность с включенной функцией мощности
- 9 Инструкция; ЭЛЕМЕНТЫ УПРАВЛЕНИЯ
- 11 Таблица 1; ТАЙМЕР
- 12 Таблица 2
- 13 Защита окружающей
Характеристики
Остались вопросы?Не нашли свой ответ в руководстве или возникли другие проблемы? Задайте свой вопрос в форме ниже с подробным описанием вашей ситуации, чтобы другие люди и специалисты смогли дать на него ответ. Если вы знаете как решить проблему другого человека, пожалуйста, подскажите ему :)













