Варочная панель Teka TB 641.2 - инструкция пользователя по применению, эксплуатации и установке на русском языке. Мы надеемся, она поможет вам решить возникшие у вас вопросы при эксплуатации техники.
Если остались вопросы, задайте их в комментариях после инструкции.
"Загружаем инструкцию", означает, что нужно подождать пока файл загрузится и можно будет его читать онлайн. Некоторые инструкции очень большие и время их появления зависит от вашей скорости интернета.

LpSlogmr`p\qemklqkno
UpfpbipllqrqngiP^onp
hmjq^lcPr emlpi_r qnr kpnoZ
^nq`aro\`pYmn_reqjmYplod
Fipgnjo^pkgofr nqgqfZr pkio
qlmrjm\q`pnkdroiornjpklpn
2nqnr ejo`qjr lp
ejpblm\lm^plr bidr jm`qna
hfpknpr kr hlp9lofr 8lp
hknjqpllafr hr ejo`qj7
nm]fpjqfr oior qnbpi_lq]
koknpfq]r boknmlHoqllqXq
cejmhiplod[
Upi_\dr^oknon_rejo`qj
emjqf[
Ojo`qjr or pXqr ^mknoZ
gqnqjaSrfqYlqrgqklcn_kdZ
lmXjphmPnkdr ejor jm`qnp[
W\`pXm]npr
gmkmlod
lmXjphmnpi_laSr Fipfplnqh[
?pnor bqr $r ipnr fqXcn
eqbSqbon_r gr ejo`qjc
nqi_gqr eqbr `bonpi_laf
ejokfqnjqfrh\jqkiaS[
2nofr cknjq]knhqf
fqXcnr
kmfqknqdnpi_lq
eqi_\qhmn_kdr
bpnor
h
hq\jmknpr $r ipnr or knmj9pZ
iPbor
kr
lmjc9pllafo
Co\o^pkgofor
o
c f k n h p l l a f o
keqkq`lqkndfoZr iPbor k
l m j c 9 p l l a f o
keqkq`lqkndfor hqkejodnodZ
oior Ypr iPboZr lpr ofpPNop
bqknmnq^laSr \lmlo]r oio
eqbXqnqhgoZr lqr LVKMV eqb
^_of1io`qr jcgqhqbknhqf
oior
eqkipr
eqic^plod
bqknmnq^lqXqrolknjcgnmYmreq
okeqi_\qhmloPrcknjq]knhmro
eqlofmlodrkhd\mllq]rkrFnof
qemklqkno[rrGan_prorcSqbr\m
cknjq]knhqfr
fqYlq
bqhpjdn_r bpndfr nqi_gqr eqb
ejokfqnjqfrh\jqkiaS[
?pnor lpr bqiYla
oXjmn_rkrejo`qjqf[rr
Rlofmlop5r r Aqnqhon_
eoNcr lmr Yojpr oior fmkip
`p\r
eqknqdllqXq
ejokcnknhodr cr eionar
qemklq5r
Vlor
fqXcn
hkeaSlcn_[rrRrFnqfrkic^mp
qngiP^onpr cknjq]knhqr qn
kpnor or lmgjq]npr eimfd
gja9gq]Zr nmjpigq]r oio
qbpdiqf[
Upr kgimbahm]np
logmgopr ejpbfpnar lm
gqlCqjgorhmjq^lq]remlpio[
OjpbqnhjmNm]npr
jokg
hq\loglqhplodreqYmjm5
<knmlqhgm
<knmlqhgmrhfpknprkrdNogqfrbid
knqiqhaSrejo`qjqh
+[X^b VY^b T[\]_aWZ`b W]YaP_aN
V]_`X^b VaSb _`Nb VX]_^YT`\[Q
T[\]_aWZ]b U`M`X^b ^X^b QE^Z]b SXQ
[\aXaWOFb VY^MaYaWHb U`GSTb _^U^
_`aMFaS^Uab
T[\]_]WX^W]\R
Y]IS`X^\`XR_TJb
VX^\TLb
%\a
VaIWaX^\b ^IM`G]\Rb [XTP]N_aKa
Z][]_^Qb
KaYQP`Nb
VaW`YF_a[\^
ZaYVT[]bW]YaP_aNbV]_`X^L
]IS`X^\`XR_]Qb
VX^\]b
SaXG_]
T[\]_]WX^W]\R[Qb _]b ;8b UUb _^G`
_^G_`NbVaW`YF_a[\^bW]YaP_aNbV]_`X^L
OqbgiP^ploprg
Fipgnjqkpno
9`Y`Sb WZXJP`_^`Ub W]YaP_aNb V]_`X^
Wb [`\Rb TM`S^\`[Rb Wb [aa\W`\[\W^^
_]VYQG`_^Qb ^b P][\a\Ob \aZ]b Wb [`\^
I_]P`_^QUHb TZ]I]__OUb _]b I]WaS[ZaN
\]MX^PZ`Hb _]FaSQE`N[Qb _]b _^G_`N
[\aYa_`b V]_`X^Hb ^X^b Wb K]Y]_\^N_aU
\]Xa_`Hb ^X^b Wb \`F_^P`[ZaUb V][VaY\`H
Za\aYO`b _`aMFaS^Uab FY]_^\Rb WU`[\`
[b =\aNb ^_[\YTZ?^`Nb Wb \`P`_^`b W[`Ka
[YaZ]b[XTGMOb^IS`X^QL
9aSZXJP`_^`b V]_`X^b Zb =X`Z\Ya[`\^
SaXG_ab WOVaX_Q\R[Qb [b VaUaERJ
YTM^XR_^Z]b ^X^b G`Hb Vab WaIUaG_a[\^H
@\`V[`XQb ^b YaI`\Z^b _`aMFaS^UaN
UaE_a[\^Hb ^U`JE^Fb Y][[\aQ_^`
U`GSTbZa_\]Z\]U^b_`bU`_``b7bUULbb%\a
VaIWaXQ`\b MO[\Yab a\ZXJP]\Rb V]_`XR
a\b [`\^b Wb ]W]Y^N_OFb [^\T]?^QFHb ]
\]ZG`bSXQbP^[\Z^Lb
`F_^P`[Za`b aM[XTG^W]_^`b ^b Y`Ua_\
=\aKab MO\aWaKab VY^MaY]Hb WZXJP]Q
I]U`_Tb Z]M`XQb V^\]_^QHb Y]IY`@]`\[Q
WOVaX_Q\Rb \aXRZab Wb aB^?^]XR_OF
[`YW^[_OFbVT_Z\]FbB^YUObL
9Y^b VaSZXJP`_^^b _`aMFaS^Ua
TM`S^\R[QbWb\aUHbP\abZ]M`XRbV^\]_^Q
_`b [aVY^Z][]`\[Qb [b ZaYVT[aU
W]YaP_aNb V]_`X^Hb ]b \]ZG`b [
ZaYVT[aUb STFaWZ^Hb `[X^b a_]
T[\]_]WX^W]`\[QbYQSaUL
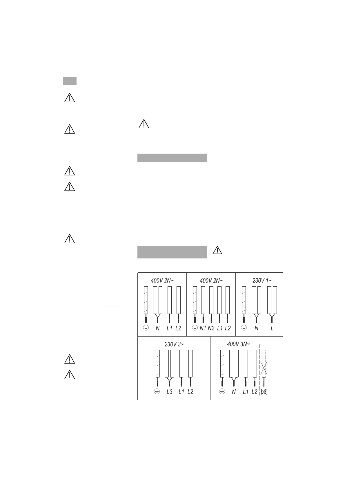
RlofmlopD
2ipgnjo^pkgqp eqbgiP^plop
bqiYlqr ofpn_r bqiYlafr q`jm\qf
haeqilpllqpr
\m\pfiplop
deX\
a,$`
Xe_ON
<^_^N
2aY^P_`WON
<`YON
eY_ON
/`b
^[V
aXRI
TN\
`b
g7
Y^[LbA
deX\
a,$`
Xe_ON
deX\
a,$`
Xe_ON
deX\
a,$`
Xe_ON
deX\
a,$`
Xe_ON
<^_^N
<^_^N
<^_^N
<^_^N
<`YON
<`YON
<`YON
<`YON
2aY^P_`WON
2aY^P_`WON
2aY^P_`WON
2aY^P_`WON
eY_ON
eY_ON
eY_ON
eY_ON
58
Характеристики
Остались вопросы?Не нашли свой ответ в руководстве или возникли другие проблемы? Задайте свой вопрос в форме ниже с подробным описанием вашей ситуации, чтобы другие люди и специалисты смогли дать на него ответ. Если вы знаете как решить проблему другого человека, пожалуйста, подскажите ему :)













