Варочная панель Teka ITC 64630 MST - инструкция пользователя по применению, эксплуатации и установке на русском языке. Мы надеемся, она поможет вам решить возникшие у вас вопросы при эксплуатации техники.
Если остались вопросы, задайте их в комментариях после инструкции.
"Загружаем инструкцию", означает, что нужно подождать пока файл загрузится и можно будет его читать онлайн. Некоторые инструкции очень большие и время их появления зависит от вашей скорости интернета.

RU
39
может произойти
а в а р и я , е с л и
случайно другая
с к о в о р о д а и л и
кастрюля окажется
на горячей к о н
ф о р к е . Пред
у п р е ж д а й т е в о
з м о ж н о с т ь
происшествий!
Установка
У с т а н о в к а с я щ и к о м д л я
столовых приборов
П р и ж ел а н и и у с т а н о в и т ь п од
варочной панелью мебель или
ящик для стол овых приборов,
между ним и панелью необходимо
поставить разделительную плиту.
Таким образом, предупреждается
с л у ч а й н о е к а с а н и е с го ря ч е й
п о в е р х н о с т ь ю к о р п у с а
электроприбора.
Разделительная плита должна
устанавливаться на 20 мм ниже
нижней части варочной панели.
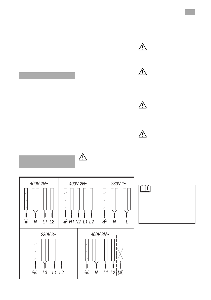
Подключение к
электросети
П е р ед в к л юч е н и е м в а р оч н о й
панели в сеть убедитесь в
с о о т в е т с т в и и н а п р я ж е н и я и
частоты тока в сети значениям,
указанным на заводской табличке,
находящейся на нижней стороне
панели, в гарантийном талоне или
(в некоторых случаях) записанным
в технический паспорт, который
необходимо хранить вместе с этой
инструкцией в течение всего срока
службы изделия.
Подключение панели к электросети
должно выполняться с помощью
рубильника или же, по возможности,
штепсельной вилки необходимой
мощности, имеющих расстояние
между контактами не менее 3 мм.
Это позволяет быстро отключать
п а н ел ь от с ет и в а в а р и й н ы х
ситуациях, а также для чистки.
При подк лючении необходимо
убедиться в том, что кабель питания
н е с о п р и к а с а етс я с к о р п ус о м
варочной панели, а также с корпусом
духовки, если она устанавливается
рядом.
Внимание:
Э л е к т р и ч е с к о е п о д к -
л ю ч е н и е д о л ж н о и м е т ь
правильно выполненное зазе-
м ле н и е , от веч а ю щ е е т р еб о -
ваниям действующих норм и
правил электробезопасности,
в противном случае в работе
индукционной варочной панели
могут наблюдаться сбои.
Н е о б ы ч н о в ы с о к и е
броски напряжения питания
могут повредить систему упра
вления (как и любого другого
электрического прибора).
Рекомендуется не пользо-
ваться индукционной варочной
панелью во время выполнения
п и р о л и т и ч е с к о й ч и с т к и в
пиролитических духовках, по
причине их очень высокого
нагрева.
Техническое обслуживание и
ремонт этого бытового прибора,
включая замену кабеля питания,
разрешается выполнять только
в о ф и ц и а л ь н ы х с е р в и с н ы х
пунктах фирмы TEKA.
П р е ж д е ч е м от к л юч а т ь
плиту от сети, рекомендуется
выключить ее выключателем,
подождать примерно 25 секунд, и
только потом выдернуть вилку из
розетки. Это время необходимо
для того, чтобы электронные
цепи полностью разрядились,
чем устраняется возможность
электри- ческого разряда через
контакты штепсельной вилки
Гарантийный сертификат
и л и т е х н и ч е с к и й п а с п о р т
н а и з д е л и е н е о б х о д и м о
хранить вместе с настоящей
и н с т р у к ц и е й в т е ч е н и е
всего срока его слу жбы. В
н и х с о д е р ж а т с я в а ж н ы е
технические сведения.
Эксплуатация и
техобслужива-
ние
зе
лено-ж
елтый
синий
коричневый
серый
черный
зе
лено-ж
елтый
синий
коричневый
серый
черный
зе
лено-ж
елтый
синий
коричневый
серый
черный
зе
лено-ж
елтый
синий
коричневый
серый
черный
зе
лено-ж
елтый
синий
коричневый
серый
черный
НЕ
ИСП
О
ЛЬЗ
О
ВА
ТЬ
L3
рис.
1
Характеристики
Остались вопросы?Не нашли свой ответ в руководстве или возникли другие проблемы? Задайте свой вопрос в форме ниже с подробным описанием вашей ситуации, чтобы другие люди и специалисты смогли дать на него ответ. Если вы знаете как решить проблему другого человека, пожалуйста, подскажите ему :)