Варочная панель Teka IBR 6040 - инструкция пользователя по применению, эксплуатации и установке на русском языке. Мы надеемся, она поможет вам решить возникшие у вас вопросы при эксплуатации техники.
Если остались вопросы, задайте их в комментариях после инструкции.
"Загружаем инструкцию", означает, что нужно подождать пока файл загрузится и можно будет его читать онлайн. Некоторые инструкции очень большие и время их появления зависит от вашей скорости интернета.

85
RU
простым снятием
кастрюли
или
сковороды с нее. В
противном случае
может произойти
авария,
если
случайно другая
сковорода
или
кастрюля окажется
на
горячей
к о н ф о р к е .
П р е д у п р е ж д а й т е
в о з м о ж н о с т ь
происшествий!
Установка
Установка с ящиком для столовых
приборов
При желании установить под
варочной панелью мебель или ящик
для столовых приборов, между ним и
панелью необходимо поставить
разделительную
плиту.
Таким
образом, предупреждается случайное
касание с горячей поверхностью
корпуса электроприбора.
Разделительная плита должна
устанавливаться на 20 мм ниже
нижней части варочной панели.
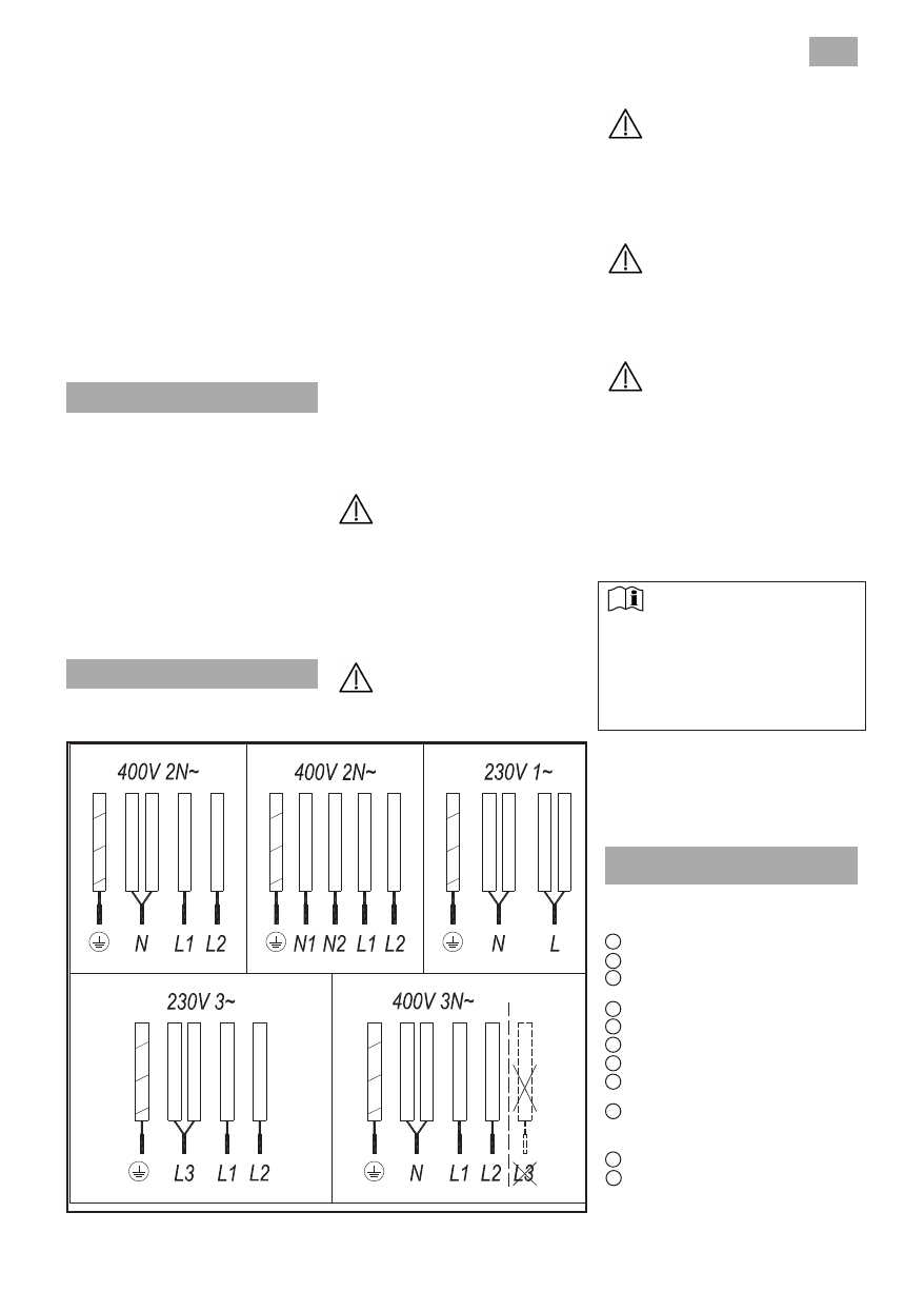
Подключение к электросети
Перед включением варочной панели
в сеть убедитесь в соответствии
напряжения и частоты тока в сети
значениям, указанным на заводской
табличке, находящейся на нижней
стороне панели, в гарантийном
талоне или (в некоторых случаях)
записанным в технический паспорт,
который
необходимо
хранить
вместе с этой инструкцией в течение
всего срока службы изделия.
Подключение панели к электросети
должно выполняться с помощью
рубильника или же, по возможности,
штепсельной вилки необходимой
мощности, имеющих расстояние
между контактами не менее 3 мм.
Это позволяет быстро отключать
панель от сети в аварийных
ситуациях, а также для чистки.
При подключении необходимо
убедиться в том, что кабель питания
не соприкасается с корпусом
варочной панели, а также с
корпусом духовки, если она
устанавливается рядом.
Внимание:
Электрическое
подк-
лючение
должно
иметь
правильно выполненное зазе-
мление, отвечающее требо-
ваниям действующих норм и
правил электробезопасности, в
противном случае в работе
индукционной варочной панели
могут наблюдаться сбои.
Необычно
высокие
броски напряжения питания
могут повредить систему упра-
вления (как и любого другого
электрического прибора).
Рекомендуется не пользо-
ваться индукционной варочной
панелью во время выполнения
пиролитической
чистки
в
пиролитических духовках, по
причине их очень высокого
нагрева.
Техническое обслуживание
и ремонт этого бытового прибора,
включая замену кабеля питания,
разрешается выполнять только в
официальных сервисных пунктах
фирмы TEKA.
Прежде чем отключать
плиту от сети, рекомендуется
выключить ее выключателем,
подождать примерно 25 секунд, и
только потом выдернуть вилку из
розетки. Это время необходимо
для того, чтобы электронные цепи
полностью разрядились, чем
устраняется возможность электри-
ческого разряда через контакты
штепсельной вилки.
Гарантийный сертификат
или технический паспорт на
изделие необходимо хранить
вместе с настоящей инструкцией
в течение всего срока его службы.
В них содержатся важные
технические сведения.
Использование и
техобслуживание
Инструкция по работе с
сенсорным управлением
ЭЛЕМЕНТЫ УПРАВЛЕНИЯ
(рис. 2)
Сенсорная кнопка On/Off (вкл/выкл).
Указатель конфорок.
Идикаторы мощности и(или)
остаточного нагрева*.
Сенсорные кнопки выбора режима.
Десятичная запятая для часов*.
Сенсорная кнопка часов.
Индикатор часов.
Сенсорная кнопка блокировки
всех сенсорных кнопок.
Десятичная
запятая
для
индикаторов мощности и(или)
остаточного нагрева*.
Индикатор «кнопки заблокированы»*.
Сенсорная кнопка «Минус»
уменьшения мощности/ времени.
зе
лено-же
лтый
синий
коричневый
серый
черный
зе
лено-же
лтый
синий
коричневый
серый
черный
зе
лено-же
лтый
синий
коричневый
серый
черный
зе
лено-же
лтый
синий
коричневый
серый
черный
зе
лено-же
лтый
синий
коричневый
серый
черный
НЕ
ИСПО
ЛЬ
ЗОВ
АТЬ
L3
рис. 1
2
3
4
6
7
8
9
10
5
1
11













