Варочная панель Smeg SI1F7635B - инструкция пользователя по применению, эксплуатации и установке на русском языке. Мы надеемся, она поможет вам решить возникшие у вас вопросы при эксплуатации техники.
Если остались вопросы, задайте их в комментариях после инструкции.
"Загружаем инструкцию", означает, что нужно подождать пока файл загрузится и можно будет его читать онлайн. Некоторые инструкции очень большие и время их появления зависит от вашей скорости интернета.

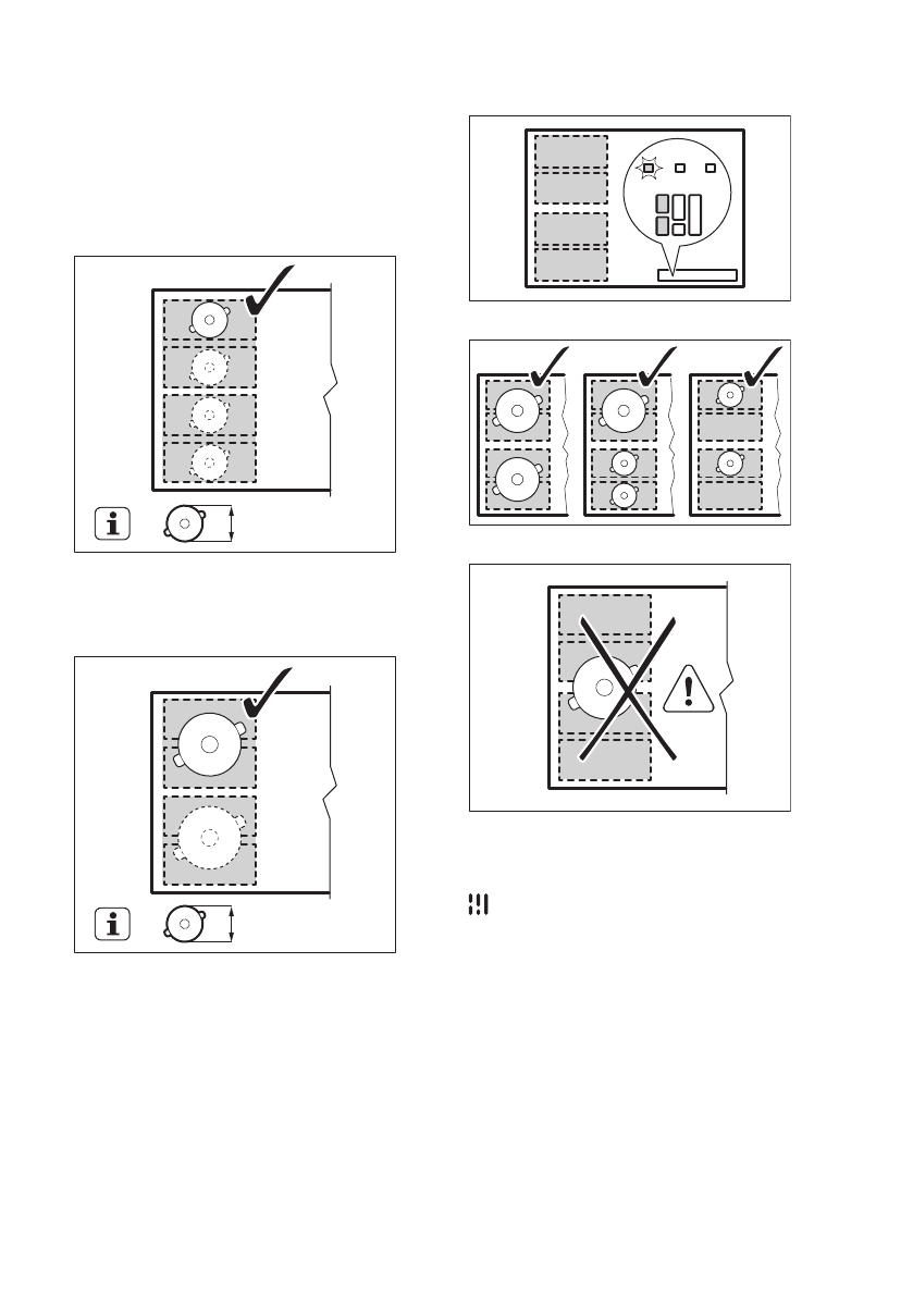
Кухонная посуда должна как можно
полнее накрывать выбранную зону
нагрева. Помещайте кухонную посуду в
центр выбранной зоны!
Если диаметр дна кухонной посуды
составляет менее 160 мм, размещайте
ее на центр одиночной секции.
100-160mm
Если диаметр дна кухонной посуды
составляет более 160 мм, размещайте
ее на посередине между двумя
секциями.
> 160 mm
Flexi4Zone standard mode
Данный режим включается
автоматически при включении варочной
поверхности. Он объединяет секции
двух отдельных конфорок. Уровень
нагрева можно задать для каждой
конфорки отдельно. Используйте две
линейки управления с левой стороны.
Правильное размещение посуды:
Неправильное размещение посуды:
Flexi4Zone big mode
Для включения режима нажимайте на
до тех пор, пока не увидите
индикатор требуемого режима . Данный
режим объединяет три задние секции в
одну конфорку. Одна передняя секция
остается необъединенной и работает
как отдельная конфорка. Уровень
нагрева можно задать для каждой
конфорки отдельно. Используйте две
16