Miele KM7414 FX - Инструкция по эксплуатации - Страница 83

Варочная панель Miele KM7414 FX - инструкция пользователя по применению, эксплуатации и установке на русском языке. Мы надеемся, она поможет вам решить возникшие у вас вопросы при эксплуатации техники.

Если остались вопросы, задайте их в комментариях после инструкции.

"Загружаем инструкцию", означает, что нужно подождать пока файл загрузится и можно будет его читать онлайн. Некоторые инструкции очень большие и время их появления зависит от вашей скорости интернета.
Страница:
/ 97
Загружаем инструкцию
background image

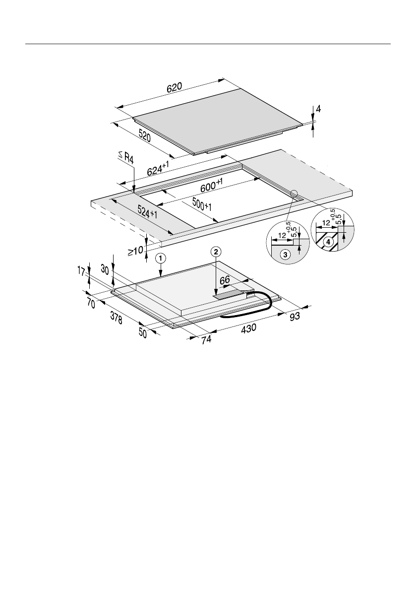
Монтаж

*INSTALLATION*

83

KM 7464 FL, KM 7465 FL

a

передняя сторона

b

Сетевая коробка
с сетевым кабелем, длина = 1440 мм. Сетевой кабель без вилки прилагает-
ся

c

Ступенчатый вырез в столешнице из натурального камня

d

Деревянная планка 12 мм (не входит в комплект поставки)

Полезные видео

Характеристики

Оцените статью
tehnopanorama.ru
Остались вопросы?

Не нашли свой ответ в руководстве или возникли другие проблемы? Задайте свой вопрос в форме ниже с подробным описанием вашей ситуации, чтобы другие люди и специалисты смогли дать на него ответ. Если вы знаете как решить проблему другого человека, пожалуйста, подскажите ему :)

Задать вопрос

Часто задаваемые вопросы
Как посмотреть инструкцию к Miele KM7414 FX?
Необходимо подождать полной загрузки инструкции в сером окне на данной странице
Руководство на русском языке?
Все наши руководства представлены на русском языке или схематично, поэтому вы без труда сможете разобраться с вашей моделью
Как скопировать текст из PDF?
Чтобы скопировать текст со страницы инструкции воспользуйтесь вкладкой "HTML"