Варочная панель Miele KM6564 FL - инструкция пользователя по применению, эксплуатации и установке на русском языке. Мы надеемся, она поможет вам решить возникшие у вас вопросы при эксплуатации техники.
Если остались вопросы, задайте их в комментариях после инструкции.
"Загружаем инструкцию", означает, что нужно подождать пока файл загрузится и можно будет его читать онлайн. Некоторые инструкции очень большие и время их появления зависит от вашей скорости интернета.

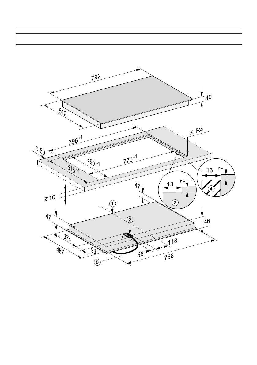
Размеры для встраивания – заподлицо
65
Все размеры указаны в мм.
KM 6564 FL
a
передняя сторона
b
Сетевая коробка с сетевым кабелем
Длина сетевого кабеля = 1.440 мм
c
Ступенчатый вырез в столешнице из натурального камня
d
Деревянная планка 13 мм (не входит в комплект поставки)
e
Подключение адаптера Wi-Fi