Варочная панель Miele KM6329 - инструкция пользователя по применению, эксплуатации и установке на русском языке. Мы надеемся, она поможет вам решить возникшие у вас вопросы при эксплуатации техники.
Если остались вопросы, задайте их в комментариях после инструкции.
"Загружаем инструкцию", означает, что нужно подождать пока файл загрузится и можно будет его читать онлайн. Некоторые инструкции очень большие и время их появления зависит от вашей скорости интернета.

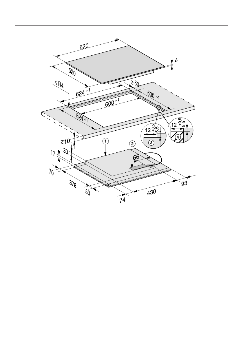
Размеры для встраивания – заподлицо
63
a
спереди
b
Высота встраивания сетевой коробки с сетевым кабелем, длина = 1440
мм.
Сетевой кабель прилагается
c
Ступенчатый вырез в столешнице из натурального камня
d
Деревянная планка 12 мм (не входит в комплект поставки)
Если предполагается встраивание панели конфорок вместе с элементом
SmartLine (CS 7xxx и/или CSDA 7xxx), обратите внимание на размеры выреза
в столешнице, приведённые в инструкции по эксплуатации и указаниях по
монтажу элементов SmartLine.