Варочная панель Miele KM3010 - инструкция пользователя по применению, эксплуатации и установке на русском языке. Мы надеемся, она поможет вам решить возникшие у вас вопросы при эксплуатации техники.
Если остались вопросы, задайте их в комментариях после инструкции.
"Загружаем инструкцию", означает, что нужно подождать пока файл загрузится и можно будет его читать онлайн. Некоторые инструкции очень большие и время их появления зависит от вашей скорости интернета.

Äëÿ ýêñïëóàòàöèè ïðèáîðà ìîæåò
ïðèìåíÿòüñÿ ïðèðîäíûé è ñæèæåí-
íûé ãàç.
Ïàðàìåòðû: ïðèðîäíûé èëè ñæèæåí-
íûé ãàç êëàññà II òèïà G 20 (äàâëå-
íèå 2,0 êÏà) èëè G 30 (äàâëåíèå
2,9 êÏà) (ÃÎÑÒ Ð 50696-2006)
 çàâèñèìîñòè îò íàöèîíàëüíîãî âà-
ðèàíòà èñïîëíåíèÿ ïðèáîð ìîæåò
áûòü ðàññ÷èòàí íà ýêñïëóàòàöèþ ñ
èñïîëüçîâàíèåì ïðèðîäíîãî èëè
ñæèæåííîãî ãàçà (ñì. íàêëåéêó íà
ïðèáîðå).
 ñåðèéíîì èñïîëíåíèè ïðèáîðû, ïî-
ñòàâëÿåìûå â Ðîññèþ, ïðåäíàçíà÷å-
íû äëÿ ýêñïëóàòàöèè íà ïðèðîäíîì
ãàçå. Äëÿ ïåðåõîäà íà äðóãîé âèä
ãàçà íåîáõîäèì ñîîòâåòñòâóþùèé íà-
áîð ôîðñóíîê.
Åñëè íåîáõîäèìûé â Âàøåì ñëó÷àå
ìîíòàæà íàáîð ôîðñóíîê íå ïðèëî-
æåí, îáðàòèòåñü äëÿ åãî çàêàçà â
ôèðìåííûé èëè àâòîðèçîâàííûé ñåð-
âèñíûé öåíòð ôèðìû Miele.
Ïåðåõîä íà èñïîëüçîâàíèå äðóãîãî
âèäà ãàçà îïèñàí â îäíîèìåííîé ãëà-
âå.
Ïðèñîåäèíåíèå ñ ðåçüáîâîé ìóô-
òîé
Ïðèáîð îñíàùåí êîíè÷åñêîé ðåçüáîé
1/2 " äëÿ ïîäêëþ÷åíèÿ ê
ãàçîñíàáæåíèþ. Åñòü 2 ñïîñîáà ïîä-
êëþ÷åíèÿ:
–
ñòàöèîíàðíîå ïîäêëþ÷åíèå
–
ãèáêîå ïîäêëþ÷åíèå.
Ãèáêèé êàáåëü ïîäêëþ÷åíèÿ íå
äîëæåí ïðåâûøàòü ïî äëèíå
2 ìåòðà.
Äëÿ ãåðìåòè÷íîñòè ñîåäèíåíèé èñ-
ïîëüçóéòå ñîîòâåòñòâóþùèå óïëîò-
íèòåëè.
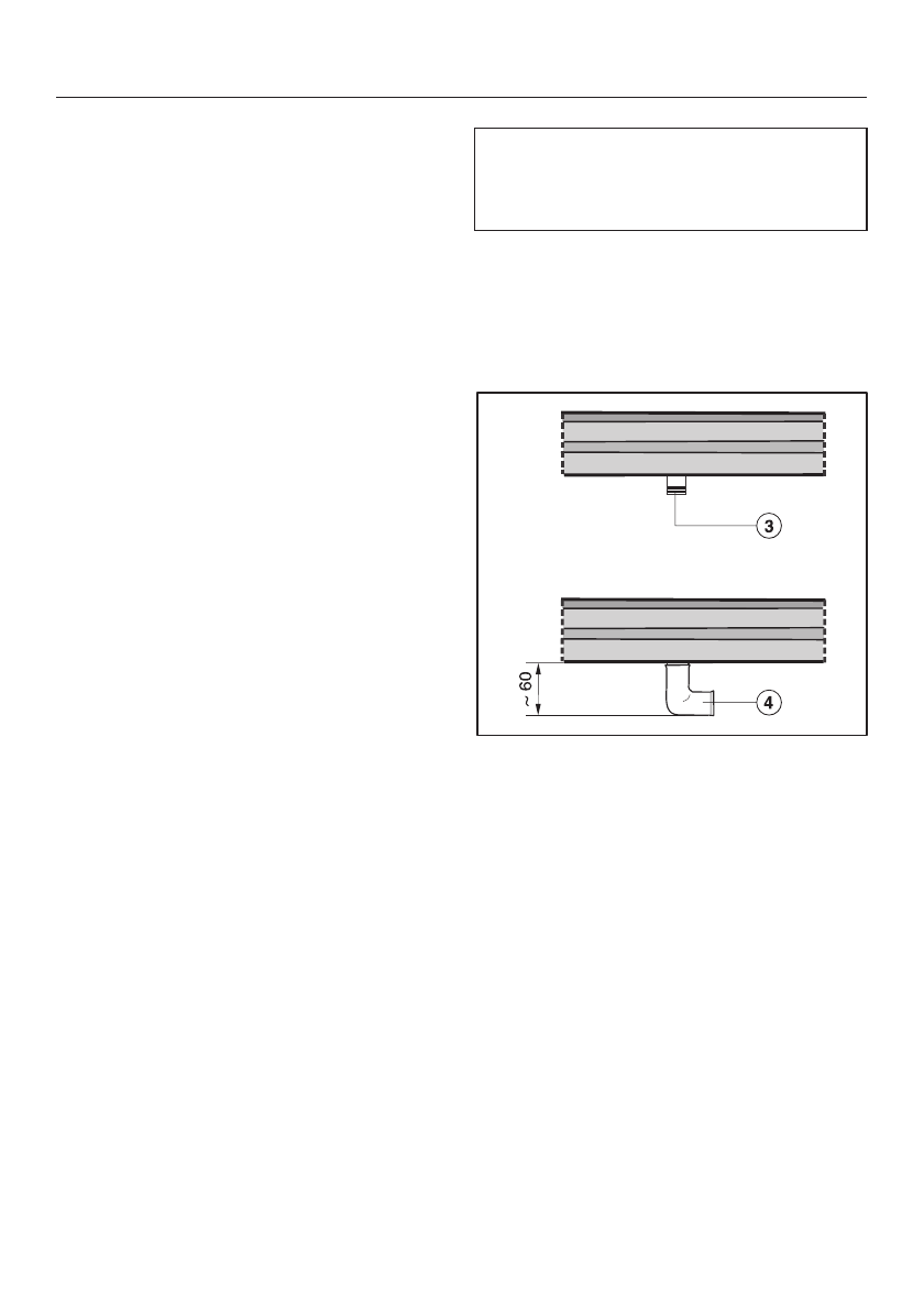
Èñïîëüçîâàíèå îòâîäà íà 90°
c
Ìåñòî ïîäêëþ÷åíèÿ ãàçà, ðåçüáà R
1/2 - ISO 7-1
(DIN EN 10226)
d
Îòâîä 90°
Ïðè èñïîëüçîâàíèè îòâîäà íà 90°
âûñîòà âñòðàèâàíèÿ íà óðîâíå øëàí-
ãà ïîäêëþ÷åíèÿ ãàçà óâåëè÷èâàåòñÿ
ïðèì. íà 60 ìì.
Ïîäêëþ÷åíèå ãàçà
45