Варочная панель Miele KM 6629 - инструкция пользователя по применению, эксплуатации и установке на русском языке. Мы надеемся, она поможет вам решить возникшие у вас вопросы при эксплуатации техники.
Если остались вопросы, задайте их в комментариях после инструкции.
"Загружаем инструкцию", означает, что нужно подождать пока файл загрузится и можно будет его читать онлайн. Некоторые инструкции очень большие и время их появления зависит от вашей скорости интернета.
Загружаем инструкцию

Панели конфорок с рамкой / скошенным краем
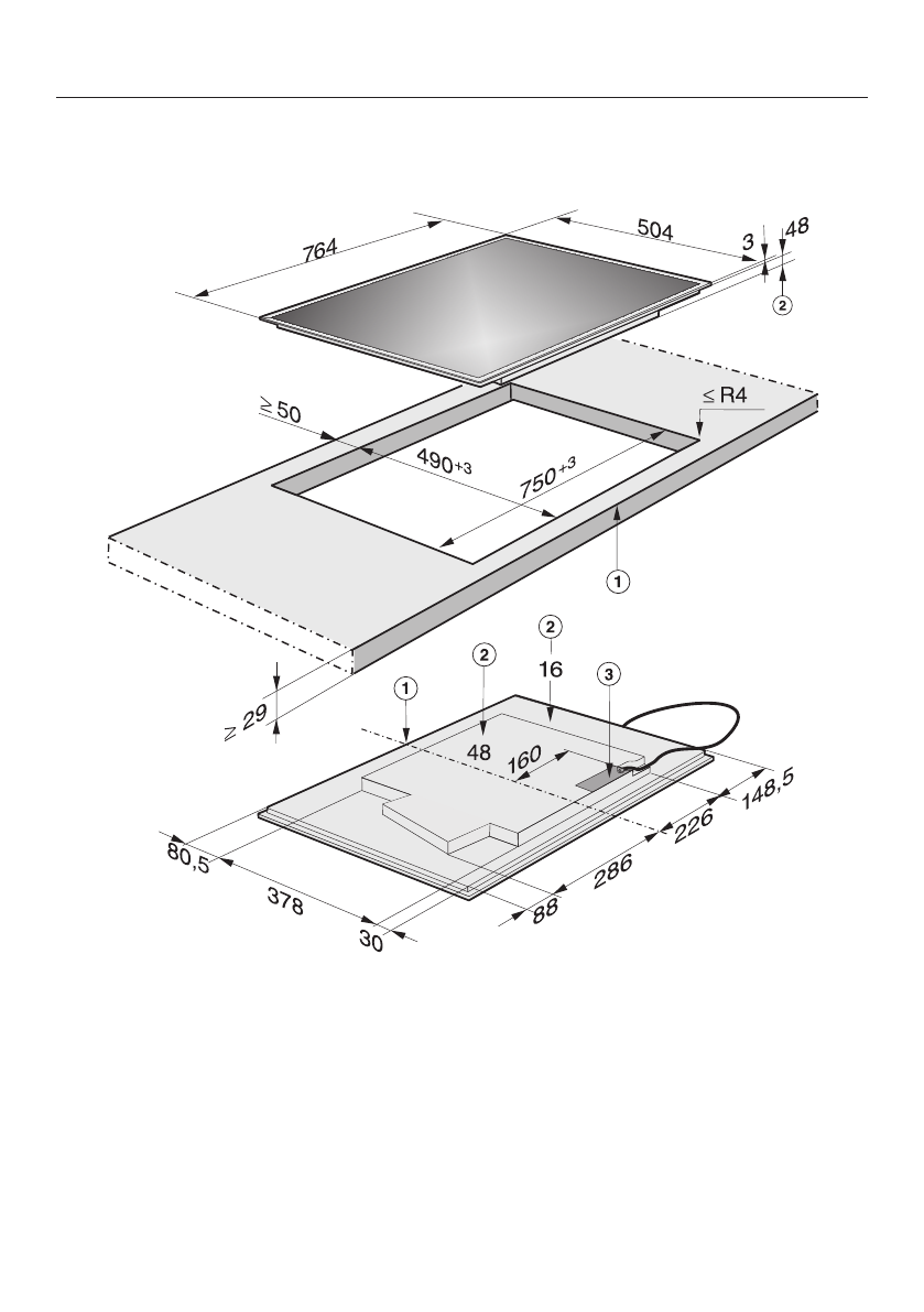
68
Размеры для встраивания
KM 6629
a
передняя сторона
b
Высота встраивания
c
Коробка выводов сетевого кабеля
Кабель подключения к сети (длина 1440 мм) прилагается.
Содержание
- 2 Содержание
- 4 Гарантия качества товара
- 5 Указания по безопасности и предупреждения
- 6 Надлежащее использование; Эта панель конфорок предназначена для использования в бы-
- 7 Если у Вас есть дети
- 8 Пользуйтесь блокировкой запуска, чтобы дети не могли вклю-
- 9 Техническая безопасность
- 11 Опасность удара током!
- 12 Правильная эксплуатация
- 13 При включенном приборе, ошибочном включении прибора
- 15 Металлические предметы, хранящиеся в выдвижном ящике
- 16 Чистка и уход; Пар из пароструйного очистителя может попасть на детали,
- 17 Ваш вклад в охрану окружающей среды; Утилизация прибора
- 18 Обзор; Варочная панель; cd
- 20 bc
- 21 Элементы управления/индикаторы; Сенсорные кнопки
- 22 Таймер
- 23 Технические данные конфорок; Конфорка
- 26 Первый ввод в эксплуатацию
- 27 Индукция; Принцип действия; – конфорка включена без посуды
- 28 Шумы
- 29 Кухонная посуда; Подходит
- 30 Советы по экономии электроэнергии; – По возможности готовьте только в
- 32 Управление прибором; Принцип управления; при включении прибора
- 33 Опасность возгорания!; Включение панели конфорок; Коснитесь сенсорной кнопки; Установка уровня мощности; ветствующей шкале управления.
- 34 TempControl; Указания по использованию
- 35 Активизация функции TempControl
- 37 Зона конфорок PowerFlex
- 38 Автоматика закипания; Включение
- 39 Функция Booster
- 40 Включение TwinBooster, уровень 1
- 41 Сохранение тепла / подогрев
- 42 Настройка таймера
- 43 Изменение времени выключения
- 44 Дополнительные функции; Включение / выключение; Восстановление параметров; Включите панель конфорок снова.
- 45 Временная блокировка
- 46 Функции безопасности
- 47 Защитное отключение; При перекрытии сенсорных клавиш
- 48 Защита от перегрева; Индукционные катушки
- 49 Программирование; выключенной панели; Установка программы
- 55 Пятна
- 60 Дополнительно приобретаемые принадлежности; Посуда для варки / жарения; Салфетка из микрофибры
- 61 Con
- 63 Безопасные расстояния
- 64 или
- 65 духового шкафа; Промежуточное дно
- 66 Безопасное расстояние до обшивки ниши; шенным краем
- 67 Панели конфорок с рамкой / скошенным краем; Указания по монтажу; Столешница, покрытая плиткой
- 68 Размеры для встраивания; передняя сторона
- 71 Встраивание; Подготовка столешницы
- 72 Панели конфорок с установкой заподлицо
- 77 Электроподключение; Опасность получения травм!; Подключение
- 78 Отключение электропитания; Сетевой кабель; Риск получения травм в ре-
- 79 Схема подключения; a b c d e
- 80 Сервисная служба; Типовая табличка; Гарантийный срок составляет 2 года.
- 81 Сертификат соответствия; – При температуре от –25 °C до +55 °C, а также кратковременно, не более 24; Дата изготовления
- 84 Контактная информация о Miele
- 87 Факс
Характеристики
Остались вопросы?Не нашли свой ответ в руководстве или возникли другие проблемы? Задайте свой вопрос в форме ниже с подробным описанием вашей ситуации, чтобы другие люди и специалисты смогли дать на него ответ. Если вы знаете как решить проблему другого человека, пожалуйста, подскажите ему :)
Часто задаваемые вопросы
Как посмотреть инструкцию к Miele KM 6629?
Необходимо подождать полной загрузки инструкции в сером окне на данной странице
Руководство на русском языке?
Все наши руководства представлены на русском языке или схематично, поэтому вы без труда сможете разобраться с вашей моделью
Как скопировать текст из PDF?
Чтобы скопировать текст со страницы инструкции воспользуйтесь вкладкой "HTML"













