Варочная панель Miele KM 6317 - инструкция пользователя по применению, эксплуатации и установке на русском языке. Мы надеемся, она поможет вам решить возникшие у вас вопросы при эксплуатации техники.
Если остались вопросы, задайте их в комментариях после инструкции.
"Загружаем инструкцию", означает, что нужно подождать пока файл загрузится и можно будет его читать онлайн. Некоторые инструкции очень большие и время их появления зависит от вашей скорости интернета.

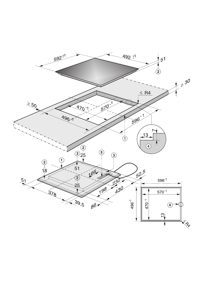
Ðàçìåðû ïðèáîðà è íèøè
äëÿ âñòðàèâàíèÿ
KM 6312
a
ñïåðåäè
b
Âûñîòà âñòðàèâàíèÿ
c
Ïîäêëþ÷åíèå Miele
|
home
d
Ñòóïåí÷àòàÿ ôðåçåðîâêà äëÿ ñòî-
ëåøíèö èç íàòóðàëüíîãî êàìíÿ
e
Áëîê ïîäêëþ÷åíèÿ ê ñåòè
Êàáåëü ïîäêëþ÷åíèÿ ê ñåòè (Ä =
1440 ìì) ïðèëàãàåòñÿ.
Îáÿçàòåëüíî ó÷èòûâàéòå
äåòàëüíûå ÷åðòåæè ìåñòà âûðåçà
äëÿ ñòîëåøíèö èç íàòóðàëüíîãî
êàìíÿ.
Ïàíåëè êîíôîðîê â îäíîé ïëîñêîñòè ñî
79
Характеристики
Остались вопросы?Не нашли свой ответ в руководстве или возникли другие проблемы? Задайте свой вопрос в форме ниже с подробным описанием вашей ситуации, чтобы другие люди и специалисты смогли дать на него ответ. Если вы знаете как решить проблему другого человека, пожалуйста, подскажите ему :)