Варочная панель Miele KM 6013 - инструкция пользователя по применению, эксплуатации и установке на русском языке. Мы надеемся, она поможет вам решить возникшие у вас вопросы при эксплуатации техники.
Если остались вопросы, задайте их в комментариях после инструкции.
"Загружаем инструкцию", означает, что нужно подождать пока файл загрузится и можно будет его читать онлайн. Некоторые инструкции очень большие и время их появления зависит от вашей скорости интернета.

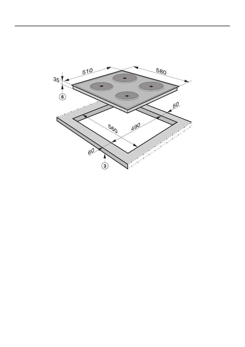
Варочная панель
Размеры для встраивания KM 200
c
Передняя сторона
f
Высота встраивания
Подготовка столешницы
^
Изготовьте вырез в столешнице со-
гласно чертежу.
Обратите внимание на соблюдение
минимального расстояния в 50 мм
до задней стены, а также справа
или слева до боковой стены (см.
главу "Указания по безопасности
при встраивании").
^
Торцевые поверхности в вырезе
столешницы из дерева должны
быть обработаны специальным ла-
ком, силиконовым каучуком или
смолой для того, чтобы избежать
разбухания материала от влажнос-
ти. Все используемые материалы
должны быть устойчивыми к воз-
действию температуры.
Встраивание
43
Характеристики
Остались вопросы?Не нашли свой ответ в руководстве или возникли другие проблемы? Задайте свой вопрос в форме ниже с подробным описанием вашей ситуации, чтобы другие люди и специалисты смогли дать на него ответ. Если вы знаете как решить проблему другого человека, пожалуйста, подскажите ему :)