Варочная панель Miele CS7102 FL - инструкция пользователя по применению, эксплуатации и установке на русском языке. Мы надеемся, она поможет вам решить возникшие у вас вопросы при эксплуатации техники.
Если остались вопросы, задайте их в комментариях после инструкции.
"Загружаем инструкцию", означает, что нужно подождать пока файл загрузится и можно будет его читать онлайн. Некоторые инструкции очень большие и время их появления зависит от вашей скорости интернета.

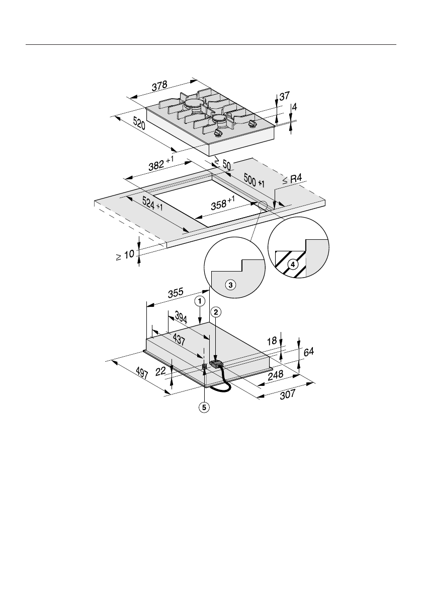
Размеры для встраивания
41
Монтаж заподлицо
a
спереди
b
Коробка выводов с сетевым кабелем, длиной L = 2000 мм
c
Ступенчатая фрезеровка (детальные чертежи см. главу «Вырез в столеш-
нице, монтаж заподлицо»)
d
Деревянная планка 12 мм (не входит в комплект поставки, детальные чер-
тежи см. главу «Вырез в столешнице, монтаж заподлицо»)
e
Место подключения газа, резьба R
½
ISO 7-1 (DIN EN 10226)
Характеристики
Остались вопросы?Не нашли свой ответ в руководстве или возникли другие проблемы? Задайте свой вопрос в форме ниже с подробным описанием вашей ситуации, чтобы другие люди и специалисты смогли дать на него ответ. Если вы знаете как решить проблему другого человека, пожалуйста, подскажите ему :)