Варочная панель Miele CS 1011 G - инструкция пользователя по применению, эксплуатации и установке на русском языке. Мы надеемся, она поможет вам решить возникшие у вас вопросы при эксплуатации техники.
Если остались вопросы, задайте их в комментариях после инструкции.
"Загружаем инструкцию", означает, что нужно подождать пока файл загрузится и можно будет его читать онлайн. Некоторые инструкции очень большие и время их появления зависит от вашей скорости интернета.

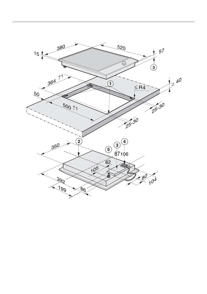
Размеры для встраивания
42
CS 1021
a
Зажимы
b
передняя сторона
c
Высота встраивания
d
Высота встраивания коробки выводов с сетевым кабелем длиной 2000 мм
e
Высота встраивания в месте подключения газа, резьба R 1/2 - ISO 7-1 (DIN
EN 10226)
Содержание
- 3 Содержание
- 5 Указания по безопасности и предупреждения
- 6 Надлежащее использование; Эта панель Wok предназначена для использования в домаш-
- 7 Если у Вас есть дети
- 8 Техническая безопасность
- 10 Опасность удара током!
- 11 Правильная эксплуатация
- 14 Интенсивное, длительное использование панели Wok может
- 15 Чистка и уход; Пар из пароструйного очистителя может попасть на детали,
- 16 Ваш вклад в охрану окружающей среды; Утилизация прибора
- 19 Элементы индикации; Индикатор работы; Поворотный переключатель
- 20 Горелка
- 21 Кольцо Wok
- 22 Ввод в эксплуатацию
- 23 Кухонная посуда
- 25 Советы по экономии электроэнергии; – По возможности готовьте пищу
- 26 Управление прибором; Система быстрого поджига; – быстрый поджиг без нажатия и; Включение; Опасность возгорания!
- 27 Регулировка пламени; Опасность получения ожогов!
- 28 Функции безопасности; ва будет готова к эксплуатации.; Защитное отключение
- 30 В зоне
- 31 Для предотвращения быстро-; Решетка
- 32 Сборка горелки
- 35 Дополнительно приобретаемые принадлежности; Салфетка из микрофибры
- 36 Все размеры указаны в мм.
- 37 Безопасные расстояния
- 38 или
- 39 Безопасное расстояние до обшивки ниши; горючих
- 40 Указания по монтажу; Стыки
- 41 Размеры для встраивания; Зажимы
- 43 Встраивание нескольких модульных панелей Combi
- 44 Расчёт выреза в столешнице
- 45 Встраивание; Подготовка столешницы; Столешница из дерева
- 47 Вставьте декоративную планку
- 48 Проверка функционирования; – При слабом горении пламя не
- 49 Электроподключение; Опасность получения травм!
- 50 Общая мощность; Риск получения травм в ре-
- 51 Замена сетевого кабеля
- 52 Подключение газа; Подключение газа, а также
- 53 – стационарное подключение; Использование отвода на 90°
- 55 Переход на другой вид газа; Таблица форсунок; Замена форсунок
- 56 ки
- 58 Проверка тяги
- 59 Снова соберите панель конфорок.
- 60 Сервисная служба, типовая табличка, гарантия; Сервисная служба; Гарантийный срок составляет 2 года.
- 61 Сертификат соответствия; – При температуре от –25 °C до +55 °C, а также кратковременно, не более 24; Дата изготовления
- 62 Гарантия качества товара
- 64 Контактная информация о Miele
- 67 Факс
Характеристики
Остались вопросы?Не нашли свой ответ в руководстве или возникли другие проблемы? Задайте свой вопрос в форме ниже с подробным описанием вашей ситуации, чтобы другие люди и специалисты смогли дать на него ответ. Если вы знаете как решить проблему другого человека, пожалуйста, подскажите ему :)