Варочная панель Maunfeld EVI.594-FL2-BG - инструкция пользователя по применению, эксплуатации и установке на русском языке. Мы надеемся, она поможет вам решить возникшие у вас вопросы при эксплуатации техники.
Если остались вопросы, задайте их в комментариях после инструкции.
"Загружаем инструкцию", означает, что нужно подождать пока файл загрузится и можно будет его читать онлайн. Некоторые инструкции очень большие и время их появления зависит от вашей скорости интернета.

10
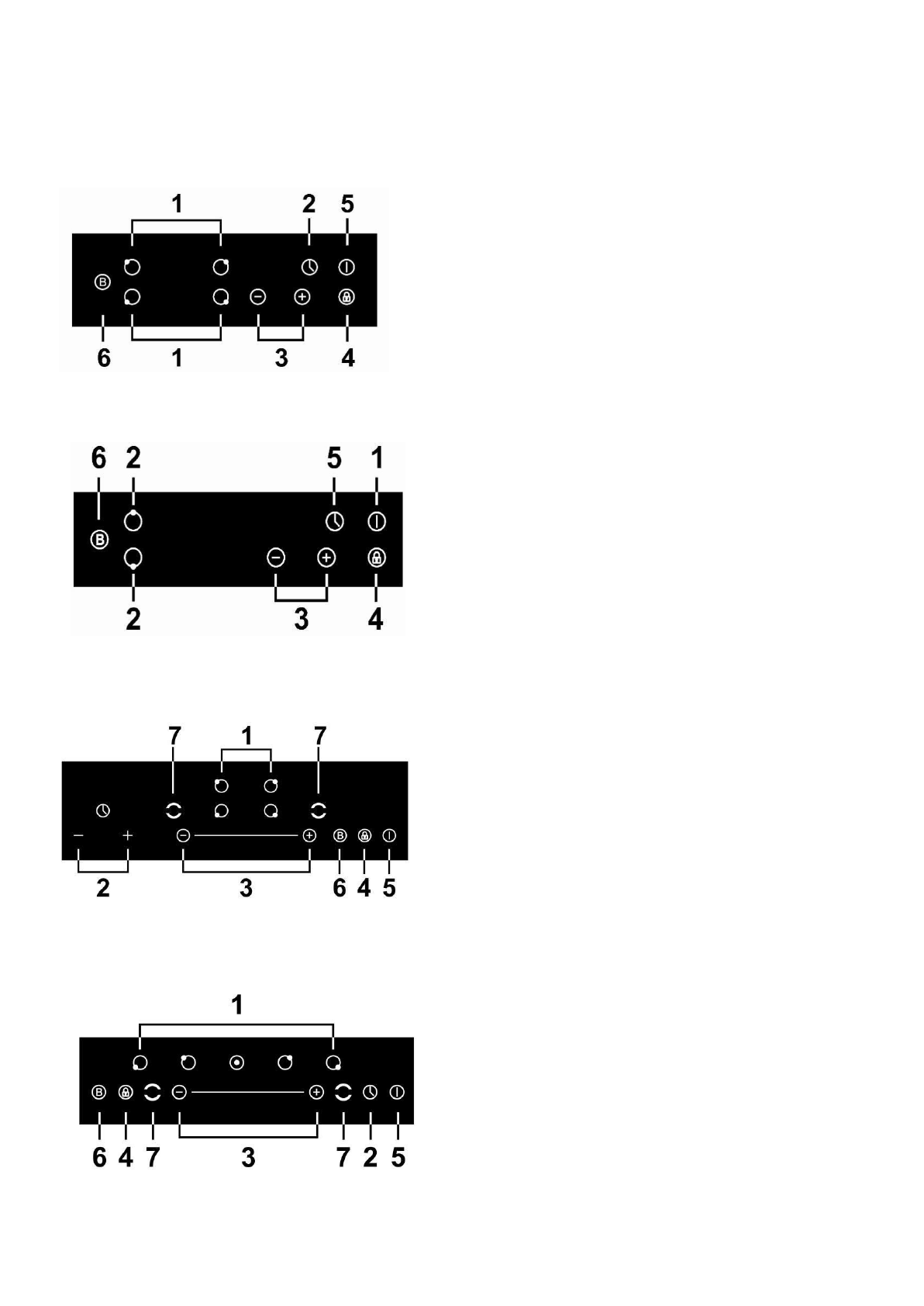
Панель управления
(1)EVI.594-BK/WH
(2)EVI.292-BK/WH
(3)EVI.594.FL2-BK
(4)EVI.775.FL2-BK
1. Выбор варочной зоны
2. Таймер
3. Регулировка мощности или настройка таймера
4. Блокировка
5. Вкл./Выкл.
6. Функция контроля бустера (разгонного блока)
1. Выбор варочной зоны
2. Таймер
3. Регулировка мощности или настройка
таймера
4. Блокировка
5. Вкл./Выкл.
6.Функция контроля бустера (разгонного
блок
1. Выбор варочной зоны
2. Регулировка таймера
3. Регулировка мощности
4. Блокировка
5. Вкл./Выкл.
6. Функция контроля бустера
(разгонного блока)
7. Выбор Flex Zone («моста»)
1. Выбор варочной зоны
2. Установка таймера
3. Регулировка мощности/ таймера
4. Блокировка
5. Вкл./Выкл.
6. Функция контроля бустера
(разгонного блока)
7. Выбор Flex Zone («моста»)
Содержание
- 3 Благодарим Вас за выбор данного прибора.
- 4 Раздел 2. Возможные опасности; Установка; Опасность поражения электрическим током
- 5 Опасность порезов; • Никогда не оставляйте на приборе какие-либо предметы или посуду.
- 8 Раздел 3. Описание прибора; Вид сверху; - Варочная Зона каждого «моста»
- 9 Flex zone (объединение двух варочных
- 10 Панель управления; Регулировка мощности или настройка
- 11 Выбор подходящей посуды для индукционной варочной панели
- 13 • Если вы не выберете варочную зону в течение 1 минуты,
- 14 • Зона нагрева будет работать в течение 5 минут
- 15 согласно пожеланиям по приготовлению пищи
- 17 Вы можете использовать две зоны с бустером одновременно.; (есть зона совместимости c посудой; Нет ограничения по мощности в группе A.; Выключение; Выключите варочную зону, когда закончите
- 19 на дисплее таймера будет отображаться установленное время.; Установка времени работы одной варочной зоны; Нажмите кнопку выбора варочной зоны, для которой
- 21 Рекомендации по приготовлению; Советы по приготовлению; • По достижении точки кипения уменьшите уровень мощности.; Тушение, приготовление риса; Для приготовления сочного стейка с насыщенным вкусом:
- 22 мощности, положите мясо обратно на сковороду и добавьте соус.; Уровни мощности; Уровень
- 23 Уход и чистка
- 25 Советы по устранению неполадок; Проблема
- 26 Технические характеристики
- 27 Модель
- 29 D) Основание индукционной панели; Подключение варочной панели к электрической сети; Для варочных поверхностей 2х зон
- 30 Раздел 6. Указания по безопасности; и жидкостей. Не использовать для любых других целей.; Важная информация для пациентов с электрокардиостимуляторами!
- 31 Раздел 7. Техническое обслуживание; Очистка поверхности варочной панели
- 32 Пожалуйста, обратитесь к поставщику
- 33 Гарантийная карта; СЕРИЯ: ...................................................