Варочная панель Maunfeld EGHS.75.33CS/G (ХХ/Х) - инструкция пользователя по применению, эксплуатации и установке на русском языке. Мы надеемся, она поможет вам решить возникшие у вас вопросы при эксплуатации техники.
Если остались вопросы, задайте их в комментариях после инструкции.
"Загружаем инструкцию", означает, что нужно подождать пока файл загрузится и можно будет его читать онлайн. Некоторые инструкции очень большие и время их появления зависит от вашей скорости интернета.

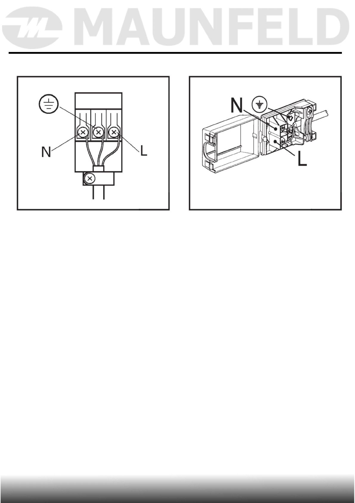
ПОДКЛЮЧЕНИЕ К ЭЛЕКТРОСЕТИ
www.maunfeld.ru
•
Перед подключением прибора к электросети убедитесь в том, что
все электрические цепи прибора разомкнуты.
•
Для прибора необходим однофазный переменный ток 220-240 В-
50/60 Гц, передаваемый по гибкому кабелю. Убедитесь, что
бытовые силовые розетки поддерживают требуемую
электрическую нагрузку.
•
Электробезопасность прибора обеспечивается только в случае
правильного подключения к системе, имеющей надежное
заземление в соответствии с действующими законодательными
стандартами.
•
При постоянном подключении к электросети применяйте
двухполюсный выключатель, рассчитанный на соответствующую
нагрузку с отверстием минимум 3 мм для каждого контакта, в
соответствии с действующими законодательными нормативами.
•
В некоторых моделях гибкий кабель поставляется без вилки.
Используемая вилка должна соответствовать электрической
нагрузке изделия и действующим нормативным положениям.
-26-
Содержание
- 2 БЛАГОДАРИМ ВАС
- 3 СОДЕРЖАНИЕ
- 4 МЕРЫ БЕЗОПАСНОСТИ
- 7 ТЕХНИЧЕСКИЕ ДАННЫЕ
- 9 РАСШИФРОВКА АББРЕВИАТУРЫ
- 11 ДАННЫЕ ПО ЭНЕРГОПОТРЕБЛЕНИЮ
- 12 ОПИСАНИЕ ПРИБОРА
- 14 ПАНЕЛЬ УПРАВЛЕНИЯ; УПРАВЛЕНИЕ ГАЗОВОЙ ВАРОЧНОЙ ПОВЕРХНОСТЬЮ
- 15 СИСТЕМА «ГАЗ-КОНТРОЛЬ»
- 16 УПРАВЛЕНИЕ ГАЗОВОЙ ПОВЕРХНОСТЬЮ
- 17 ВЫБОР КОНФОРОК И ПОСУДЫ; ТИП КОНФОРКИ
- 19 ПОДГОТОВКА К УСТАНОВКЕ; МОНТАЖ ВАРОЧНОЙ ПОВЕРХНОСТИ
- 23 ПОДКЛЮЧЕНИЕ К СИСТЕМЕ ГАЗОСНАБЖЕНИЯ
- 24 К МАГИСТРАЛЬНОМУ ГАЗУ
- 25 НАСТРОЙКА ПОД РАЗЛИЧНЫЕ ТИПЫ ГАЗА
- 26 ВЕНТИЛЯЦИЯ ПОМЕЩЕНИЯ
- 27 ПОДКЛЮЧЕНИЕ К ЭЛЕКТРОСЕТИ
- 29 ОЧИСТКА И УХОД; СТЕКЛЯННЫЕ ИЛИ ЭМАЛИРОВАННЫЕ ДЕТАЛИ.
- 31 УСТРАНЕНИЕ НЕИСПРАВНОСТЕЙ
- 32 ТЕХНИЧЕСКОЕ ОБСЛУЖИВАНИЕ; ИНФОРМАЦИЯ О ТРАНСПОРТИРОВКЕ
- 33 СЕРВИСНОЕ ОБСЛУЖИВАНИЕ; СЕРВИСНОЕ ОБСЛУЖИВАНИЕ ПОСЛЕ ПРОДАЖИ
- 34 ИНФОРМАЦИЯ ОТ ПРОИЗВОДИТЕЛЯ; XXXXXXXXXXXX