Варочная панель Maunfeld EGHS.32.3ESD/G (XXX/X) - инструкция пользователя по применению, эксплуатации и установке на русском языке. Мы надеемся, она поможет вам решить возникшие у вас вопросы при эксплуатации техники.
Если остались вопросы, задайте их в комментариях после инструкции.
"Загружаем инструкцию", означает, что нужно подождать пока файл загрузится и можно будет его читать онлайн. Некоторые инструкции очень большие и время их появления зависит от вашей скорости интернета.

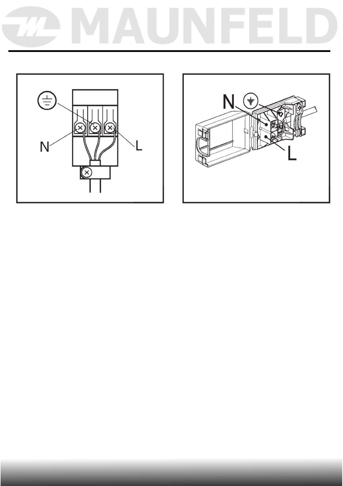
ПОДКЛЮЧЕНИЕ К ЭЛЕКТРОСЕТИ
www.maunfeld.ru
•
Перед подключением прибора к электросети убедитесь в том, что
все электрические цепи прибора разомкнуты.
•
Для прибора необходим однофазный переменный ток 220-240 В-
50/60 Гц, передаваемый по гибкому кабелю. Убедитесь, что
бытовые силовые розетки поддерживают требуемую
электрическую нагрузку.
•
Электробезопасность прибора обеспечивается только в случае
правильного подключения к системе, имеющей надежное
заземление в соответствии с действующими законодательными
стандартами.
•
При постоянном подключении к электросети применяйте
двухполюсный выключатель, рассчитанный на соответствующую
нагрузку с отверстием минимум 3 мм для каждого контакта, в
соответствии с действующими законодательными нормативами.
•
В некоторых моделях гибкий кабель поставляется без вилки.
Используемая вилка должна соответствовать электрической
нагрузке изделия и действующим нормативным положениям.
-27-
Характеристики
Остались вопросы?Не нашли свой ответ в руководстве или возникли другие проблемы? Задайте свой вопрос в форме ниже с подробным описанием вашей ситуации, чтобы другие люди и специалисты смогли дать на него ответ. Если вы знаете как решить проблему другого человека, пожалуйста, подскажите ему :)