Варочная панель Лысьва ПЭВ 40С - инструкция пользователя по применению, эксплуатации и установке на русском языке. Мы надеемся, она поможет вам решить возникшие у вас вопросы при эксплуатации техники.
Если остались вопросы, задайте их в комментариях после инструкции.
"Загружаем инструкцию", означает, что нужно подождать пока файл загрузится и можно будет его читать онлайн. Некоторые инструкции очень большие и время их появления зависит от вашей скорости интернета.

5
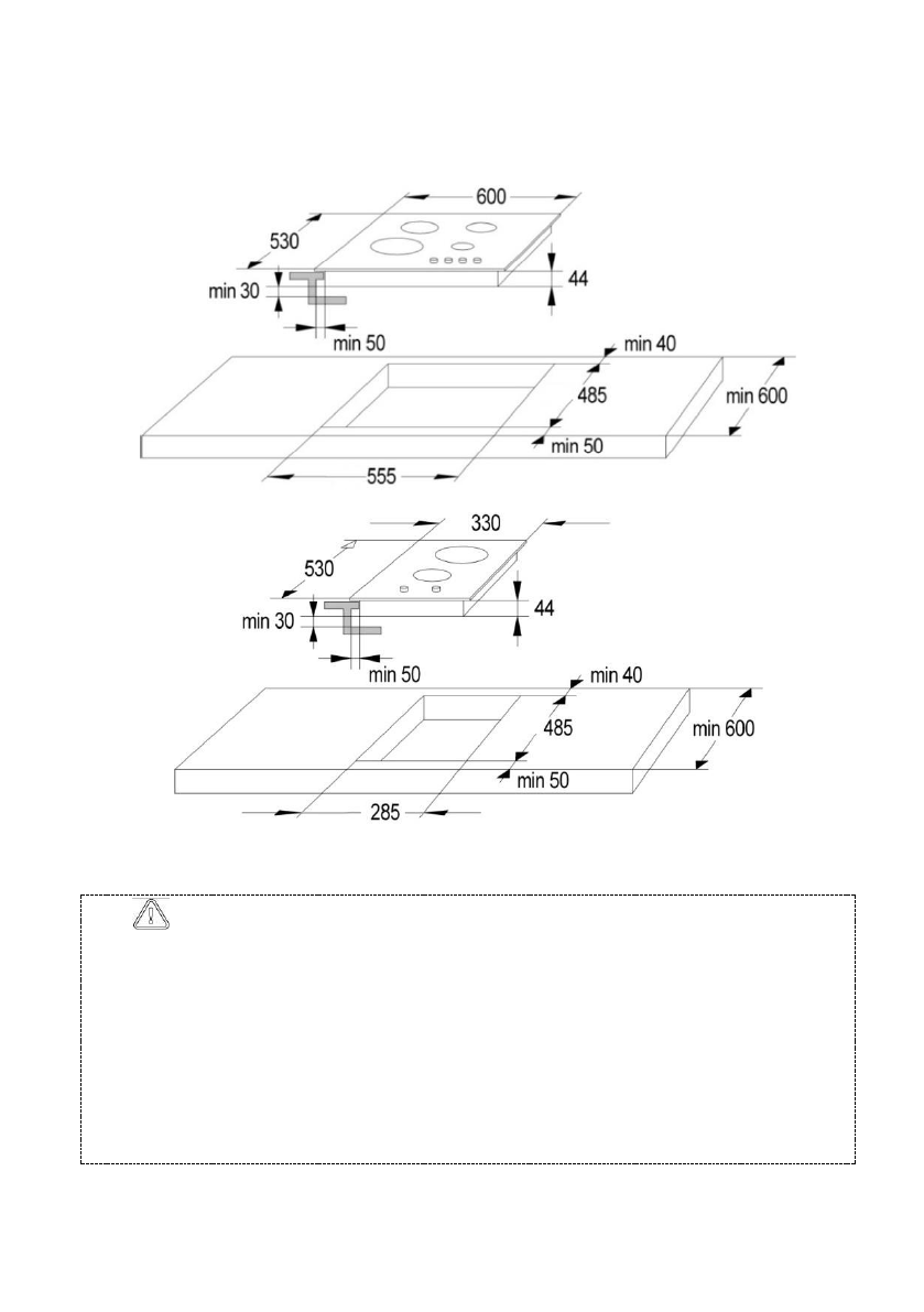
- Отверстие в столешнице выполнить согласно размерам, указанным на Рис. 1 и
- Под нижней частью варочной поверхности следует оставить не менее 30 мм
свободного пространства, во избежание перегрева поверхности мебели.
Рис. 1 Подготовка столешницы к монтажу для моделей с 4-мя зонами нагрева
Рис. 2 Подготовка столешницы к монтажу для моделей с 2-мя зонами нагрева
4) Установка варочной панели производится в соответствии со следующими
требованиями.
Внимание! Во время монтажа варочной панели в столешнице кухонного
шкафа необходимо установить полку – перегородку снизу панели на расстоянии не
менее 30 мм. Если варочная панель устанавливается над духовым шкафом, как
встраиваемая в мебель, то монтаж полки - перегородки необязателен.
- Если варочная панель установлена в столешнице кухонного шкафа над
выдвижным ящиком, следует нижнюю защитную поверхность прибора прикрыть
деревянной панелью.
- Запрещается монтаж варочной панели над духовым шкафом без
вентиляции!
- Соединительный провод рабочей панели необходимо провести так, чтобы он
не прикасался к нижней полке мебели и корпусу прибора.
Содержание
- 2 РУКОВОДСТВО ПО ЭКСПЛУАТАЦИИ; ЭЛЕКТРИЧЕСКАЯ ВАРОЧНАЯ ПАНЕЛЬ; СОДЕРЖАНИЕ
- 3 Внимание! Без заземления прибор не включать! Также прибор не
- 4 УСТАНОВКА И ПОДКЛЮЧЕНИЕ; составлять минимум 50 мм, а сзади – минимум 40 мм.
- 6 для варочных панелей с двумя зонами нагрева и не менее 3х2,5 мм
- 7 ПОДГОТОВКА К РАБОТЕ; ВАРОЧНАЯ ПАНЕЛЬ ГОТОВА К РАБОТЕ.; ОПИСАНИЕ И РАБОТА ВАРОЧНОЙ ПАНЕЛИ; ОПИСАНИЕ И РАБОТА СОСТАВНЫХ ЧАСТЕЙ ПРИБОРА
- 8 Варочная панель с сенсорным управлением; название и краткое описание их работы описано в Табл. 3.; Элементы управления варочной панелью
- 9 Рис. 6 Устройство варочной панели с сенсорным управлением; нажатие сопровождается звуковым сигналом.
- 11 Варочная панель с ручками переключателей
- 12 УХОД ЗА ВАРОЧНОЙ ПАНЕЛЬЮ; Внимание! Содержите варочную панель в чистоте – это продлит срок ее
- 13 ХРАНЕНИЕ И ТРАНСПОРТИРОВАНИЕ; Варочные панели должны храниться в отапливаемых помещениях, при; УТИЛИЗАЦИЯ; Если вы хотите заменить старый прибор, его необходимо сдать в; 0 ПОИСК И УСТРАНЕНИЕ НЕИСПРАВНОСТЕЙ
- 14 1 ГАРАНТИЙНЫЕ ОБЯЗАТЕЛЬСТВА
- 16 3 СВИДЕТЕЛЬСТВО О ПРИЕМКЕ И ПРОДАЖЕ; МЕСТО ДЛЯ ЭТИКЕТКИ