Варочная панель Лысьва ПЭВ 20С - инструкция пользователя по применению, эксплуатации и установке на русском языке. Мы надеемся, она поможет вам решить возникшие у вас вопросы при эксплуатации техники.
Если остались вопросы, задайте их в комментариях после инструкции.
"Загружаем инструкцию", означает, что нужно подождать пока файл загрузится и можно будет его читать онлайн. Некоторые инструкции очень большие и время их появления зависит от вашей скорости интернета.

6
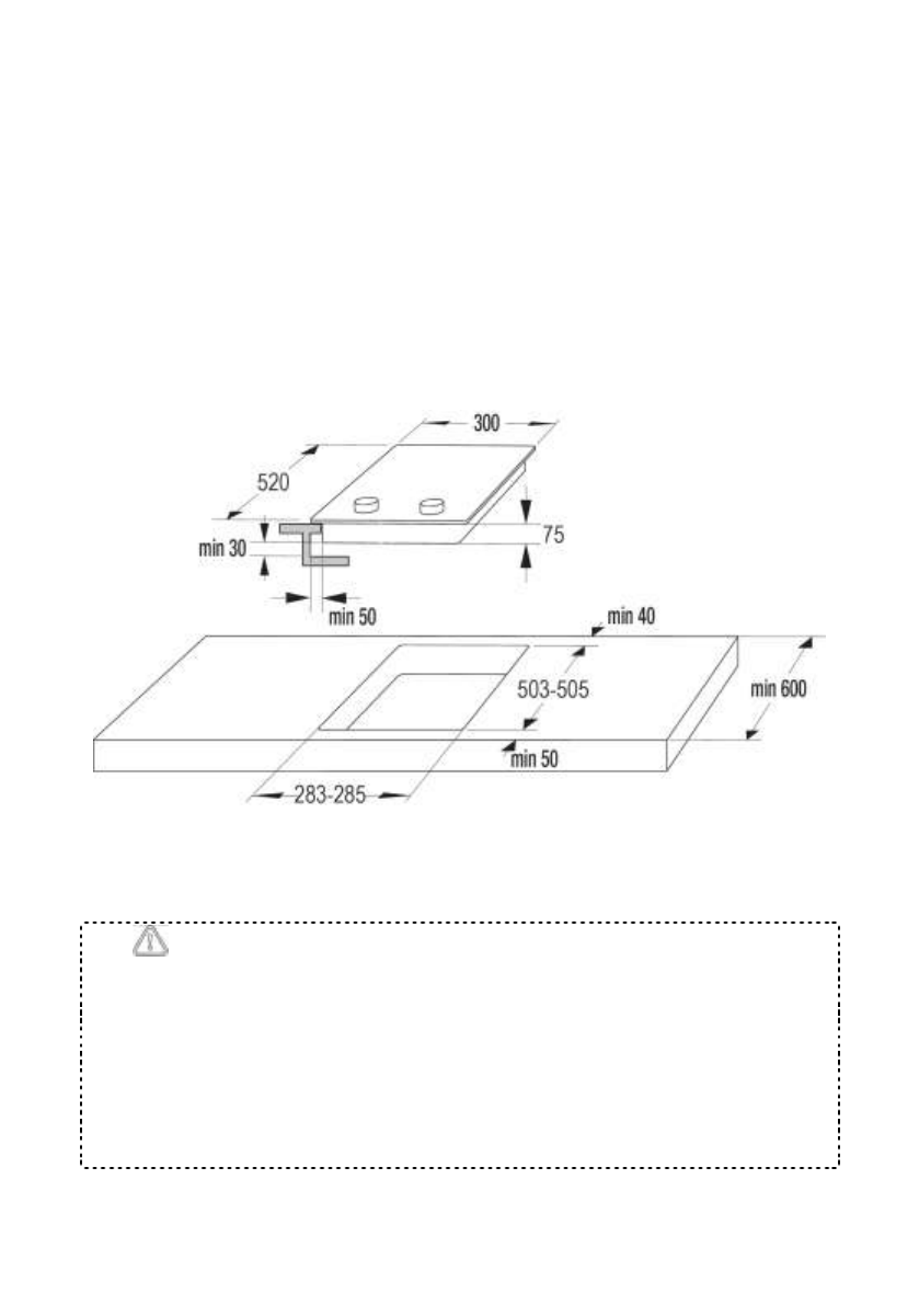
- Расстояние между краем отверстия и краем столешницы спереди должно
составлять минимум 50 мм, а сзади – минимум 40 мм.
- Расстояние между краем отверстия и боковой мебельной стенкой должна
составлять минимум 50 мм.
- Мебель для монтажа должна иметь облицовку, а также клеи для ее
приклеивания, устойчивые для температуры 100 градусов С. Последствием
невыполнения данного требования может быть деформация поверхности либо
отклеивание облицовки.
- Края поверхности должны быть предохранены материалом, устойчивым к
проникновению влаги.
- Отверстие в столешнице выполнить согласно размерам, указанным на Рис. 1.
- Под нижней частью плиты следует оставить не менее 30 мм свободного
пространства, во избежание перегрева поверхности мебели.
Рис. 1. Подготовка столешницы к монтажу.
4) Установка варочной панели производится в соответствии со следующими
требованиями.
Внимание! Во время монтажа плиты в столешнице кухонного шкафа
необходимо установить полку – перегородку снизу панели на расстоянии не менее
30 мм. Если варочная панель устанавливается над духовым шкафом, как
встраиваемая в мебель, то монтаж полки - перегородки необязателен.
- Если плита установлена в столешнице кухонного шкафа над выдвижным
ящиком, следует нижнюю защитную поверхность плиты прикрыть деревянной
панелью, либо защитным экраном для керамических плит.
- Запрещается монтаж плиты над духовым шкафом без вентиляции!
- Соединительный провод рабочей панели необходимо провести так, чтобы
он не прикасался к нижней полке мебели и корпусу прибора.
Содержание
- 2 Уважаемый покупатель!; Благодарим Вас за сделанный выбор. Наша
- 3 РУКОВОДСТВО ПО ЭКСПЛУАТАЦИИ; ЭЛЕКТРИЧЕСКАЯ ВАРОЧНАЯ ПАНЕЛЬ; СОДЕРЖАНИЕ
- 4 Внимание! Без заземления прибор не включать! Также прибор не
- 5 - тянуть за соединительный шнур, чтобы вынуть вилку из розетки; УСТАНОВКА И ПОДКЛЮЧЕНИЕ
- 7 - наклейте уплотнитель (входит в комплект) на тыльную сторону
- 8 устройства, имеющие естественное заземление.; ПОДГОТОВКА К РАБОТЕ; использованием моющего средства. Вытрите насухо.; ОПИСАНИЕ И РАБОТА ВАРОЧНОЙ ПАНЕЛИ; от модели, приведены в
- 9 ОПИСАНИЕ И РАБОТА СОСТАВНЫХ ЧАСТЕЙ ПРИБОРА; различного диаметра (1 – зона нагрева
- 11 УХОД ЗА ВАРОЧНОЙ ПАНЕЛЬЮ
- 12 Не использовать; ХРАНЕНИЕ И ТРАНСПОРТИРОВАНИЕ
- 13 0 ПОИСК И УСТРАНЕНИЕ НЕИСПРАВНОСТЕЙ; Прибор не включается.; 1 ГАРАНТИЙНЫЕ ОБЯЗАТЕЛЬСТВА
- 15 3 СВИДЕТЕЛЬСТВО О ПРИЕМКЕ И ПРОДАЖЕ; МЕСТО ДЛЯ ЭТИКЕТКИ
Характеристики
Остались вопросы?Не нашли свой ответ в руководстве или возникли другие проблемы? Задайте свой вопрос в форме ниже с подробным описанием вашей ситуации, чтобы другие люди и специалисты смогли дать на него ответ. Если вы знаете как решить проблему другого человека, пожалуйста, подскажите ему :)