Варочная панель LG HB6422BRU - инструкция пользователя по применению, эксплуатации и установке на русском языке. Мы надеемся, она поможет вам решить возникшие у вас вопросы при эксплуатации техники.
Если остались вопросы, задайте их в комментариях после инструкции.
"Загружаем инструкцию", означает, что нужно подождать пока файл загрузится и можно будет его читать онлайн. Некоторые инструкции очень большие и время их появления зависит от вашей скорости интернета.

7
3. Подключение к сети электропитания
Убедитесь, что напряжение и нагрузка линии питания соответствуют
данным, указанным на табличке под обшивкой.
Ни в коем случае не
удаляйте эту табличку.
Вилка на конце шнура питания и настенная розетка должны быть
одного типа и соответствовать действующим нормам относительно
электрических систем. Убедитесь, что линия питания заземлена
надлежащим образом.
На линии питания установите омниполярное отключающее
устройство с зазором между отключающими контактами как минимум
3 мм
, которое должно располагаться в легкодоступном месте вблизи
прибора.
Не используйте трансформаторы, адаптеры или шунты.
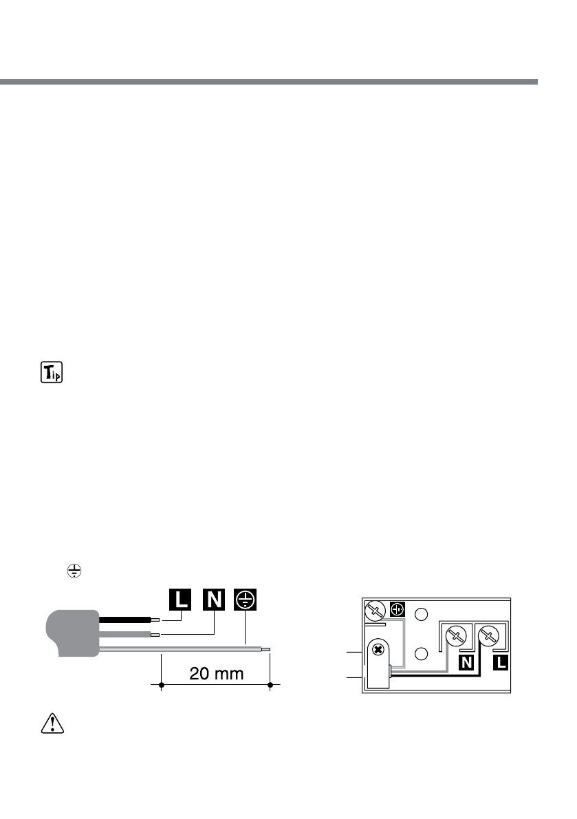
В случае замены шнура питания сечение провода нового кабеля
должно быть как минимум 1,5 мм
2
(кабель 3x1,5). Следует
помнить, что конец, подсоединяемый к плите, должен иметь
провод заземления (желто-зеленый) как минимум на 20 мм
длиннее. Используйте только кабель H05V2V2-F или его аналог,
максимальная температура которого составляет 90 °C. Любая
необходимая замена должна проводиться соответствующим
специалистом, который должен выполнять соединения
электросети согласно следующей диаграмме.
L
= коричневый
N
= синий
= желто-зеленый
Производитель не несет ответственности
за любые травмы или
повреждение имущества, вызванные несоблюдением вышеприведенных
инструкций или вмешательством даже в какую-либо одну часть плиты.












