Варочная панель LEX GVG 431 C IV - инструкция пользователя по применению, эксплуатации и установке на русском языке. Мы надеемся, она поможет вам решить возникшие у вас вопросы при эксплуатации техники.
Если остались вопросы, задайте их в комментариях после инструкции.
"Загружаем инструкцию", означает, что нужно подождать пока файл загрузится и можно будет его читать онлайн. Некоторые инструкции очень большие и время их появления зависит от вашей скорости интернета.

18
Модель LEX GVG 432 BL
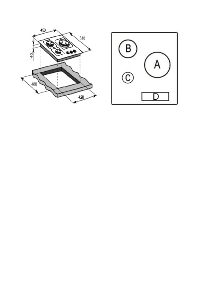
Описание оборудования:
A = одна вок-конфорка на 3,0 кВт
B = две средних конфорки на 1,75 кВт
C = одна вспомогательная конфорка на 1,00 кВт
D = панель управления
•
Расположение панели управления в передней части варочной
поверхности
•
Электроподжиг
•
Эмалированные решетки
Стандартная комплектация:
•
Форсунки для сжиженного нефтяного газа
Характеристики
Остались вопросы?Не нашли свой ответ в руководстве или возникли другие проблемы? Задайте свой вопрос в форме ниже с подробным описанием вашей ситуации, чтобы другие люди и специалисты смогли дать на него ответ. Если вы знаете как решить проблему другого человека, пожалуйста, подскажите ему :)